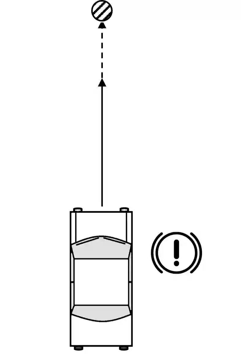
Winter conditions, characterized by the presence of ice and snow on the ground, are more likely to lead to road accidents. This paper presents an experimental proof of concept of a collision avoidance algorithm for vehicles evolving in low adhesion conditions, implemented on a 1/5th scale car platform. In the proposed approach, a model-based estimator first processes the high-dimensional sensors data of the IMU, LIDAR and encoders to estimate physically relevant vehicle and ground conditions parameters such as the inertial velocity of the vehicle $v$, the friction coefficient $\mu$, the cohesion $c$ and the internal shear angle $\phi$. Then, a data-driven predictor is trained to predict the optimal maneuver to perform in the situation characterized by the estimated parameters. Experiments show that it is possible to 1) produce a real-time estimate of the relevant ground parameters, and 2) determine an optimal collision avoidance maneuver based on the estimated parameters.


翻译:以地面存在冰雪为特征的冬季条件更可能导致道路事故,本文实验性地证明在1/5级汽车平台上实施的低粘合条件下演变的车辆避免碰撞算法概念,在拟议办法中,模型估算器首先处理IMU、LIDAR和编码器的高维传感器数据,以估计车辆的惯性速度(v美元)、摩擦系数($mu美元)、凝固值($c$)和内部剪切角($\phi$)等与物理有关的车辆和地面条件参数。然后,对数据驱动预测器进行了培训,以预测在估计参数特点情况下进行的最佳操作。实验表明,有可能(1) 实时估计有关地面参数,(2) 根据估计参数确定最佳避免碰撞的动作。

0
下载
关闭预览

相关内容

强化学习最新教程,17页pdf
专知会员服务
182+阅读 · 2019年10月11日
[综述]深度学习下的场景文本检测与识别
专知会员服务
78+阅读 · 2019年10月10日
机器学习入门的经验与建议
专知会员服务
94+阅读 · 2019年10月10日
【哈佛大学商学院课程Fall 2019】机器学习可解释性
专知会员服务
105+阅读 · 2019年10月9日
【SIGGRAPH2019】TensorFlow 2.0深度学习计算机图形学应用
专知会员服务
41+阅读 · 2019年10月9日
VCIP 2022 Call for Special Session Proposals
CCF多媒体专委会
1+阅读 · 2022年4月1日
ACM MM 2022 Call for Papers
CCF多媒体专委会
5+阅读 · 2022年3月29日
AIART 2022 Call for Papers
CCF多媒体专委会
1+阅读 · 2022年2月13日
【ICIG2021】Latest News & Announcements of the Tutorial
中国图象图形学学会CSIG
3+阅读 · 2021年12月20日
【ICIG2021】Check out the hot new trailer of ICIG2021 Symposium4
中国图象图形学学会CSIG
0+阅读 · 2021年11月10日
【ICIG2021】Check out the hot new trailer of ICIG2021 Symposium1
中国图象图形学学会CSIG
0+阅读 · 2021年11月3日
【ICIG2021】Latest News & Announcements of the Plenary Talk2
中国图象图形学学会CSIG
0+阅读 · 2021年11月2日
【ICIG2021】Latest News & Announcements of the Industry Talk2
中国图象图形学学会CSIG
0+阅读 · 2021年7月29日
【ICIG2021】Latest News & Announcements of the Industry Talk1
中国图象图形学学会CSIG
0+阅读 · 2021年7月28日
Transferring Knowledge across Learning Processes
CreateAMind
29+阅读 · 2019年5月18日
国家自然科学基金
0+阅读 · 2013年12月31日
国家自然科学基金
0+阅读 · 2013年12月31日
国家自然科学基金
0+阅读 · 2013年12月31日
国家自然科学基金
1+阅读 · 2013年12月31日
国家自然科学基金
0+阅读 · 2011年12月31日
国家自然科学基金
0+阅读 · 2011年12月31日
国家自然科学基金
0+阅读 · 2011年12月31日
国家自然科学基金
0+阅读 · 2009年12月31日
VIP会员
相关VIP内容
相关资讯
VCIP 2022 Call for Special Session Proposals
CCF多媒体专委会
1+阅读 · 2022年4月1日
ACM MM 2022 Call for Papers
CCF多媒体专委会
5+阅读 · 2022年3月29日
AIART 2022 Call for Papers
CCF多媒体专委会
1+阅读 · 2022年2月13日
【ICIG2021】Latest News & Announcements of the Tutorial
中国图象图形学学会CSIG
3+阅读 · 2021年12月20日
【ICIG2021】Check out the hot new trailer of ICIG2021 Symposium4
中国图象图形学学会CSIG
0+阅读 · 2021年11月10日
【ICIG2021】Check out the hot new trailer of ICIG2021 Symposium1
中国图象图形学学会CSIG
0+阅读 · 2021年11月3日
【ICIG2021】Latest News & Announcements of the Plenary Talk2
中国图象图形学学会CSIG
0+阅读 · 2021年11月2日
【ICIG2021】Latest News & Announcements of the Industry Talk2
中国图象图形学学会CSIG
0+阅读 · 2021年7月29日
【ICIG2021】Latest News & Announcements of the Industry Talk1
中国图象图形学学会CSIG
0+阅读 · 2021年7月28日
Transferring Knowledge across Learning Processes
CreateAMind
29+阅读 · 2019年5月18日
相关基金
国家自然科学基金
0+阅读 · 2013年12月31日
国家自然科学基金
0+阅读 · 2013年12月31日
国家自然科学基金
0+阅读 · 2013年12月31日
国家自然科学基金
1+阅读 · 2013年12月31日
国家自然科学基金
0+阅读 · 2011年12月31日
国家自然科学基金
0+阅读 · 2011年12月31日
国家自然科学基金
0+阅读 · 2011年12月31日
国家自然科学基金
0+阅读 · 2009年12月31日
Top
微信扫码咨询专知VIP会员