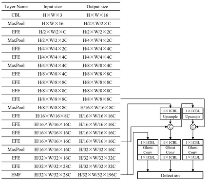
X-ray image plays an important role in manufacturing for quality assurance, because it can reflect the internal condition of weld region. However, the shape and scale of different defect types vary greatly, which makes it challenging for model to detect weld defects. In this paper, we propose a weld defect detection method based on convolution neural network (CNN), namely Lighter and Faster YOLO (LF-YOLO). In particularly, an enhanced multiscale feature (EMF) module is designed to implement both parameter-based and parameter-free multi-scale information extracting operation. EMF enables the extracted feature map capable to represent more plentiful information, which is achieved by superior hierarchical fusion structure. To improve the performance of detection network, we propose an efficient feature extraction (EFE) module. EFE processes input data with extremely low consumption, and improve the practicability of whole network in actual industry. Experimental results show that our weld defect network achieves satisfactory balance between performance and consumption, and reaches 92.9 mAP50 with 61.5 FPS. To further prove the ability of our method, we test it on public dataset MS COCO, and the results show that our LF-YOLO has a outstanding versatility detection performance. The code is available at https://github.com/lmomoy/LF-YOLO.


翻译:X光图像在生产质量保证方面起着重要作用,因为它能够反映焊接区域的内部条件。然而,不同缺陷类型的形状和规模差异很大,因此对检测焊接缺陷的模式提出了挑战。在本文件中,我们提议了一种基于卷发神经网络(CNN)的焊接缺陷检测方法,即Lighter和Apper YOLO(LF-YOLO))的焊接缺陷检测方法。特别是,一个强化的多尺度功能模块(EMF)旨在实施基于参数和无参数的多尺度信息提取操作。EMF使得提取的功能地图能够代表更丰富的信息,而这些信息是高等级聚合结构所实现的。为了改进探测网络的性能,我们建议了一个高效的特征提取模块。EFE处理数据输入极低的,提高了整个网络在实际工业中的实用性能。实验结果表明,我们的焊接缺陷网络在性能和消费之间取得了令人满意的平衡,达到929 mAP50, 并且有61.5 FPS。为了进一步证明我们的方法的能力,我们用公共数据设置的MS-CO/OFLF 检测结果显示,我们的公共数据系统/OFLFSO的软件是杰出的。MOFILFO的高级检测结果显示。我们有杰出的。

1
下载
关闭预览

相关内容

Yolo算法,其全称是You Only Look Once: Unified, Real-Time Object Detection,You Only Look Once说的是只需要一次CNN运算,Unified指的是这是一个统一的框架,提供end-to-end的预测,而Real-Time体现是Yolo算法速度快。
专知会员服务
110+阅读 · 2020年3月12日
Stabilizing Transformers for Reinforcement Learning
专知会员服务
60+阅读 · 2019年10月17日
一文读懂YOLO V5 与 YOLO V4
极市平台
17+阅读 · 2020年7月21日
Hierarchically Structured Meta-learning
CreateAMind
27+阅读 · 2019年5月22日
Transferring Knowledge across Learning Processes
CreateAMind
29+阅读 · 2019年5月18日
CVPR2019 | Stereo R-CNN 3D 目标检测
极市平台
27+阅读 · 2019年3月10日
Unsupervised Learning via Meta-Learning
CreateAMind
43+阅读 · 2019年1月3日
Hierarchical Imitation - Reinforcement Learning
CreateAMind
19+阅读 · 2018年5月25日
Faster R-CNN
数据挖掘入门与实战
4+阅读 · 2018年4月20日
【推荐】YOLO实时目标检测(6fps)
机器学习研究会
20+阅读 · 2017年11月5日
Arxiv
11+阅读 · 2019年4月15日
Arxiv
5+阅读 · 2018年5月16日
VIP会员
相关VIP内容
专知会员服务
110+阅读 · 2020年3月12日
Stabilizing Transformers for Reinforcement Learning
专知会员服务
60+阅读 · 2019年10月17日
相关资讯
一文读懂YOLO V5 与 YOLO V4
极市平台
17+阅读 · 2020年7月21日
Hierarchically Structured Meta-learning
CreateAMind
27+阅读 · 2019年5月22日
Transferring Knowledge across Learning Processes
CreateAMind
29+阅读 · 2019年5月18日
CVPR2019 | Stereo R-CNN 3D 目标检测
极市平台
27+阅读 · 2019年3月10日
Unsupervised Learning via Meta-Learning
CreateAMind
43+阅读 · 2019年1月3日
Hierarchical Imitation - Reinforcement Learning
CreateAMind
19+阅读 · 2018年5月25日
Faster R-CNN
数据挖掘入门与实战
4+阅读 · 2018年4月20日
【推荐】YOLO实时目标检测(6fps)
机器学习研究会
20+阅读 · 2017年11月5日
Top
微信扫码咨询专知VIP会员