脑机交互促进学习有效发生的路径及实验研究——基于在线学习系统中的注意力干预分析

2019 年 9 月 15 日 MOOC

| 全文共19893字,建议阅读时长19分钟 |


 本文由《远程教育杂志》授权发布

作者:胡航 李雅馨 曹一凡 赵秋华 郎启娥

摘要

脑机交互是一种实现大脑与计算机之间通信的信息交换技术。目前,其在教育中的应用主要有:将脑机接口植入虚拟现实学习环境、人工智能支持下的自适应学习、教育大数据的搜集与处理和智能学习系统等方式。在这些方式里,计算机对学习者在学习过程中的脑电信号进行监测与识别,从而调控学习行为,可促进有效学习。基于这一思路,形成了在在线英语学习系统中植入脑机接口的研究设计,旨在针对大学英语听力课程,感知和调控学习者的注意力,进而实现自适应学习。通过对X 大学100 名大一学生进行持续1 个月的实验研究,结果发现:脑机交互技术在提高学业成绩和注意力、改善学习态度和自我效能感、创设适合不同学习风格的学习路径方面,都取得了较好的效果。这为脑机交互进入教育实验提供了方法上的尝试,也为技术促进学习的有效发生,探索了新的路径。

关键词:脑机交互;脑机接口;学习路径;学习注意力;实验研究;自适应学习;智能测评


随着脑科学研究的发展,教育研究者开始尝试将脑科学的研究成果应用到教育领域,并从神经科学的角度来研究学习科学,即从学习者的生理层去解释和面对教育中的一些实际问题。同时,随着人工智能、大数据和虚拟现实等新兴技术的迅速发展,研究者又尝试着建立学习者大脑与计算机之间的关联,通过人工智能、大数据等技术,自动搜集、分析大脑在学习过程中的数据,并对其进行监测和学习行为的自适应调整。


近年来,脑机接口(Brain-Computer Interface,BCI)在技术层面诞生并逐渐发展,但其也更多地停留在技术层。“如何与认知神经心理学、关联主义、建构主义等教育与学习理论相结合,在教育领域如何应用”等诸多问题,在教育研究中涉猎极少,相关实证研究成果目前在国内正式发表的也非常少。我们基于1985-2018年的SCI 和SSCI 期刊论文中关于“脑机接口的演化过程及其在教育领域的应用”的知识图谱分析[1],发现脑机接口在学习过程中的核心,体现为大脑与计算机之间的双向交互,包括人工智能技术、教育大数据分析技术、大脑—心理—计算机三者之间的交互路径、学习过程中的指导策略等,并且在国外研究中已经有了一些初步探索。因此,我们认为脑机接口作为一项新兴技术在教育中的应用,称为“脑机交互”更为适切,其包含了技术和教育应用两个层面,英文仍用BCI 进行表达。


当然,脑机交互作为教育领域研究中的一个新兴点阵,还存在着脑科学成果向教育领域转化的问题,在脑科学与智能技术融合方面也有诸多需要探索的问题。但这为教育研究者从计算神经科学等多个领域出发,从大脑活动的微观视角来研究人脑认知机制,从学习行为的外在表征与调控来研究学习过程,开辟了新的路径。也为人工智能和教育大数据技术构建智能学习环境,推动自适应学习的实现,提供了可探索的手段。


一、研究综述


(一)关于学习的“三角互证”评测结构


学习科学视域中关于学习的深度,目前,在以下四方面已经达成共识:一是学习者应具有主动性、积极性、批判性和建构性等特征;二是学习应关注情境迁移、问题解决和创新;三是在学习过程中学习者应具有良好的情感体验;四是学习过程符合基于个性化的社会化属性[2]。但这四方面的理解尚属于描述性表征,在实际操作中很难量化与评价。因此,我们通过较长时间的实证研究,形成了描绘学习发生的“三角互证”评测体系和方法,认为只有在生理、认知和心理三个层面均达到了相互印证的统合关系,才能说明学习的发生有深度、有意义[3](如图1所示)。因此,学习的开展要求学习内容结构、学习资源表征和学习活动实施等教学要素,均能有效促进学习者在上述三方面的发展,这也是脑机交互研究与应用的评价标准与价值归属。


图1 学习的“三角互证”评测结构


(二)脑机交互及其在教育中的应用


脑机交互是一种不依赖于外周神经和肌肉组织,以一定的交互方式来完成大脑与计算机之间通信的信息交换技术[4]。早在1929年,德国科学家Hans Berger 首次通过仪器检测到了脑电信号,这一开创性的发现,引导科学家开始采用科学技术的手段来检测和分析大脑的活动情况。脑电波是当大脑神经细胞和神经纤维传递神经冲动时,产生的有节奏的微弱电位变化,主要是对大脑皮层的潜在变化做出反应。而放置在头皮上的双电极,则用于记录大脑皮层的这种变化,故其被称为脑电图(EEG)。


脑电波传感器需要大量的准备工作,电极需要用凝胶固定在实验者的头上,因此,脑电波传感技术以前通常用于工程和医疗领域。随着技术的发展,目前已经可以利用脑机交互来收集学生的脑电波,这使得在课堂教学中测量脑电波成为可能。人工智能算法的不断优化,使脑电信号对人的学习心理的解释力不断提升,因此,脑机交互逐渐被应用到生理/脑科学、认知心理学和学习科学等领域。在学习科学与教育技术研究领域,通过对脑机交互中的脑电波进行观测,逐步优化技术,成为在学习设计中的方法与策略,如,个性化学习路径的设计与生成,数字化学习资源的表征、开发与应用等。


目前,脑机交互主要表现为三个方面的应用:一是探测学习者个体活动中的大脑生理信号,主要用于学习心理方面的研究与评测;二是智能学习系统中基于脑电波数据的反馈,并在此基础上不断调整学习路径、优化学习过程,形成自适应学习方式来促进学习者学习,此方面主要是学习科学与教育技术领域的研究者与实践者在尝试;三是尝试监测群体脑电波状况,主要用于监测一定学习组织的大脑协同效应,比如,当教师与学习者的脑电波协同度越高时,学习效果会越好。此方面的尝试,可用于对学习共同体构建与学习文化的研究。


国外脑机交互用于认知心理的实验研究,已经取得了一系列成果。例如,Wolpaw、Birbaumer、Mc-Farland、Pfurtscheller 和Vaughan 认为,BCI 可以提供一个新的非肌肉通道,用于向外部世界发送消息和命令,因此,其经常被用来测量注意力、焦虑或放松的值[5]。Furen Lin 等试图利用BCI 来分析脑电波的学习频率,从而形成学习能量。通过该模式,为学生提供了一种即时学习的预警机制;同时,能够使教师理解学生学习的障碍并及时给予关心和鼓励[6]。Rebolledo-Mendez 等人通过开发一种注意力模型来评估思维的可用性,将注意力信号与Second Life 运动中收集的数据结合起来;其研究结果显示,被测量的数据和自我报告的注意力水平之间存在正相关关系[7]。


上述研究大多采用美国Neurosky 公司的Mind-Set 设备,已有应用表明该设备提供了比较准确的注意力表征值,并有良好的脑机交互效能和用户体验。而国内外用于技术支持下的各类在线学习系统的实践还不多见,学习科学与教育技术的研究者值得尝试。


(三)脑机交互技术促进学习有效发生的可能


脑机交互的信号监测与表征学习状态,目前在关注和提升学习者注意力、自我效能感、态度和理解力方面,已经显示出了一定可能性;这些指标恰好是促进学习走向深度和有效所关注的,有助于实现生理(脑电波)、认知(学业成绩)和心理(注意力、态度和效能感等)三个层面的有效统一,并为有效学习的路径设计与数字化资源开发,提供了现实可能。


1.脑机交互技术能在一定程度上揭示“人是如何学习的”规律


脑机交互技术能记录学习全过程的脑电波信号及变化规律,通过学习群体的信号搜集,进而将人工智能深度学习算法与学习心理建立强有力的关联,从而能在一定程度上揭示“人是如何学习的”这一规律。例如,有实验人员让学习者参与一个多组数字的记忆活动,并在此过程中记录学习者每一次的大脑状态,该研究发现:当学习者总结出数字的规律后,大脑状态与刚开始相比变得比较轻松,脑电信号会发生变化[8]。因此,从生理学上逐步揭示“人是如何学习的”,为学习活动设计、学习资源表征和智能学习系统的开发提供了科学基础,有助于提高教学设计的有效性与科学性。


2.脑机交互技术能为“个性化—合作”学习提供信号基础


脑机交互技术能较精准地反映学习者个体的学习进程。在智能学习系统中,学习者个体的学习进程可以通过脑机交互技术实时反馈与记录,该反馈能促使智能学习系统实时推送适切的学习资源并调整学习步骤。一方面,生成与个体学习风格相适应的学习路径;另一方面,基于个体数据可以不断匹配同质和异质的学习者,从而不断引导群体的学习活动,形成有效的合作学习路径。学习是基于个性的社会化过程,脑机交互技术能为“个性化—合作”学习提供信号基础。


3.脑机交互技术能为教育管理机构的科学决策提供大数据支持


图2 两种学习状态(好、差)的脑波信号


脑机交互技术通过对个体与群体学习过程的行为监控与记录,将产生大量的数据,如,好的学习状态与差的学习状态脑波图。如图2所示,波峰较集中的学习状态较好,学习状态较差的表现为比较平缓;这些信号会形成学习路线、群体交互、学习偏好等数据路径,从而形成学习行为的大数据库。该数据库可以按照性别、学段、学科、行为、区域等字段,反映学习者个体及群体的学习现状与规律,为教育管理机构把握教育现状、及时而科学地调整教育政策和科学决策,提供大数据支持,从而提高区域性学习的有效性。


二、脑机交互技术促进学习有效发生的路径


(一)在虚拟现实技术中融合脑机交互以创设学习环境


虚拟现实技术在创设学习空间与环境方面,主要表现为三类:一是打破时空约束,学习者能从现实世界中“直接”进入到另一个时空,如,穿越历史,与历史事件对话,跨越高山平原,身临其境体验与理解地理知识;二是实现现实中难以达到或触及的场景与空间,如,卫星轨道运行观测、细胞活动跟踪等;三是安全性要求较高的职业训练,如,汽车驾驶、远航作战演习等。


在上述虚拟现实技术所创设的学习环境里,融入脑机交互技术,一方面能较准确地采集学习过程中学习者的脑电波信号,另一方面通过认知心理解释这些信号,能把握学习者的学习心理过程与状态,从而不断改善学习环境,促进学习走向有效。图3 显示了在虚拟现实环境中,基于脑机交互技术训练大学生心理素质的过程。在该虚拟环境中,被试将面临各种舒适、恐怖、危险的状态,研究者通过脑机交互技术,观测其脑波信号和心理状态,从而给予干预。


图3 基于虚拟现实环境中的脑机交互心理干预


(二)在人工智能技术中融合脑机交互以实现学习过程自适应


人工智能技术在教育中的应用,主要表现为:通过机器深度学习,不断地根据学习者的认知起点、学习风格、阶段性学习效果等因素,逐渐生成学习者自适应学习路径。而机器深度学习了什么,其数据的准确性将直接制约学习路径的科学性和有效性。脑机交互技术融入基于人工智能的智能学习系统中,可从脑电波信号的角度,为机器深度学习提供一种有效的生理数据,促进机器深度学习的精准性和有效性,从而增强学习过程的自适应属性。


(三)在脑机交互技术中应用大数据以记录与处理学习的全过程行为


脑机交互技术每5 分钟会产生300 个关于学习者个体的脑电波数据数值,一方面表现为数据量十分巨大,另一方面这些数据背后蕴含着复杂的学习心理特征值需要分析,这些复杂的学习心理特征值又映射着现实学习全过程的行为。可见,数据、心理特征与学习行为之间将产生一条“学习行为数据链”。如图4所示,若干离散的数据经过教育大数据分析,将揭示出学习者的内在学习心理特征,这些心理特征之间存在着相互影响的关系链,而上述内在心理属性又将映射出学习者外显的学习行为。这条学习行为数据链,一方面可以让教师较准确地掌握学习者个体和群体的学习行为轨迹;另一方面可以在该链条上找到干预点,并设计干预方法与策略。


图4 学习行为数据链


(四)脑机交互技术应用于智能学习系统以实现学习的“三角互证”


智能学习系统是上述虚拟现实、人工智能和大数据分析等技术的部分或全部集成。根据上述分析,智能学习系统应用脑机交互技术后,将可以直观地反映出学习者在生理、认知和心理三个层面上的表现。如果三者均达到了学习品质评测中的阈值,那么就可以认为该个体或群体达到了较好的学习水平;如果其中1 项或多项未达到标准阈值,则可以通过“学习行为数据链”去查找原因,不断调整和修正学习过程,最后逐渐实现学习的有效目标。


三、在线学习系统中的注意力干预实验研究


(一)研究缘由


注意力是指人的心理活动指向和集中于某种事物的能力,其包含注意警觉、注意维持和注意转移三个方面,其中,注意维持被认为是学习过程中的持续专注力。依据学习的“三角互证评测结构”,学习过程中的持续专注力,被认为是学习有效性在生理层和心理层最重要的指标之一。学生的学习结果,很大程度上依赖于学生对学习内容的持续专注力 [9-12]。因此,本研究中的注意力主要指持续专注力。


目前,在自主学习和在线学习中,帮助学生持续保持关注,已成为一个重要的研究问题。Rush 等人试图建立一个观众反映系统(Audiences Reflection System,ARS),目标是在教育环境中保持学习者的注意力,并提高他们的兴趣[13]。关于持续注意力和学习之间关系的研究表明,学生的课堂行为会影响学习者的学习及成绩,而注意力是否缺乏是一个关键因素。Corno 指出,只要学生有一定的学习动机或意愿,注意力确实可以提高学生的学习成绩[14]。Sarter、Givens 和Bruno 将持续关注定义为关注的基础[15]。因此,如何让学生持续关注,是学者们需要考虑的一个重要问题。


在许多非英语国家中,英语是最重要的第二外语。然而,对大多数学习者来说,学习外语是一项挑战,因为需要持续和有效的练习[16]。注意力被认为是影响学生学习效果的关键因素之一,学者们强调提供学习支持来帮助学生持续关注英语学习活动,使学习者在在线学习环境下的学习活动中,能取得有效进步。为了提高学生的英语学习效果和积极性,开发一种有效的引导学生在真实语境中的学习方法,成为一个重要问题。同时,在计算机辅助语言学习领域中,将各种学习策略和活动相结合,也是一种尝试。


已有研究发现,外语学习者的听力方法会直接影响他们在英语学习系统中的表现与学习程度[17]。因此,本研究拟借助Neurosky 公司的MindSet 设备,将脑机交互技术融入X 大学原有的英语在线学习系统,设计和开发一套针对英语听力的学习系统,以监控与促进学习者的注意力发展。旨在提高学习成绩及改善学习态度等方面的表现,为有效学习的相关实践,提供可操作性的方法。


(二)研究问题


我们基于X 大学在线英语学习系统,针对大学生普遍感觉困难的“听力课程”,开发了基于脑机交互技术的注意力监控与促进系统。该系统从学习者的学习风格出发,主要考虑“整体型”和“序列型”两种类型,进一步探究脑机交互技术对学习者的影响与学习效果。由于“整体型”学习者偏向于结构化信息,而“序列型”学习者偏向遵循一个精心设计的序列。学习注意力促进机制的介入,可能会对这两种类型的学生产生不同的影响。基于此,我们确定了以下研究问题:一是与传统在线英语学习相比,基于脑机交互技术的注意力促进法,是否会取得更好的学习成绩;二是与传统在线学习相比,基于脑机交互技术的注意力,是否会表现出更积极的学习态度;三是学习者是否适应基于脑机交互技术的学习策略;四是基于脑机交互技术的注意力促进法,对两种不同学习风格学习者的注意力的影响,是否存在差异。


(三)基于BCI 的注意力监控与促进系统的设计、开发及工作原理


1.持续关注度及其在学习中的应用


如前所述,持续关注度在学习过程中主要表现为学习注意力,因此,通过MindSet 脑机交互技术衡量持续关注度,可以表征学习注意力。该脑机交互技术设备是一款与普通耳机在形式上没有任何差别的耳机①这也是选择大学英语听力课程的原因所在,学习者在学习过程中,可以按照常规状态正常进行听力学习,而不会受到实验研究对其的干扰与心理影响。,首先,其通过干态电极传感器采集大脑产生的生物电信号,并将这些采集的信号送入ThinkGear芯片,ThinkGear 将混杂在信号中的噪音以及运动产生的扰动进行滤除,并将有用的信号放大;然后,通过NeuroSky eSense 算法,解读出描述使用者当前精神状态的eSense 参数,包括专注度和放松度两个方面;最终,通过将这些量化的参数输出到电脑、手机等智能设备,实现基于脑电波的人机交互,即通常所说的“意念控制”。


该设备由三个部分组成:接触前额的传感器、安装在耳垫上的参照点、用于处理所有数据的板载芯片,MindSet 耳机能把测量结果输出到外部终端。用1-100的整数来表示专注度,1 代表最低,100 表示最高。


2.英语学习注意力监控与促进系统的设计与开发


我们基于上述脑机交互原理,设计与开发了英语学习注意力监控与促进系统。该系统旨在提高学生在英语听力课程中的持续注意力,让他们在学习中充分投入,以提高他们的学习成绩。当学习者通过MindSet 耳机学习英语听力时,就可以通过脑电波的感知信息,估测学习过程中学习者的情绪,从而了解他们的学习注意力。当注意力减弱时,注意力促进机制会帮助他们恢复注意力状态,以提高他们的学习成绩。那么,如何让学生长时间地保持专注?更进一步的,对于那些专注度不高的学生来说,如何提高他们的专注度?本研究通过及时的、自动的反馈来吸引学生的注意力,其基本原理是:在学生的自主在线学习过程中,通过MindSet 耳机实时测量学生的脑电波信号,该耳机自带的芯片对采集的脑电波信号进行分析处理,把某一特定频率范围的EEG 信号映射到专注度量表,并实时显示在输出终端;当专注度值低于某一预设的阈值时,便会自动暂停学生的学习,转而进入到提问环节;直到学生正确回答了提出的问题,学习程序才继续新内容的学习。


该英语在线学习系统植入了脑机交互技术和提升专注度的模块;同时,系统本身还包含了在线学习模块、学习资料数据库、学生档案数据库、学习过程档案数据库和题库系统等几个部分。其中,专注度的数据被存储在学习过程档案数据库中。当学习者的注意力程度减弱时,系统会及时提供帮助,并从题库系统抽取题目进行测试,以促进他们的注意力维持在正常水平,实验过程如图5所示。


图5 基于脑机交互的英语在线学习过程


3.英语学习注意力监控与促进系统的工作原理


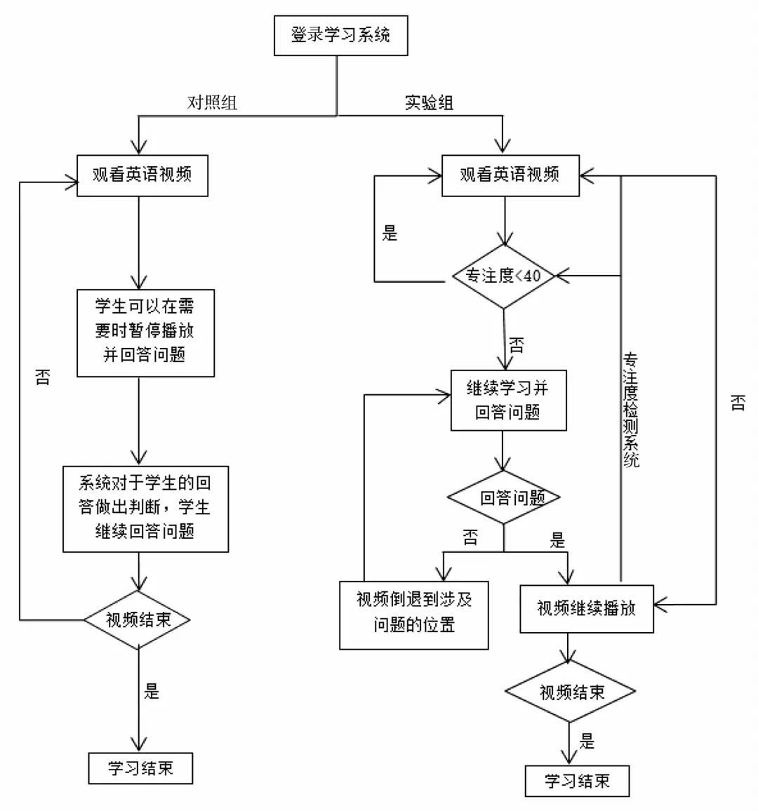
该系统的工作原理如下:学生首先通过计算机登录“提高专注度”的英语在线学习系统,然后点击“开始播放”来启动英语听力学习课程;同时,内嵌在系统中的脑电波监测系统在学生登录后也随即启动。如果学生的注意力下降到某一个设定的阈值,学习系统将自动暂停学习视频的播放,同时启动注意力提升系统并向学生提问,这些问题都是已经播放的视频中的相关内容。如果学生回答正确,视频则能继续播放,进入下一阶段的学习;如果学生未能正确回答问题,视频将会自动倒退5 秒(即退到问题所在的位置)重新播放,要求学生重新观看该相关视频片段,直到能正确回答问题。


研究设实验组和对照组,学生学习同一个内容,即观看同一个在线视频,被提问的问题也是完全一致。而且两个组的学习系统界面相似,唯一的区别是对照组没有注意力提升系统。对照组的学生可以在任意时间暂停播放并回答视频相关问题,学习系统会立即提供相应的反馈信息;学生可以通过点击“继续”按钮来学习后面的视频内容。两个组的学习系统流程,如图6所示。


图6 实验组与对照组的学习流程


在eSense 参数中,0 到40 之间的注意力值,被定义为“强烈降低和减少注意力”。所以,40 是判断一个学生学习注意力的区分界限[18]。实验观察屏幕会显示脑电波头戴设备是否正确检测到注意力值。当一个学生不正确地戴上脑电波耳机,或者耳机无法察觉学生的注意力值时,系统会停止播放学习材料,并显示红灯作为警告。直到脑电波头戴设备正确安装,系统能检测到一个值时,红灯才会变成绿色,使学习可以继续。


(四)实验实施过程


我们利用X 大学的在线英语学习系统进行实验。针对前面提出的四个研究问题,对学习者的英语听力成绩、学习态度、技术适应程度和两种学习风格学习者的差异,进行了相应的实验研究。


1.实验被试


实验被试是100 位来自X 大学10 个专业的大一学生,他们被随机分配到实验组和对照组,各50人。实验组学生利用提高专注度英语学习系统进行学习,对照组学生则使用传统的在线学习系统进行学习,实验过程在学校的听力教室进行。


2.实验步骤


实验包含以下步骤:一是在学习进行之前,请被试填写一份关于学习态度和学习风格的问卷,并且对他们进行“英语听力和理解”学习能力的前测;二是将他们随机分配到实验组和对照组;三是学生完成整个学习内容大约需要1 小时,每两天1 次,每周3 次,连续四周,共计学习12 次;四是四周后,对学习者的学习成绩、学习态度进行后测,并评测学习者对学习系统的适应性等指标;五是学习材料为大一听力课程的学习内容。


3.实验工具


在这个实验研究中,我们采用量表是具有较好效度的,且得到了多位研究人员的验证[19-21]。量表包括用以测量学生英语相关能力的前测和后测,学习风格、学习态度和适用性评价的问卷,以及五个访谈问题[22-23]。


前测题目由50 道选择题构成,满分100分,都是听力题目,由两位资深英语教师从在线英语学习系统的题库中挑选。后测包括听力理解题和阅读理解题,各20 道选择题,题目由另外两位资深英语教师编制。学习风格量表采用的是整体型/序列型量表,与研究设计匹配,以关注不同学习风格学习者的差异性。学习态度问卷的目的,是了解学生在英语听力课程前后的学习态度变化。适用性评价问卷用于评估学生对学习系统的反馈,是为了更好地了解学生对学习系统的思考和建议。


四、实验数据的分析


对数据的分析采用的是SPSS 21.0 软件,主要用于配对样本的T 检验,对前测和后测的分数进行单因素协方差分析,对学习态度以及系统适用性评价的问卷调查进行分析。自变量是学习方式,它具有两种情况:基于脑电波信号的提高专注度策略和传统的在线学习策略。因变量则有三个,分别是学习成绩、学习态度和对不同学习风格的适用性。此外,学生在实验后的采访反馈也会被抽象化。


在完成学习活动后,我们根据序列分析方法[24],对学生在学习过程中的学习注意力进行了编码和分析,以获取他们在学习过程中对学习材料的注意力变化。表1 显示了不同类型的持续关注值及其解释。


表1 专注度值的等级划分


级别解释C1 1-20 非常低C2 21-40 低C3 41-60 中性C4 61-80 高C5 81-100 非常高专注度值


(一)学习成绩分析


对实验组和对照组的前测数据进行单因素方差分析,得到p=0.58>0.05,故两组的前测数据没有显著差异。因此,可以认为两组学生在参加实验学习前具有相同的英语水平。实验组与对照组后测学习成绩分析情况,如表2所示;学习注意力与学业成绩的相关性,如表3所示。


表2 实验组与对照组后测学习成绩分析表

注:p<0.05,为显著性差异。


实验组对照组学习成绩F η2 SD总成绩 50 62.25 12.76 50 50.50 12.71 4.18* 0.64听力 50 26.50 7.12 50 20.50 7.13 5.31* 0.71阅读理解 50 35.75 13.89 50 30.00 9.58 1.67 0.39 N M SD N M


表3 学习注意力与学习成绩的相关性

注:p<0.05,为显著性差异。


数据分析维度后测成绩学习注意力个人相关性 0.56*显著性(双尾)0.01样本数 50


由表2 可得出以下结论:一是实验组在总分和分项分上均高于对照组;二是就总成绩而言,由F=4.18,可知p=0.04<0.05,两组数据存在显著性差异;三是就听力成绩而言,F=5.31,可知p=0.03<0.05;四是就阅读理解而言,F=1.67,可知p=0.08>0.05,说明这部分内容没有显著性差异。由表3 的相关性分析可知:γ=0.56,p=0.01<0.05,这说明专注度(学习注意力)与成绩成显著地正相关。综上可见,实验组与对照组在听力方面发生了显著差异,而在阅读理解方面并未发生显著差异,这说明基于脑机交互技术的英语听力学习系统,能显著改善学习成绩。


(二)学习态度变化分析


对前测问卷中的学习态度问卷,进行独立样本T 检验,所得数据分析结果如表4所示。


表4 实验组与对照组的前后测学习态度数据分析表

注:p<0.05,为显著性差异。


组别前后测N M SD前测 50 3.79 0.53实验组-2.68*后测 50 4.13 0.54 t前测 50 3.81 0.66对照组1.21后测 50 3.79 0.66


由表4 我们可得出以下结论:一是前测时实验组与对照组的学习态度平均得分相差不大,没有显著性差异;二是后测时实验组t=-2.68,得到p=0.015<0.05,这说明实验组的学习态度前后发生了显著性差异,结合均值可知学习积极性得到了显著性提高;三是后测时对照组t=1.21,得到p=0.23>0.05,平均值不升反降,说明对照组前后无显著差异,而且还产生了疲劳。


(三)对学习方式的适应性


我们采用独立样本T 检验,比较实验组和对照组学生对各自的学习方式的适应性,所得均值分别为4.10 和3.64,这说明实验组学生对自己的学习方式(监控与促进学习注意力系统)更加认可;且p=0.015 <0.05,这说明实验组学生的认可程度显著地高于对照组学生。实验组学生认为,提升专注度系统在促进他们的学习方面发挥着重要的作用。


(四)实验系统对不同学习风格学生的影响


我们通过对学习风格问卷进行分析后发现,在实验组的50 个学生中,有22 人是序列型学习风格,28 人是整体型学习风格。在学习者完成学习活动后,他们在学习过程中的学习注意力被编码,如表1所示。从注意力的eSense 参数来看,仪表值是根据1-100 的相对eSense 的比例来编码的。值1-20 被编码为C1(非常低),21-40 被编码为C2(低),41-60被编码为C3(中性),61-80 被编码为C4(高),81-100 被编码为C5(非常高)。我们采用序列分析方法进一步分析了信息编码,用显著性(Z)的二项检验来描述消息代码序列,用一个消息代码传输图来表示学习的注意力。如图7所示,图中的每个圆圈代表一个消息代码,每条较粗的线条代表着意义的重要性,即“Z>96”,箭头指向传输的方向。


图7 两种学习风格的消息代码序列


由图7 可得出以下结论:一是序列型学习者持续停留在“低”(C2)和“中性”(C3)注意状态,显著性水平Z 值为95.10 和127.21;二是整体型学习者持续停留在“低”(C2)、“中性”(C3)和“高”(C4)的注意状态,显著性水平Z 值分别为99.53、113.69 和35.66;三是整体型学习者的学习注意力从“低”(C2)提高到“中性”(C3)状态,显著性水平Z 值为15.81,但是序列型学习者的“低”(C2)状态没有得到改善;四是整体型学习者专注于“高”(C4)状态,其Z 值为35.66,但序列型学习者则不然。综上,整体型学习者的学习注意力,要比序列型学习者更好;整体型风格的学生,可以被提升到更高层次的关注度,并能保持这一水平。但对于序列型学习者来说,情况并非如此。


通过采用序列分析方法进行分析后表明,两类学生在专注度方面表现出了差异性。例如,整体型学生的注意力从C2 提升到C3 状态,说明得到了显著提升;然而,序列型学生中处于C2 状态的学生却没有提升到C3 状态。另外,对于高度注意力而言,整体型学生能从C2 状态提升到C3 状态,并继续提升到C4 状态且保持在该状态;而序列型学生则没有这样的提升。由此可知,有些整体型学生能把自己的注意力向更高水平提升并保持在更高的水平,而序列型学生中却没有这样的个例。


(五)访谈分析情况


为了获得实验组学生对提升专注度学习系统的看法和建议,我们从实验组中随机选择了10 位学生进行访谈。在访谈中,学生们表示他们能明显感觉到该系统能帮助他们专注于学习材料,并且在视频和音频的帮助下,学习内容也更容易理解;对于学习过程中的提问,除了问题本身以外还提供了额外的词汇及其详细的解释。他们认为,英语听力学习系统对他们的学习很有帮助,能获得更加丰富的知识,并能使他们对学习更加积极。另外,通过访谈得知:当学生都处于低专注状态时,男生比女生更缺乏耐心,男生会草率地回答问题而不去仔细审题。有学生建议在该学习系统中加入一些图片或图示来实时表达学习者的注意力,而不仅仅是文字,这样才不会让他们感到无聊。值得一提的是,他们表示愿意在将来的学习中,使用具有脑机交互功能的学习系统。


五、研究结论


我们较早地在国内针对脑机交互技术的教育应用进行了实验研究,在一定程度上验证了脑机交互技术植入在线学习系统后的学习成效,可归纳出如下五方面的研究结论。


(一)脑机交互技术揭示了生理信号与学习行为之间的映射关系


在线英语学习系统的实验结果表明:脑机交互技术通过学习者的生理信号检测与监测,能及时反映学习者的学习状态与学习行为。在我们的研究中,整体型学生能从C2 状态提升到C3 状态,并继续提升到C4 状态且保持在该状态;而序列型学生却表现不佳。这种生理信号与学习风格之间建立了一种映射关系,而这种映射关系又直接反应在学习行为层。因此,映射关系的建立,为学习分析提供了可量化的数据支持和操作手段,为学习活动的设计与实施,提供了较精准的干预点与策略。即脑电波信号的表征与解释,为学习在生理层面的评测提供了数据与可能。


(二)脑机交互技术提高了学业成绩,改善了学习注意力和学习态度


由表2、表3 和表4 可知,脑机交互技术植入在线英语学习系统后,其较显著地提高了学业成绩,其中总成绩幅度达到10 分左右;同时,在注意力和学习态度方面也都得到了较大的改善。实验组的学习态度出现了显著差异,而对照组则表现为出现疲劳状态。因此,脑机交互为学习在认知和心理两个层面的有意义评测,提供了有力的证据;也为学习的多维评测与表征,提供了一种评价方法。


(三)脑机交互技术受到了学习者的认可


由学习者对学习方式的适应性可知,脑机交互技术对学习过程的实时监测与调控,较好地满足了学习者的认知需求。学习者在这样的学习过程中更容易获得满足感、更容易提高自我效能感,并且取得了较好的成绩。这一现象说明,学习者能够适应脑机交互对在线学习过程的干预,也能提高注意力和学习态度。学习者能够认可这样的干预方式,这为脑机交互技术在实践中的实施,提供了现实可能。


(四)脑机交互技术增强了现有在线学习系统的智能性


现有的在线学习系统,一直努力创设一种动态的、实时精准的自适应学习路径。但这种理念依据什么、如何落地,学习者认知起点如何诊断、学习风格如何自动化分类、学习过程如何智能化监控等问题,一直困扰着智能学习的研究者与实践者。脑机交互技术的植入,为解决上述问题在一定程度上提供了依据与判断对象。在实验操作过程中,生成了多条自适应学习路径,提高了在线学习系统的智能性。学习者在学习过程中较少受到人为干预,所有监测与干预过程均根据脑机交互技术,动态监测学习者的学习状态而实时反馈,并由学习者及时给出反应和调整。


(五)脑机交互技术为促进学习走向有效学习,提供了一条可尝试的路径


脑机交互技术已经在生理、认知和心理三个层面对学习效果进行了改善,并用一系列相互印证的数据进行了说明。如,脑电波、学业成绩、注意力和学习态度之间的映射。这契合了学习有效性评测中的“三角互证”要求,在一定程度上满足了学习有效发生的需求,这为有效学习系统的设计与开发,提供了新的思路。


六、小结与思考


脑机交互技术植入在线学习系统,为学习者调节学习过程中的身体舒适度,提高学习成绩,形成良好的自我效能感和改善学习态度等方面的统合,提供了可能。它架通了生理、认知和心理的桥梁,为促进学习的有效发生提供了可以进一步探索的实践路径。目前,脑机交互技术的教育应用才刚刚起步,基于脑机交互的在线学习注意力干预也只是一次初步尝试,这种尝试的价值,在于为脑机交互在教育领域的应用,做了一些先行探索。


由于脑机交互的技术成熟度和教育领域应用的限制,该研究还存在以下三方面的问题与挑战:一是系统的稳定性不足。学习者生理指标的个体差异较大,同一种情绪在不同的个体身上所表现出的生理指标存在差异,这将影响系统对学习者注意力的判断,有时甚至做出错误的干预。二是脑科学领域中生理指标与注意力的映射关系的数据准确性还不够高,也会影响智能系统在开发和应用过程中对学习者监测的精准性。三是研究过程对研究人员充满挑战。由于这类研究涉及心理、教育和技术领域,对研究者的跨学科知识提出了较高要求。研究者需要深入理解三者之间的关系,并通过团队有效合作才可能较好地完成该类实验。四是设备较为昂贵。目前只能在一些学科建设经费较为充足的实验室中,做一些小型探索,还不太适合普及性的研究与实践。因此,在教育一线的应用还有很长的探索路程。


总之,脑机交互目前在教育领域的应用还非常浅显,在研究方法、研究对象和研究内容上,都存在着较大的局限性,有条件的教育实验室可以进一步去尝试和探索。随着人工智能技术和大数据分析技术在教育领域中的应用发展,脑机交互技术必然能为智能课堂构建、智能教育开展,提供一条可行的路径,最终促进教与学的深入、人的全面发展。


[参考文献]

[1]姜雷,张海,张岚,等.脑机接口研究之演化及教育应用趋势的知识图谱分析[J].远程教育杂志,2018(4):27-38.

[2]胡航,董玉琦.技术促进深度学习:“个性化—合作”学习的理论构建与实证研究[J].远程教育杂志,2017(3):48-61.

[3]胡航.技术促进小学数学深度学习的实证研究[D].长春:东北师范大学,2017.

[4]Wolpaw J R,Birbaumer N,Heetderks W J,McFarland D J,Peckham P H,Schalk G,Donchin E,Quatrano L A,Robinson C J,Vaughan T M.Brain-computer interface technology:A review of the first international meeting[J].IEEE Transactions on Rehabilitation Engineering,2000(2):164-173.

[5]Wilson K,Korn J H.Attention during lectures:Beyond ten minutes[J].Teaching of Psychology,2007(2):85-89.

[6]Lin F R,Kuo C M.Mental effort detection using EEG data in Elearning contexts[J].Computers & Education,2018.

[7]Rebolledo-Mendez G,Dunwell I,Erika A Martínez-Mirón,et al.Assessing NeuroSky’s usability to detect attention levels in an assessment exercise[C]// Human-Computer Interaction.New Trends,13th International Conference on HCI,2009.

[8]Crowley K,Sliney A,Pitt I,et al.Evaluating a brain-computer interface to categorise human emotional response[C]// IEEE International Conference on Advanced Learning Technologies.IEEE,2010.

[9]Hidi S E.A reexamination of the role of attention in learning from text[J].Educational Psychology Review,1995(4):323-350.

[10]Reynolds R E.Selective attention and prose learning:Theoretical and empirical research[J].Educational Psychology Review,1992(4):345-391.

[11]Risko E F,Buchanan D,Medimorec S,et al.Everyday attention:Mind wandering and computer use during lectures[J].Computers &Education,2013(5):275-283.

[12]Wilson K,Korn J H.Topical articles:Attention during lectures-beyond ten minutes[J].Teaching of Psychology,2007(2):85-89.

[13]Rush B R,Hafen M A,Biller D S,et al.The effect of differing audience response system question types on student attention in the veterinary medical classroom[J].Journal of Veterinary Medical Education,2010(2):145-153.

[14]Corno L.The best-laid plans:Modern conceptions of volition and educational research[J].Educational Researcher,1993(2):14-22.

[15]Stytsenko K,Jablonskis E,Prahm C.Evaluation of consumer EEG device Emotive EPOC[J].Stytsenko,2011.

[16]Schmidt R W.Attention,awareness,and individual differences in language learning[J].Perspectives on Individual Characteristics &Foreign Language Education,2010:721-737.

[17]Liu G Z,Liu Z H,Hwang G J.Developing multi-dimensional evaluation criteria for English learning websites with university students and professors[J].Computers and Education,2011(1):65-79.

[18]NeuroSky.The MindSet communications protocol[EB/OL].[2019-04-26].http://wearcam.org/ece516/mindset_communications_protocol,2010.

[19]Akcaoglu M.Learning problem-solving through making games[J].Educational Technology Research & Development,2014(5):583-600.

[20]Hsu Ting-Chia.Learning English with augmented reality:Do learning styles matter?[J].Computers & Education,2017,106:137-149.

[21]Yang,Kai-Hsiang.Learning behavior and achievement analysis of a digital game-based learning approach integrating mastery learning theory and different feedback models[J].Interactive Learning Environments,2017:1-14.

[22]Felder R M,Silverman L K.Learning and teaching styles in engineering education[J].Engineering Education,1988(7):674-681.

[23]Hwang G J,Yang L H,Wang S Y.A concept map-embedded educational computer game for improving students’learning performance in natural science courses[J].Computers & Education,2013,69:121-130.

[24]Berk R H,Bakeman R,Gottman J M.Observing interaction:An introduction to sequential analysis[J].Technometrics,1992(1):112.


The Path and Experimental Research of Brain-Computer Interaction Promoting Deep Learning:Based on Attention Intervention Analysis in the Online Learning System


Hu Hang1,2,3,Li Yaxin3,Cao Yifan3,Zhao Qiuhua3& Lang Qi’e3
(1.Center for Urban and Rural Educational Development,Southwest University;2.Center for Deep Learning,Faculty of Education,Southwest University;3.School of Educational Technology,Faculty of Education,Southwest University,Chongqing 400715)


【Abstract】Brain-computer interactive technology is a kind of information exchange technology to realize communication between brain and computer.In education,brain-computer technology can be mainly implanted into the path of virtual reality learning environment,adaptive learning education supported by artificial intelligence,big data collection and processing ,and intelligent learning system.In these pathways,the computer monitors and recognizes the EEG signals of learners in the learning process to regulate learning behaviors,which promotes learners’deep learning.Based on this,the research aiming at college English listening courses implants brain-computer technology into the online English learning system,which mainly senses and regulates learners’attention,and then realizes the adaptive learning path.Additionally,the experimental study of 100 first-year students in X university lasting for one month achieved good results in improving academic performance and attention,improving learners’learning attitude and self-efficacy,and creating learning paths for learners with different learning styles.This study provides a methodological approach for the introduction of brain-computer interaction technology into educational experiments and a new approach for technology to promote deep learning.

【Keywords】Brain-Computer Interaction; Brain-Computer Interface; Learning Path; Learning Attention; Experimental Study;Adaptive Learning; Intelligent Measure


基金项目:本文系全国教育科学“十三五”规划2019年度西部项目“深度学习发生机制、应用与评估研究”(项目编号:XJA190286)的成果之一。


作者简介:胡航,博士,西南大学统筹城乡教育发展研究中心、教育技术学院副教授,西南大学教育学部深度学习研究中心主任,硕士生导师,研究方向:深度学习、信息技术教育、教育信息化政策;李雅馨,曹一凡,赵秋华,郎启娥,均为西南大学教育学部教育技术学院在读本科生。


转载自:《远程教育杂志》

排版、插图来自公众号:MOOC(微信号:openonline)


新维空间站相关业务联系:

董老师 15210808569

琚老师 15210770713

联系地址:

北京中关村大街18号B座902室—室联网•新维空间站


更多资讯

【教育信息化中的伪需求】之一:智慧教室中的“多屏”是伪需求吗?

【教育信息化中的伪需求】之二:智慧教室中的吊麦是个伪需求吗?

【教育信息化中的伪需求】之三:智慧教室中的录播是个伪需求吗?

【教育信息化中的伪需求】之四:智慧教育中VR是个伪需求吗?

【教育信息化中的伪需求】之五:智慧教室的xPad交互是个伪需求吗?

【教育信息化中的伪需求】之六:慕课是个伪需求吗?

美国教育界眼中的教育技术

Syllabus(课程教学大纲)的重要性及其在美国大学中的应用

同为课程教学大纲,中美有何不同?

说说美国大学的学习考核与学业评价


我们哒微博线啦!!!


扫描下方二维码关注

给你不一样的

室联网·新维空间站



喜欢我们就多一次点赞多一次分享吧~


有缘的人终会相聚,慕客君想了想,要是不分享出来,怕我们会擦肩而过~


《预约、体验——新维空间站》

《【会员招募】“新维空间站”1年100场活动等你来加入》

有缘的人总会相聚——MOOC公号招募长期合作者


产权及免责声明 本文系“MOOC”公号转载、编辑的文章,编辑后增加的插图均来自于互联网,对文中观点保持中立,对所包含内容的准确性、可靠性或者完整性不提供任何明示或暗示的保证,不对文章观点负责,仅作分享之用,文章版权及插图属于原作者。如果分享内容侵犯您的版权或者非授权发布,请及时与我们联系,我们会及时内审核处理。


了解在线教育,
把握MOOC国际发展前沿,请关注:

微信公号:openonline
公号昵称:MOOC

 

登录查看更多
3

相关内容

自适应学习,也被称为自适应教学,是使用计算机算法来协调与学习者的互动,并提供定制学习资源和学习活动来解决每个学习者的独特需求的教育方法。在专业的学习情境,个人可以“试验出”一些训练方式,以确保教学内容的更新。根据学生的学习需要,计算机生成适应其特点的教育材料,包括他们对问题的回答和完成的任务和经验。该技术涵盖了各个研究领域和它们的衍生,包括计算机科学、人工智能、心理测验、教育学、心理学和脑科学。
多智能体深度强化学习的若干关键科学问题
专知会员服务
195+阅读 · 2020年5月24日
人机对抗智能技术
专知会员服务
214+阅读 · 2020年5月3日
大数据安全技术研究进展
专知会员服务
96+阅读 · 2020年5月2日
【中国人民大学】机器学习的隐私保护研究综述
专知会员服务
133+阅读 · 2020年3月25日
中科大-人工智能方向专业课程2020《脑与认知科学导论》
【CCL 2019】结合规则蒸馏的情感原因发现方法
专知会员服务
23+阅读 · 2019年11月27日
支持个性化学习的行为大数据可视化研究
在线学习体验影响因素结构关系探析
MOOC
7+阅读 · 2019年3月20日
Arxiv
3+阅读 · 2019年3月1日
Arxiv
8+阅读 · 2018年1月19日
VIP会员
相关VIP内容
多智能体深度强化学习的若干关键科学问题
专知会员服务
195+阅读 · 2020年5月24日
人机对抗智能技术
专知会员服务
214+阅读 · 2020年5月3日
大数据安全技术研究进展
专知会员服务
96+阅读 · 2020年5月2日
【中国人民大学】机器学习的隐私保护研究综述
专知会员服务
133+阅读 · 2020年3月25日
中科大-人工智能方向专业课程2020《脑与认知科学导论》
【CCL 2019】结合规则蒸馏的情感原因发现方法
专知会员服务
23+阅读 · 2019年11月27日
Top
微信扫码咨询专知VIP会员