苹果智能戒指,考不考虑套一个?专利披露更多用途,还带触摸屏

2020 年 3 月 4 日 量子位
乾明 发自 凹非寺 
量子位 报道 | 公众号 QbitAI

苹果智能戒指的细节越来越多,落地的可能性越来越大。

苹果资讯网站Appleinsider在3月4日报道,苹果获得美国专利商标局授予的“可扩展戒指设备”(Expandable Ring Device)专利。

在专利文件中,苹果公司再次透露了智能戒指产品的细节:

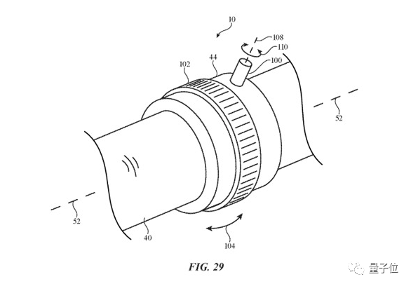
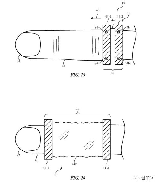
智能戒指不会像普通戒指一样固定不变,可以“拉长”拓展成指套,将指关节囊括在内。

这不是苹果第一次获取智能戒指相关专利,它在2019年10月、11月就曾获得其他类似专利。

苹果想要设计一个怎样的智能戒指?伴随着新专利曝光,答案愈发清晰。

触摸屏、可拉伸,用于控制苹果产品

在最新获得的专利文件中,苹果给出了智能戒指的应用场景:用于控制其他设备,比如替换力反馈手套、智能手机中的触觉反馈系统等,来节省手机中的电量,也可以用来解锁Mac电脑等。

所以戒指的各种设计,都围绕着这一目标。

苹果在专利文件中介绍,戒指设备的外壳可能会有各种传感器,包括力传感器、超声波传感器、惯性测量单元、光传感器和触摸传感器等等,来收集用户的输入信息。

智能戒指可以拉伸开来,形成一个覆盖手指关节的“指套”,上也会有传感器,能够测量手指弯曲了多少,作为另外的控制单元。

此外,苹果还提出,能在戒指上添加旋钮和其他输入元件,来增强它的控制功能。

这些并不是苹果智能戒指的全部。

2019年10月份,苹果获得“可穿戴电子戒指计算设备的设备、方法和用户界面”(Devices,Methods,and User Interface for a Wearable Electronic ring Computing Device)专利。

专利文件中描述,智能戒指设备由处理器、无线收发器、电源和麦克风组成,还支持NFC通信,辅助设备发送关于用户的识别信息。

苹果还在专利中提到了戒指上的触摸屏,可用于输入用户手写的字符——与Apple Watch类似。

一个月之后,苹果再次获得相关专利,提出智能戒指可以辅助AR或者VR设备,来检测用户的动作。这次提出智能戒指能够拉伸当做指套,可以理解为这一动作的延续。

虽然细节很丰富,但苹果戒指还停留在专利阶段,具体开发到哪里,仍旧没有信息传出。不过,已经有科技巨头推出了智能戒指产品。

亚马逊已经开卖智能戒指

2019年9月,亚马逊召开秋季硬件发布会上,围绕物联网生态,一口气推出了一大波新品,不仅有音箱,还有智能眼镜,以及智能戒指。

亚马逊的智能戒指名为Echo Loop,采用钛合金框架,配备触觉引擎,扬声器和两个麦克风,并内置了语音助手Alexa。此外,Echo Loop能通过振动提醒用户有新消息或来电。

产品售价为129.99美元,约合人民币905元。不过产品还处于试验阶段,仅限于邀请购买。

相比之下,这一戒指功能并不如苹果专利文件中描述的丰富,智能戒指的可能性有待进一步开发。

不过同样要注意的是,苹果的这些专利,仍旧停留在设计阶段。而且苹果每周都会申请大量专利,具体哪些专利能够落地,尚不得可知。

但苹果持续申请同一类型产品专利,并且具有很强延续性,意味着产品落地的可能性很大。

如果苹果智能戒指真的问世,你会购买吗?为什么?

学习计划 | 关注AI发展新动态

内参新升级!拓展优质人脉,获取最新AI资讯&论文教程,欢迎加入AI内参社群一起学习~

AI社群 | 与优秀的人交流


量子位 QbitAI · 头条号签约作者


վ'ᴗ' ի 追踪AI技术和产品新动态


喜欢就点「在看」吧 ! 



登录查看更多
0

相关内容

苹果电脑公司(Apple Inc.) 设计并创造了 iPod 和 iTunes、Mac 便携式和台式电脑、OS X 操作系统以及革命性的 iPhone 和 iPad。 http://www.apple.com (全球) apple.com.cn (中国)
【干货书】流畅Python,766页pdf,中英文版
专知会员服务
227+阅读 · 2020年3月22日
图说报告 | “智能+”的终极版图:数字孪生世界
人工智能学家
24+阅读 · 2019年8月20日
【数字孪生】工业互联网支持下的数字孪生车间
产业智能官
21+阅读 · 2019年6月3日
【数字孪生】数字孪生的前世今生及未来之路
产业智能官
31+阅读 · 2019年1月22日
苹果首次披露Siri声纹识别技术
AI前线
6+阅读 · 2018年4月17日
抖音的 2017 和它背后的黑科技
PingWest品玩
8+阅读 · 2018年1月4日
【智能客服】智能客服2.0,数字时代的人性化交互
产业智能官
13+阅读 · 2017年11月13日
【物联网】5G时代的智能边缘计算AI-EC平台
产业智能官
6+阅读 · 2017年10月9日
【前沿】凌空手势识别综述
科技导报
12+阅读 · 2017年8月17日
Arxiv
14+阅读 · 2018年4月18日
Arxiv
3+阅读 · 2015年5月16日
VIP会员
相关VIP内容
【干货书】流畅Python,766页pdf,中英文版
专知会员服务
227+阅读 · 2020年3月22日
相关资讯
图说报告 | “智能+”的终极版图:数字孪生世界
人工智能学家
24+阅读 · 2019年8月20日
【数字孪生】工业互联网支持下的数字孪生车间
产业智能官
21+阅读 · 2019年6月3日
【数字孪生】数字孪生的前世今生及未来之路
产业智能官
31+阅读 · 2019年1月22日
苹果首次披露Siri声纹识别技术
AI前线
6+阅读 · 2018年4月17日
抖音的 2017 和它背后的黑科技
PingWest品玩
8+阅读 · 2018年1月4日
【智能客服】智能客服2.0,数字时代的人性化交互
产业智能官
13+阅读 · 2017年11月13日
【物联网】5G时代的智能边缘计算AI-EC平台
产业智能官
6+阅读 · 2017年10月9日
【前沿】凌空手势识别综述
科技导报
12+阅读 · 2017年8月17日
相关论文
Top
微信扫码咨询专知VIP会员