微软也要出双屏手机了?

2018 年 2 月 3 日 科技美学

虽说微软推出了Windows Phone,但这只是暂时的,毕竟他们私下可是一直都没有停止新手机的研发,一切就绪后就是他们重启的时刻。

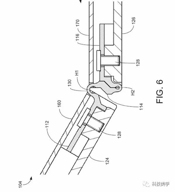
现在,有爆料达人在推特上送出了四个微软新专利,其都跟Surface Phone有关,也就是说微软真的在秘密研发这款号称要默秒全的手机。

从这些专利来看,微软都在围绕打造一个自由翻转的折叠屏手机而努力,其想要让两个不同的折叠式显示屏,通过铰链的连接后,通过不同的旋转来开启不同的功能和用途。

比如两个屏幕彼此旋转360度,当显示屏处于平板位置时,这时它就变身一台便携移动平板。

之前,微软工程师谈论语音助手小娜与Android的整合存在问题时候,不经意间透露了Surface Phone的动向,而官方也表示这款手机的确正在研发中。

而从布局和节奏上看,今年推出的可能性很大,极有可能是与Windows Polaris在年底一起被推出。

据悉,微软的这部革命性手机内部代号 'Andromeda'(仙女座),会采用双屏折叠设计,合起来是手机的形态,而展开后就是个微型电脑。

其属于One Core大框架下的产品,所以运行的是Windows Core OS(核心操作系统),从这个角度来说,这的确能称得上是一款X86架构形态下的手机了。

Windows 10迄今为止已经发布了五个重大版本,而每个版本的支持期限只有一年半到两年,其中最初的RTM正式版(Version 1507)已经结束。

微软今天宣布,Windows 10教育版、企业版的每个版本都将额外享受6个月的支持期限,而家庭版、专业版保持不变。

比如第一个重大升级版本Version 1511(11月升级版)原本在2017年10月10日到期了,而现在教育版和企业版将持续到2018年4月10日,在那之前都可以继续得到常规和安全补丁。

Version 1607(周年更新版)、Version 1703(创意者更新版)、Version 1709(秋季创意者更新版)则会分别在2018年10月9日、2019年4月9日、2019年10月8日到期。

微软还宣布,Windows 10教育版、企业版的企业用户如果不能在支持结束前升级,可以付费获得微软支持,但具体费用未公布。

Windows 10的下一个重大升级版本(代号Redstone 4)将在今年3月份正式发布,而未来Windows 10每年都会坚持两次重大升级,好处是系统会得到不断增强和优化,而坏处就是……版本实在太多太乱了。

并且据外媒theverge报道,微软将为在下个月为Windows Defender新增一个重要功能,这个功能可以识别一些“流氓优化”软件,并对其进行封杀。

微软已经宣布,Windows Defender已经开始移除那些具有“强制信息”或“误导内容”的软件,这些软件会用恐吓形式来逼迫你支付额外的服务费用进行无用的操作。

这类软件通常被称为scareware,它们的套路一般先是提示你你的系统存在风险或需要进行优化,进而提示你可以下载付费软件来优化你Windows电脑上的注册表,保证电脑可以加速运行。

微软Windows团队的Barak Shein表示:“这些流氓软件先是对你正常的电脑进行扫描,然后恶意报错,再使用强制性的信息来恐吓客户,让他们购买付费软件。”“当你购买了付费软件后,它们又对电脑进行扫描,称解决了免费版本所发现的问题。”

微软发现这些应用程序对普通Windows用户来说是非常恶意的,因此Windows下个月的更新将把这些应用归类为“不需要的软件”,并将它们从电脑上删除。这类垃圾软件已经存在了很多年了,但还是很高兴看到微软采取行动抵制它们。微软表示将于3月1日开始移除这些应用,开发者可以在相应的门户网站上测试他们的软件是否合规。

近期文章精选:

三大电视游戏主机体验:索尼PS4Pro/微软XboxOneX/任天堂Switch

苹果高通都怕它,欧盟丨中兴折叠屏手机AxonM开箱

全年销量总排名,10家最强手机厂商和你想的一样吗

魅族调整策略,高管真怒了,联发科高通三星谁是未来

华为全面进军美国,但没进去 | 科技美学

全球手机电脑又有大危险了,赶紧升级


商务合作  kejimeixue@163.com


登录查看更多
0

相关内容

微软 (英文名称:Microsoft;中文名称:微软公司或美国微软公司)始建于1975年,是一家美国跨国科技公司,也是世界PC(Personal Computer,个人计算机)软件开发的先导,由比尔·盖茨与保罗·艾伦创办于1975年,公司总部设立在华盛顿州的雷德蒙德(Redmond,邻近西雅图)。以研发、制造、授权和提供广泛的电脑软件服务业务为主。
专知会员服务
39+阅读 · 2020年6月7日
打怪升级!2020机器学习工程师技术路线图
专知会员服务
99+阅读 · 2020年6月3日
【ACL2020-Google】逆向工程配置的神经文本生成模型
专知会员服务
17+阅读 · 2020年4月20日
【WWW2020-微软】理解用户行为用于文档推荐
专知会员服务
36+阅读 · 2020年4月5日
德勤:2020技术趋势报告,120页pdf
专知会员服务
192+阅读 · 2020年3月31日
专知会员服务
239+阅读 · 2020年1月23日
谷歌之困:谷歌为什么做不好硬件?
ZEALER订阅号
3+阅读 · 2019年11月21日
微软小冰:全双工语音对话详解
AI100
7+阅读 · 2019年2月10日
微软人工智能大会开幕,亮点众多
科技美学
4+阅读 · 2018年5月21日
百度也跨界了? 腾讯阿里:我觉得OK
FinTech前哨
6+阅读 · 2017年10月23日
Arxiv
8+阅读 · 2019年5月20日
Neural Architecture Optimization
Arxiv
8+阅读 · 2018年9月5日
Arxiv
5+阅读 · 2018年3月6日
Arxiv
8+阅读 · 2018年1月12日
Arxiv
5+阅读 · 2016年12月29日
VIP会员
相关VIP内容
专知会员服务
39+阅读 · 2020年6月7日
打怪升级!2020机器学习工程师技术路线图
专知会员服务
99+阅读 · 2020年6月3日
【ACL2020-Google】逆向工程配置的神经文本生成模型
专知会员服务
17+阅读 · 2020年4月20日
【WWW2020-微软】理解用户行为用于文档推荐
专知会员服务
36+阅读 · 2020年4月5日
德勤:2020技术趋势报告,120页pdf
专知会员服务
192+阅读 · 2020年3月31日
专知会员服务
239+阅读 · 2020年1月23日
相关资讯
谷歌之困:谷歌为什么做不好硬件?
ZEALER订阅号
3+阅读 · 2019年11月21日
微软小冰:全双工语音对话详解
AI100
7+阅读 · 2019年2月10日
微软人工智能大会开幕,亮点众多
科技美学
4+阅读 · 2018年5月21日
百度也跨界了? 腾讯阿里:我觉得OK
FinTech前哨
6+阅读 · 2017年10月23日
相关论文
Arxiv
8+阅读 · 2019年5月20日
Neural Architecture Optimization
Arxiv
8+阅读 · 2018年9月5日
Arxiv
5+阅读 · 2018年3月6日
Arxiv
8+阅读 · 2018年1月12日
Arxiv
5+阅读 · 2016年12月29日
Top
微信扫码咨询专知VIP会员