Paper Reading | NIPS 2017对抗样本攻防赛冠军廖方舟的算法分享

2017 年 12 月 29 日 MomentaAI MomentaAI

Momenta,打造自动驾驶大脑。


我们致力于打造一个自动驾驶学术前沿知识的分享沟通平台,深入浅出让你轻松读懂AI。


感谢Momenta高级研究员胡杰主笔成文。


Momenta致力于打造自动驾驶大脑,我们对技术与算法的痴迷,促使我们对一切智能的渴求。本次我们邀请廖方舟来到Momenta,为我们带来2017年最后一期Paper Reading。


Momenta Paper Reading 第13期回顾


【主讲人:廖方舟


清华大学化学生物学学士,清华大学生医系在读博士。


研究兴趣:计算神经学、机器学习、计算机视觉。


参加过多次Kaggle比赛,曾获2017年“数据科学碗”第一名,Data Science Bowl第一名,NIPS 2017对抗样本攻防比赛第一名。


本场Paper Reading的主题是NIPS 2017对抗样本攻防比赛的算法分享。


对抗样本是一类被恶意设计来攻击机器学习模型的样本。它们与真实样本的区别几乎无法用肉眼分辨,但是却会导致模型进行错误的判断。对抗样本的存在会使得深度学习在安全敏感性领域的应用收到威胁,如何对其进行有效的防御是重要的研究课题。我们提出了动量迭代快速符号化梯度法和高层引导去躁算法,分别应用于对抗样本的攻击和防御,取得了NIPS 2017对抗样本比赛的冠军。


1

背景知识篇


什么是对抗样本?如下图所示,通过在自然图片上加入一些人工噪声来“欺骗”神经网络,使得神经网络输出错误的预测结果。



再看下图的第一行,它表示的是识别不同鸟类的网络,高亮的部分是网络中神经元有响应的部位,可以看出响应基本集中在鸟的头部,即网络通过识别鸟的头部特征来给出预测的鸟类结果。


下图第二行是一些对抗样本在该网络上的表现,可以看到网络在这些图像的响应部位与鸟的头部非常相似,此时网络会以较高的概率将这些图像错误地识别成某些鸟类。



从上面可以看出,对抗样本可以用来欺骗网络,那么我们如何生成这些对抗样本来攻击网络呢?


一种最简单的攻击方法叫做快速梯度法(见下图),给定一张图像,输入给神经网络,得到预测结果,然后用梯度下降法修改一下原图使得预测结果变差。


一个推广的方法叫做迭代梯度法,就是对刚才的过程进行多次重复。这种攻击称作白盒攻击,因为假设攻击者已经知道了要被攻击的模型的所有细节。而与之相对的就是黑盒攻击,顾名思义,攻击者事先不知道要攻击网络的模型和具体细节。



了解完背景知识后,下面我们正式进入NIPS攻防赛的实战。


比赛共分为三个项目,第一项是targeted attack,给定类别和图像库,目标是使得库中的图像都被错分到给定类别上。第二项是non-target attack,即事先不知道需要攻击的网络细节,也不指定预测的类别,生成对抗样本来欺骗防守方的网络。最后一项是defense,抵御前两个项目的攻击,即需要将前两个项目生成的对抗样本分类到正确的类别上。具体的攻防对抗流程和评分标准见下图:



2

攻击篇


首先来试一下使用上面提到的FGSM方法进行白盒和黑盒攻击的效果(见下图):



其中纵轴表示使用FGSM在这些网络上生成对抗样本,给定1000张图片,每张原始图片生成一张对抗样本,即每个网络生成了1000张对抗抗本。


将纵轴对应的网络生成的对抗样本应用在横轴对应的网络上,得到正确分类的图像数目。可以看出红色的部分(对角线),在不使用对抗样本训练时,准确率非常低,但是其推广性不强,即用自己生成的对抗样本攻击自己是有效果的,但是攻击别的网络效果不是很好。

 

接着,我们使用迭代的FGSM方式来生成对抗样本增加了白盒攻击的成功率,但是却降低了黑盒攻击的成功率。


那么如何同时保证白盒攻击成功率和黑盒攻击成功率呢?我们发现了一个解决方法,即通过在FGSM迭代过程中加入Momentum。公式如下所示:



使用上述动量迭代法后,白盒和黑盒攻击成功率均有了明显的上升。最终,促使我们在NIPS攻防赛的targeted attack和non-targeted attack项目中得分遥遥领先,成功夺冠。



3

防守篇


刚才我们一直在说如何生成对抗样本,下面我们来讨论如何防御这些对抗样本。


实际上,对抗样本是在原始自然图像中加入了一些特定的噪声生成的,这些噪声并不是人眼不可辨的,我们把图像局部放大还是能够明显看出来存在非常大的差别的。



很自然想到的一个方法来抵御这些对抗样本--图像去噪。目前比较常见的两种图像去噪方法:一种是传统的图像抗噪方法,如中值滤波或者BM3D去噪。另一种是使用神经网络的方法


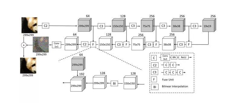
首先我们尝试了传统去噪法,但是效果不佳,于是我们来试试用神经网络进行去噪的方法。我们使用了存在跨层连接的U-Net结构,并通过上面提到的FGSM方法来生成了大量的对抗样本作为该网络的训练样本。网络结构如下所示:



结果:使用U-Net进行图像去噪,虽然图像上的绝大部分噪声被消除了,但是并没有增加分类准确率。也就是说,使用该方法将图像去噪后并不能有效抵御攻击。


如果我们研究一下噪声对于深层神经网络表示的影响。如下图所示,其中PGD(Pixel Guided Denoiser)指的就是上述图像去噪方法,我们将对抗样本和去噪后的图像输入到网络中,计算网络每一层的特征的距离。可以发现如果只是普通的噪声,比如高斯噪声,这些噪声的影响会随着网络的加深而逐渐变小;但是对于对抗样本的噪声,这些噪声的影响会随着网络的加深而逐渐变大。这一趋势在图像经过基本的去噪后仍然存在。



既然直接在输入图像上来消除噪声(PGD)并不能减少对抗样本中噪声带来的影响,那么我们直接将损失函数直接加在网络高层的特征层上(HGD)是不是可以抑制误差的放大。



其中,根据损失函数的添加位置和类型,我们提出了三种HGD:FGD、LGD和CGD。其中FGD和LGD不需要样本的标签信息,只需要将原图和对抗图像同时输入网络后拿到对应层的特征就好,属于非监督学习;而CGD和普通的分类网络训练一样需要类别标签,让网络对于对抗样本也能分到原图的类别上,属于监督学习。



从下图表可以看出,相比于PGD,使用了HGD后各层的误差都减少了很多。三种HGD均表现出了不俗的抗噪性能



另外,HGD具有可迁移性。将在一个网络上训练好的抗噪器借给另一个完全不同的网络用,也会起到不错的抗噪效果,但是值得注意的是将多个抗噪器放在一起组合使用不如单独使用效果好。


使用了HGD策略,我们最终在NIPS攻防赛的防守项目中大比分领先其他队伍,斩获桂冠。



最后总结一下HGD的好处和不足:


好处: 可以获得更高的抗噪性能;需要更少的训练样本和训练时间;具有可迁移性。


不足: 前提假设是对抗样本噪声是可检测到的;不能完全解决样本对抗问题;仍然容易遭受白盒攻击。



Momenta欢迎有梦想,有能力的技术人才加入我们,如果对NIPS对抗样本攻防比赛详细内容感兴趣,可点击文末“阅读原文”查看完整PPT与论文,密码:2qc9。


Momenta,打造自动驾驶大脑。


Momenta致力于打造自动驾驶大脑,核心技术是基于深度学习的环境感知、高精度地图、驾驶决策算法。产品包括不同级别的自动驾驶方案,以及衍生出的大数据服务。


Momenta有世界顶尖的深度学习专家,图像识别领域最先进的框架Faster R-CNN和ResNet的作者, ImageNet 2015、ImageNet 2017、MS COCO Challenge 2015等多项比赛冠军。团队来源于清华大学、麻省理工学院、微软亚洲研究院等,有深厚的技术积累和极强的技术原创力。


我们因同一个梦想相聚,真诚期待你的加入! 

登陆www.momenta.ai了解更多精彩。


扫描二维码,关注MomentaAI公众号


点击“阅读原文”,获取完整版分享PPT与论文

登录查看更多
1

相关内容

对抗样本由Christian Szegedy等人提出,是指在数据集中通过故意添加细微的干扰所形成的输入样本,导致模型以高置信度给出一个错误的输出。在正则化背景下,通过对抗训练减少原有独立同分布的测试集的错误率——在对抗扰动的训练集样本上训练网络。 对抗样本是指通过在数据中故意添加细微的扰动生成的一种输入样本,能够导致神经网络模型给出一个错误的预测结果。 实质:对抗样本是通过向输入中加入人类难以察觉的扰动生成,能够改变人工智能模型的行为。其基本目标有两个,一是改变模型的预测结果;二是加入到输入中的扰动在人类看起来不足以引起模型预测结果的改变,具有表面上的无害性。对抗样本的相关研究对自动驾驶、智能家居等应用场景具有非常重要的意义。
Yoshua Bengio最新《深度学习》MLSS2020教程,附104页PPT及视频
专知会员服务
134+阅读 · 2020年7月10日
【中科院自动化所】视觉对抗样本生成技术概述
专知会员服务
37+阅读 · 2020年4月15日
【Google-CMU】元伪标签的元学习,Meta Pseudo Labels
专知会员服务
32+阅读 · 2020年3月30日
【浙江大学】对抗样本生成技术综述
专知会员服务
92+阅读 · 2020年1月6日
【Science最新论文】XAI—可解释人工智能简述,机遇与挑战
专知会员服务
165+阅读 · 2019年12月21日
专知会员服务
37+阅读 · 2019年12月13日
CVPR 2019 | 微软亚洲研究院7篇精选论文解读
微软研究院AI头条
23+阅读 · 2019年6月18日
FoveaBox,超越Anchor-Based的检测器
极市平台
10+阅读 · 2019年4月22日
干货 | 对抗样本的基本原理
AI科技评论
7+阅读 · 2018年6月9日
Faster R-CNN
数据挖掘入门与实战
4+阅读 · 2018年4月20日
产生和防御对抗样本的新方法 | 分享总结
AI研习社
7+阅读 · 2018年1月6日
计算机视觉专题分享总结(附PPT)
机器学习读书会
43+阅读 · 2017年7月6日
Arxiv
8+阅读 · 2019年2月15日
Arxiv
7+阅读 · 2018年3月21日
VIP会员
相关VIP内容
Yoshua Bengio最新《深度学习》MLSS2020教程,附104页PPT及视频
专知会员服务
134+阅读 · 2020年7月10日
【中科院自动化所】视觉对抗样本生成技术概述
专知会员服务
37+阅读 · 2020年4月15日
【Google-CMU】元伪标签的元学习,Meta Pseudo Labels
专知会员服务
32+阅读 · 2020年3月30日
【浙江大学】对抗样本生成技术综述
专知会员服务
92+阅读 · 2020年1月6日
【Science最新论文】XAI—可解释人工智能简述,机遇与挑战
专知会员服务
165+阅读 · 2019年12月21日
专知会员服务
37+阅读 · 2019年12月13日
相关资讯
CVPR 2019 | 微软亚洲研究院7篇精选论文解读
微软研究院AI头条
23+阅读 · 2019年6月18日
FoveaBox,超越Anchor-Based的检测器
极市平台
10+阅读 · 2019年4月22日
干货 | 对抗样本的基本原理
AI科技评论
7+阅读 · 2018年6月9日
Faster R-CNN
数据挖掘入门与实战
4+阅读 · 2018年4月20日
产生和防御对抗样本的新方法 | 分享总结
AI研习社
7+阅读 · 2018年1月6日
计算机视觉专题分享总结(附PPT)
机器学习读书会
43+阅读 · 2017年7月6日
Top
微信扫码咨询专知VIP会员