抢占人行道!最后一里的竞赛正在展开,递送机器人是惹人爱还是讨人厌?

2018 年 5 月 4 日 DeepTech深科技 詹子娴


美国总统特朗普与科技公司的大佬们不太对盘是众所皆知,近来被特朗普炮轰最严重的莫过于亚马逊了,特朗普多次抨击亚马逊用美国邮政(USPS)的资源来送包裹,但签订的费率太低,跟骗局(scam)没两样,使得 USPS 少赚数十亿美元,而亚马逊却荷包赚满。

 

就在几天前,亚马逊宣布了在美国 37 个城市推出一项新计划,让快递员直接把包裹送到用户汽车的后车厢里,并且与通用汽车及沃尔沃签署了一项为期两年的合约,这两家汽车的车主都可以使用这个服务。此项服务虽是亚马逊 CEO Jeff Bezos 对特朗普的一项“无声”的反击,但其实更值得注意的是,亚马逊正无所不用其极的想要改变最后一里的递送模式,从先前的无人机、送货机器人(Delivery Robot)、到现在的送货到后车厢。

 

目前试图解决配送最后一里痛点的新科技,可以说是有天上飞、以及地上走两大类,天上飞的像是无人机,而地上走的则是递送机器人。

 

无人机有几个大问题,一是电池续航力,二是能乘载的货物重量较为受限,三是安全疑虑较高,不过优点就是快速,在紧急情况无人机会是一个很好的选择,而地面递送机器人的优劣势就相反,因此两者技术虽有竞争,但对服务业者来说,可以是互补的选项。

 

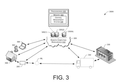
例如,许久前就已经在测试无人机送货的亚马逊,也在研究地面递送机器人,日前美国专利商标局发布了一项亚马逊申请的专利,论述了“自主地面车辆”(autonomous ground vehicle),可以从运输的货车上接走货物,进而运送到人的门前,甚至还可以把货物送进房屋里。

 

图|亚马逊的地面自主交付车辆专利申请图

 

图|亚马逊同样在研发递送机器人以解决最后一里的问题

 

其实大家着眼的都是同一件事—把货交到消费者手上,最后一里不论是家、办公室,还是亚马逊想的车子后车厢。

 

不久前在网上曝光了一段阿里巴巴旗下的菜鸟网络 ET 实验室所研发的送货无人车,在公开道路测试的视频,菜鸟在 2016 年开始陆续推出了末端配送机器人小 G、小 G Plus 以及小 G2 代,在阿里巴巴西溪园区、大学校园运送包裹。

 

另外,京东在去年中旬宣布自主研发的配送机器人正式启用,初期以高校、园区递送为主,前阵子也对外展示了升级到第三代的配送机器人,主要应用于城市配送业务,从站点配送至写字楼、居民区便民店、别墅区及园区等。

 

在太平洋另一端的美国,递送机器人更是已经进入了快速发展的时点,专攻递送机器人的旧金山初创公司 Marble 刚刚完成了 A 轮 1000 万美元的融资,投资方包括了腾讯。在商业面,Marble 也拿到下了一些重要客户,像是知名订餐网站 Yelp 、送餐网站 DoorDash,并在旧金山提供服务。另外,从创始团队来自麻省理工学院(MIT)的 Robby 、由 Skype 联合创始人 Ahti Heinla、 Janus Friis 所成立的 Starship 等都是递送机器人主要的业者。也因为商机看好,在大小公司的加入下,一场人行道上的攻城略地大战正在上演。

 

解决最后一里的痛点

 

为什么货物递送的最后一里是件重要的事,“因为最后一里交付的成本很高,”硅谷送货机器人初创公司 Robby 联合创始人 Dheera Venkatraman 一语道出重点。最后一里的包裹递送是整个递送服务流程中成本最高的一环,大概占 55% 以上,主要出自于劳动力,特别是在劳动力短缺的年代,若细分到食物外送方面来看,最后一里占整体成本的比例会更高。

 

图|不论是在 B2B 或 B2C 的最后一里递送,劳动力都是最大的成本(图片来源:statista

 

根据 DT 君的亲身体验,美国短程的快递费用大概在 5~15 美元,在食物外送部分,递送成本更高,以 Uber Eats 在硅谷的服务为例,一般会收取 5 美元的递送费,而且繁忙时段还得加钱,因此有时候用户支付的递送费甚至比订购的食物还贵,另一家知名的送餐网站 DoorDash 有时会提供免费送餐,但可能会要求订单在一定金额以上如 20、30、40 美元才能享有免递送费,取决于餐厅的规定。而以机器取代人力的送货机器人就被视为是能有效降低最后一里成本的一项应用。

 

调研机构 Market Insights Reports 便指出,自主递送机器人(Autonomous Delivery Robots)在各种最终用途(end-use)行业受到欢迎,特别是欧美人力成本高,欧美监管机构陆续针对递送机器人提出规范,随着法规逐渐到位,将会有越来越多的当地商业业主如餐厅、订餐网站、快递公司等采用。像是知名的比萨公司 Domino 就与 Starship 签约,在荷兰、德国部分地区提供机器人送比萨的服务。预期在北美、欧洲的高采用率带动下,市场在 2016~2024 年的年复合增长率将达 14.5 %。

 

图|递送机器人的初创公司正在崛起,企图改变原来的递送行业。(图片来源:DT 君)

 

机器人送外卖少了 75%成本

 

DT 君在硅谷采访了 Robby,两位联合创始人都是在 MIT 完成了博士学位,一位是李瑞,专攻计算机视觉及机器学习,另一位 Dheera Venkatraman 不仅从六岁就开始编程,喜欢动手打造机器人,是 LiDAR、3D 视觉的高手,还能讲一口流利中文。

 

目前 Robby 递送的东西以食物、生鲜为主,递送距离为 3~5 公里,客户包括订餐业者、餐厅、生鲜公司等,美国知名递送服务公司 Postmates 就是客户之一,去年底 Robby 就与 Postmates 和著名的节目美食真人秀 Top Chef 在好莱坞发起了送餐活动,同时用 8 台 Robby 机器人,在好莱坞送了三天的外卖,平均一天午餐可以送 30~40 单。

 

图| Robby 二代机器人充一次电可以跑 20 里(图片来源:DT 君)

 

图| Robby 二代机器人上下路槛(图片来源:DT 君)


除了好莱坞,测试地点包括旧金山、硅谷的山景城、Palo Alto、洛杉矶等加州多个城市,总计完成了超过 4000 里的测试,没有发生过一起意外事故,“以成本的角度来说,反馈很好,透过机器人可以减少 75% 的递送成本,但效率跟人工差不多,”Dheera Venkatraman 表示。目前大概有 10 台的 Robby 机器人每天在路上执行任务。

 

自动驾驶技术的一种应用

 

谈到自动驾驶技术,很多人先想到的无非是 Waymo、Uber 的无人驾驶汽车,递送机器人其实也是自动驾驶的一种应用,虽然行进速度不像一般汽车那么快,但不论是辨识行人、自行车、汽车等物体来达到避障、城市地图+LiDAR 的路径规划(routing)、定位、与行人互动等,这一台看起来小小的箱子都做得到。

 

Robby 每小时速度是 3~6 里,大概就像是人在慢跑时的速度,充一次电可以跑 20 里,在上下路槛时完全一派轻松,另外,旧金山是以陡峭地形出了名,最陡的路段坡度是 22 度,Robby 在坡度 40 度以内都能正常运作,“在晚上、下雨天时运送也没问题,”李瑞说,但是它们无法爬楼梯。

 

目前各家递送机器人的外型设计不会差异太大,甚至还都很像,Robby 的优势在于快速落地以及成本。在感测器部分,Robby 虽然也有采用 LiDAR,但使用的线数较少,“主要是使用摄像头方案搭配自行研发的计算机视觉软件”来达到高准确率,“有些业者买多线数 LiDAR 的钱,就可能比我们整个系统还贵了,”Dheera Venkatraman 说。

 

此外,就是比谁的落地快。Dheera Venkatraman 举例,其他对手进入一个城市,需要先建立 3D 地图,大概需要一至数个月来扫描,时间视城市大小而有不同,但 Robby 的做法是“建立 2D 地图加上特殊算法”,机器人的定位精确度可以达到数公分之内,不过,他们进到一个新城市,只要几天就能把地图建好,在落地进度以及拼规模化(Scaling)能更具优势。

 

“如果有人想要偷走里面的东西,甚至是把机器人抱走,会怎么样?”DT 君询问。李瑞笑说,大概有 95% 的人都会问这个问题,他解释,他们采取了多种安全设计,除了订户才能打开箱子的电子锁设计外,使用了三种定位追踪技术,一个是 GPS,其他两种不便透露。同时,当机器人感受到大力碰撞、或试图想推倒、抱走它,机器就会立刻发出紧报声响,另外也有摄像功能。

 

图| Robby 联合创始人李瑞(左)及 Dheera Venkatraman(右)(图片来源:DT 君)

 

经过了实地测试后,Robby 也调整、新增了一些功能,开发出二代机器人,除了体积稍微加大,最多可以运送 30 公斤左右的货物,很特别的是,第一代机器人在行进过程几乎没有什么噪音,但考量到为了让行人留心有机器人靠近,因此特意让二代机器人移动时有一点声音。另外,也像汽车方向灯一样,准备左右转时,机器人会有灯号显示。在车体上也增加 LED 灯区,让机器人在天黑之后送货,也可以清楚被人车所识别。目前二代机器人正准备开始量产,预计到了明年初合计一、二代机器人就会达到 100 台,后续除了送外卖、生鲜,也会扩大到递送包裹。

 

与行人抢道,惹人烦

 

这场人行道大战,除了业者之间的竞争之外,其实还包括了机器人与人类的竞争。

 

递送机器人有着呆萌的外型,在路上送货时,多数行人会因为好奇而多注目几眼,不过,当递送机器人越来越多,而且都是跑在人行道上,与行人争道的争议也逐渐浮上台面,难免有些行人觉得它们很碍眼,部分体积很大的机器人甚至占据了整个行人道,先前在旧金山还曾发生有人刻意推倒送货机器人,来发泄不满的情绪。

 

旧金山华裔市议员余鼎昂(Norman Yee)在去年底最初提案要彻底禁止递送机器人,“并非每一项创新对社会来说都是伟大的,”他在接受媒体采访时如此表示,不过,在许多初创公司积极沟通、协商后,公部门愿意采取许可费机制,公司必须获得许可证才能在特定区域如工业区内运作机器人,许可证有效期为 180 天,可以展延,一家公司只能申请一张许可证,最多只能测试三台机器人,一台的测试许可费是 860 美元,而且只能在 6 英尺宽的人行道上行驶,还得随时有一个“人类保姆”跟着。

 

“各个政府都相当关注递送机器人可能对人类造成的安全问题,更严重的是,对残疾人士权益的影响,这些问题必须很小心,”Dheera Venkatraman 直言。

 

因此他们在设计时,更关心体积不宜过大,例如二代 Robby 的体积小于一般人行道宽度的 1/2,以及与人类互动、感受的问题,李瑞举例,当 Robby 机器人被人挡住时,会说“Excuse Me”,行人让道后,还会有礼貌的说声“Thank You”。第一代 Robby 外型方正,“很多人反应,看起来有点冰冷”,二代就改成胖胖圆圆的造型,就像一个小型的宠物。

 

不过也有一派声音认为,如此严格的规范将大幅减缓了递送机器人的测试进度,以及投入市场的潜力。确实,以创新、创业为首的旧金山,在递送机器人的限制算是相当严格,也跟其他城市的态度不太一致,例如加州的其他地区,包括 Sunnyvale 、Redwood City、San Carlos、Concord 都已经批准了试点计划,另外哥伦比亚特区、爱达荷州、威斯康辛州、弗吉尼亚州、佛罗里达州和俄亥俄州也通过法案,允许递送机器人使用人行道。

 

顾问公司麦肯锡曾发布一份《货物递送,最后一里的未来》(Parcel Delivery, The Future of Last Mile)报告,预测在未来消费者递送市场中,未来将有 80% 的物件由自主机器来完成递送,包括递送机器人、无人机,因为消费者总是追求最短的运送时间,以及更便宜的方案。所以,要完全禁止递送机器人,让它们完全消失并不容易,也不切实,更重要的是,在这场人行道的大战中,如何透过监管制度来管理这些机器人,以及维护行人的用路权益,才是最有效的做法。


-End-


登录查看更多
0

相关内容

亚马逊公司是一家总部位于美国西雅图的跨国电子商务企业,业务起始于线上书店,不久之后商品走向多元化。目前是全球最大的互联网线上零售商之一,也是美国《财富》杂志2015年评选的全球最大500家公司的排行榜中的第88名。 维基百科
【干货书】《机器学习导论(第二版)》,348页pdf
专知会员服务
250+阅读 · 2020年6月16日
【经典书】机器学习高斯过程,266页pdf
专知会员服务
235+阅读 · 2020年5月2日
【德勤】中国人工智能产业白皮书,68页pdf
专知会员服务
310+阅读 · 2019年12月23日
未来20年(2019—2039)的50个技术预测
全球创新论坛
5+阅读 · 2018年12月16日
噩耗再次传来!华为,挺住!
FinTech前哨
4+阅读 · 2018年2月4日
2017年计算机视觉创业投资现状及未来趋势
计算机视觉life
3+阅读 · 2018年1月25日
中国倒数第五!毕马威全球自动驾驶报告|附下载
人工智能学家
7+阅读 · 2018年1月21日
无人驾驶汽车
劲说
6+阅读 · 2016年8月26日
Real-time Scalable Dense Surfel Mapping
Arxiv
5+阅读 · 2019年9月10日
Scale-Aware Trident Networks for Object Detection
Arxiv
4+阅读 · 2019年1月7日
Arxiv
4+阅读 · 2018年5月24日
Arxiv
5+阅读 · 2018年4月17日
VIP会员
相关资讯
未来20年(2019—2039)的50个技术预测
全球创新论坛
5+阅读 · 2018年12月16日
噩耗再次传来!华为,挺住!
FinTech前哨
4+阅读 · 2018年2月4日
2017年计算机视觉创业投资现状及未来趋势
计算机视觉life
3+阅读 · 2018年1月25日
中国倒数第五!毕马威全球自动驾驶报告|附下载
人工智能学家
7+阅读 · 2018年1月21日
无人驾驶汽车
劲说
6+阅读 · 2016年8月26日
Top
微信扫码咨询专知VIP会员