如何用增长黑客思维从0到1做一个公众号?

2018 年 4 月 26 日 三节课 Alan@增长黑盒

没有预算,只有两人,如何用增长黑客思维从0到1做一个公众号?这篇文章中,Alan&Yolo会抛砖引玉,用万字长文完整复盘众号《增长黑盒》2018年一季度的增长过程。

注:本文来源于微信公号“增长黑盒”,三节课已联系作者获得授权。


一、概述


简单的介绍一下:《增长黑盒》是Alan&Yolo折腾了大半年的一个公众号,他们俩2018年年初才下定决心全职做这个媒体,专注研究“增长黑客”。鉴于《增长黑盒》是一个专注研究“增长”的媒体,除了写别人的案例,他们自己做到增长才有说服力。所以,他们在一季度给自己定下了不花任何预算,跑通增长黑客转化漏斗的“增长真人秀”任务。


一季度已经结束,先来关注一下他们一季度的粉丝数和营收:

  • 粉丝数从4000增加到17500,增长300%以上。

  • 不接广告,两人仅靠几篇文章,一季度被动收入在30万元左右。


二、你的用户是谁?


根据艾媒报告2017年第一季度的数据,微信公众号数量的增量已经逐渐放缓,野蛮生长的年代似乎已经过了。这意味公众号越来越难做,你没有优质的内容,基本就可以放弃了。





毕竟作为媒体,内容才是核心产品,而微信公众号只不过是一个内容分发渠道。在我们决定做公众号之前,就很清楚地意识到了这个渠道的诸多问题。


我们来根据增长黑客惯用的AARRR转化漏斗来诊断一下每个环节的核心难点:





冷启动获客难:

公众号是订阅式的,没有粉丝就没有阅读。即使有好的内容,如何冷启动一个公众号也是个难点。而信息流就不用考虑粉丝数,只要内容够好就可以根据算法推荐出去,这也是很多信息流APP挤压到微信公众号的一个原因。


激活读者困难:

激活已订阅的读者去阅读文章也很难。据行业人士透露,微信公众号文章的平均阅读率也就5%,打开率约为2%。不夸张的说,这个文章打开率甚至不如垃圾邮件的打开率。而且订阅号每天只能群发一波,这也减少了很多可能性。


留存读者困难:

国外的订阅阅读很多还是基于邮件或者RSS的,而中国似乎已经跨越这个阶段。但这中间的核心问题就在于,有邮件的情况下,你可以主动向读者出击,而在微信生态里你是无法主动和读者对话的。也就是说订阅号没有CRM系统,也做不到用户和线索的培育(lead nurturing),自然留存也就难做。尽管服务号有一定的推送培育用户的功能,但从直观上说,不少服务号的推送还是推式营销(outbound marketing)的一种,类似陌拜电话、垃圾短信,打开率也不会太高。


变现方式有限:

微信官方提供的变现思路就是广告,不过新号小号也是很难参与的,而公众号植入硬广软广对于读者来说也是比较糟糕的体验。


推荐环节有限:

微信自身首先是非常克制的,诱导分享是不合规的。目前大家惯用的微信裂变虽然涨粉比较有效,但是大部分的微信裂变事实上是绑架用户的一种行为,对于用户来说体验不会太好,如何做出真正的口碑营销是个难点。


三、Pre-Launch

先说一下我们为什么选择做增长黑客媒体这个创业方向,没有好的选题,自媒体自然做不起来,解决再多问题也没有用。


3.1 选择垂直细分领域

李开复在《创业就是要细分垄断》一书中,给出选择创业机会的4个基本条件:

  • 风口

  • 细分领域

  • 社会大变

  • 人口基数大的国家


为什么选择做增长黑客媒体,以下是具体的判断:


a.专注增长是企业趋势:增长黑客这个概念首先由Sean Ellis在2010提出,在2015年由范冰创作同名书《增长黑客》从而正式引入中国。


在2017年的3月底,可口可乐突然宣布将取消CMO(首席营销官)一职,取而代之的是CGO(首席增长官)【1】,这也预示着公司架构变革的趋势。并且,从增长黑客的职位设置上来看,增长黑客=产品+运营+技术+营销。也就是说传统的产品经理、营销人、技术人都是被降维打击的对象,或者说以上这些职业都需要全面地补充自己的技能以应对新的竞争环境。


同时,虽然增长黑客在国外的互联网公司可以说是标配了,但国内只有少数互联网公司掌握了其中的奥秘,那就是增长其实是一门实验科学。以今日头条系为例,其增长团队有200多人,统一为旗下产品矩阵制定增长策略。而结果也很显著,今日头条、内涵段子、火山小视频、抖音APP等产品都完成了指数级的增长。


b. “增长”是被低估的垂直细分市场:《哈佛商业评论》曾写过一篇文章名叫“Every Company Needs a Growth Manager”(所有公司都需要个增长经理)【2】。事实上也是这样,增长黑客(Growth hacker)在国外已经是个Buzzword(时髦词)了,但国内却鲜有媒体报道和研究。


国内只有一些增长相关的Saas公司在坚持输出相关内容,但是他们文章都是销售导向型的,很难做到客观中立,远不如国外的数字营销同行。例如Hubspot、Salesforce等等都会生产超高水平的文章为用户提供数字营销指导,从而吸引用户使其产生信任,并最终购买自己的产品。截止2017年,欧美市场有超过5000家Saas公司,用户数字营销的意识也比较强,而中国的Saas市场还相对滞后,但潜力也巨大。


(图中密密麻麻的就是欧美市场中和Marketing有关的Saas工具,简称Mar-tech。2017年有5000多个产品,还只是统计了欧美市场的)


综上,总结一下就是:

  • 企业对增长和能贯彻增长思维的人才有巨大的需求。

  • 在增长领域,国内外有巨大的信息差,我们的创作成本并不高。

  • 国内Saas市场的潜力巨大,无论是教育用户还是推广Saas


所以,我们选择了做增长黑客方向的媒体,不是为了追求短期收益而是为了接触一手数据,尖端人才和最新的技术。


3.2 打磨原创内容


任何增长都基于好的产品,而我们作为媒体的产品就是文章。我在今年1月8号写了一篇文章《人若无名,专心增长》,大致介绍了我们去年打磨文章内容的过程。

《增长黑盒》的两个作者Alan&Yolo原本是搞生物研究的同学,本职工作是做实验写论文。而我们现在的任务就是研究增长的过程,并让它看起来不那么枯燥。另一方面,文章的内容大多是国外公司的增长案例,我们还要做本地化的解读和映射。


通过大半年的摸索,最终我们打磨出了一种有干货感的“增长体”,其中包含一些元素:

  • 要有曲折的故事情节,欲扬先抑

  • 要有案例相关的时间线,数据和细节

  • 每200-300字需要有一幅图解释说明

  • 把增长拆解成转化漏斗,挖掘深层次的动作,力求可复制

  • 广泛寻找Reference,引用大佬的言论,突出一些硅谷元素

  • 写作方式参考学术论文

  • 最后要有自己的思考,总结过去,推演未来


这里是我们今年1月份到2月份之间的几篇原创文章,基本都是万字长文。鉴于公众号当时大约只有7000到15000的粉丝数,这个阅读量还是可以的。





不过,阅读量始终不是我们考量的指标,除了验证文章质量,我们从去年到今年的核心目标都是通过写文章认识有势能的朋友。


(大佬的留言还是给我们很大动力的,只不过我们之前还没找到太好的切入点。还是想再做出点成绩再和大佬们说说,不然只能和大佬尬聊......)


从结果上来说,这个目标应该是完成的还不错了,这对于我们执行下一步计划也是一种信心上的加持。


接下来我们将回归增长黑客的漏斗模型AARRR,从获客(Acquisition)、激活(Activation)、留存(Retention)、变现(Revenue)、推荐(Referal)五个环节完整复盘我们克服困难的增长过程。





四、获客(Acquisition)



4.1 找到目标用户


如何低成本获客是增长黑客要考虑的重要问题之一。

我们的目标用户是增长黑客,那么答案就是去增长黑客经常浏览的地方发优质文章引流。当然,由于国内并没有多少人了解增长黑客,所以我们还必须要找到潜在的对增长黑客感兴趣的人。

增长黑客领域在国内的KOL不多,熟悉的只有范冰和Xdite。更大的方向是找到潜在的增长黑客,如果你还记得刚才的公式:增长黑客=产品+运营+技术+营销,方向会清晰很多。除此之外,创业者也是一大受众,因为创业公司一旦不增长就会死掉,所以创业者比打工者更渴望增长。还有个方向就是国内的互联网流量圈以及出海的跨境电商圈子,大概率也是增长黑客出没的地方。


按照这个思路拆解下来,我们很快就在国内搜到了与之相匹配的渠道。





很多人肯定要问,你们不是做微信公众号吗?为什么要找这么多其他渠道和意见领袖(KOL)?

因为微信自己没有内容分发机制,你要做的就是把你写的微信文章尽可能地分发到这些渠道里,露出你的公众号ID和个人微信ID(注意每个渠道的引流规则!例如是否可以外链,是否可以二维码。毕竟是在别人的地盘上,互惠互利是一个原则)。

除了多渠道分发外,拿下KOL才是冷启动的关键!


4.2 KOL“斩首行动”


斩首行动不是让你去和KOL干架,而是指绕过吃瓜群众,直接向KOL展示你自己。而做这些事情的终极目的就是:希望可以借助他们的力量帮你转发或者是推荐。

想要顺利和KOL合作,你必须向他们证明两个事情:

  • 证明你做的事有价值

  • 证明帮助你是有回报的


这其实和创业者找天使投资很像,只不过你需要的是KOL用自己的信用投资你。

那么你需要做的事情就是:

  • 坚持输出你的价值,并让他们看到

  • 提供KOL需要的东西,证明你可以帮到他们


很多业内大咖都无私地帮助过我们,我们也都记在心里,恩情以后慢慢还!

为了避免变成言情剧,这里只列举两个对我们冷启动影响很大的大咖。


KOL1:范冰


回到17年6月份,范冰大大的第二本书《增长黑客实战》刚刚上市。虽然此时《增长黑盒》的构思才刚刚成型,但蹭热点的第六感已经培养起来了,Yolo第一时间拿到这本新书然后连夜写下了读书笔记的上篇。





说到接触增长黑客,我们也是看了范冰的第一本书《增长黑客》才知道了这个概念,自然而然的我们也加入了范冰的读者微信群。当我们的文章写好后,我们就第一时间发到了范冰的读者群,很快便获得了一些读者,同时也获得了范冰大大的称赞。第一篇文章发出来的时候连粉丝都没有就有上千的阅读,这就是通过KOL找到垂直渠道的一种冷启动方式。


之后每篇文章也都会第一时间发到范大的读者群里,同时我们也在线下建立了更多联系。

在去年国庆的时候,携程捆绑销售被明星韩雪踢爆,我们蹭热点的第六感再次爆发,连夜写下了:《携程遭炮轰的背后:“黑暗模式”正在成为互联网产品的潜规则》。事实上捆绑销售属于Dark Pattern(黑暗模式)的一种,属于误导消费者且违背用户意愿的一种行为。这不是真正意义上的增长,只是一种短期内冲KPI的方法。





这篇文章范大主动转发到了自己的公众号和朋友圈,获得了不错的反响。而范大也进一步认可了我们产出内容的能力,并抛了两个合作的点:

  • 在三节课上合作研发一个增长黑客的课程

  • 合作产出内容,做一个首席增长官的媒体


小半年过去了,三节课的课也应该在内测了,而范大的新号《增长官研究院》也上线了,更多合作也在部署中。


KOL2:曹政


江湖人称曹大,是互联网界非常有名望的KOL,其公众号有很多死忠粉丝,知识星球也有7100个成员。Yolo从第一篇文章起就潜伏到曹大的知识星球去分发,一发就是半年。中间有很表扬,有打赏,也有被删帖的......无论如何,也算是让大佬看到了我们坚持创作的觉悟。


去年,我们一直把粉丝数视为虚荣指标,而核心任务之一是验证文章质量。毕竟我们的内容相对垂直,且很多国外的元素,不精准的粉丝会吐槽内容不接地气从而影响我们判断。实际上,如何把国外的思路应用在自己身上是需要自己举一反三的。经过半年的摸索,我们算是探索出了高质量文章的思路,并找到了PMF(产品市场契合度),所以下一步计划就是扩大规模从而诱发指数增长,而此时KOL的推荐就是指数增长的诱因。


Yolo在2018年1月1号发表了《盘点2017年最热门的增长黑客策略》,希望曹大可以帮我们转发一下这篇文章,文中还假装不经意之间提到曹大的易灵微课。





由于Yolo在曹大的圈子,换着花样发了半年增长黑客主题的文章,大佬多多少少也了解我们的价值观和水平了。曹大表示愿意助我们一臂之力,一来是扶持一下后辈,二来是如果我们发展的好了,未来还有更多合作机会。





曹大的号召力还是强,1月5号转发当天就给我们增加了2000粉丝,两天就帮我们粉丝数翻了一倍。而且次日取消关注人数只有个位数,比过往日均取关人数稍微多了一丢丢,统计下置信区间,有95%的把握强行认为新增的粉丝一个都没有取关,这大概是对我们文章最好的一种嘉奖吧。


反过来说,我们现在虽然还没绑上曹大什么忙,不过我们也会尽力帮易灵微课上面优质的课程做做推广。尤其是下个阶段,我们的“增长黑客”技能树的知识付费导购正在制作中。


五、激活(Activation)





如果你搜索关键词“微信公众号打开率”,可以看到很多唱衰的文章,例如这篇《2%打开率,小马宋、和菜头等大V纷纷唱衰,公众号真的要衰落了吗?》【3】:


“涨粉困难,阅读疲软,近一年来业界人士开始纷纷哀叹阅读量的下滑局面,甚至出现的“5+2”行业趋势预估,即行业平均阅读率(阅读率=阅读量/粉丝数)滑至5%左右,打开率(打开率=公众号会话的人数/粉丝数)则为2%左右。也就说在你的100个粉丝中,有戳开文章意图的人可能只有两个人。”


原因有很多,例如订阅号太多、入口太深。不过这些属于系统性的问题,任何订阅号都无法避免。强行优化打开率的办法可能只有要求用户置顶你的订阅号,这显然成本比较高,也难以追踪效果。


而订阅号入口不能指望的话,那么主动分发内容的出路到底在哪里?答案就是通过个人号和微信群来分发内容。


最近,计算广告专家“北冥乘海生”的一篇文章十分火爆:《线上流量真的枯竭了么?》【4】。


他再次论证了:线上流量正在从中心化媒体转向熟人网络社交 - 在社交时代,把广告投给普通用户,才是四两拨千斤的营销王道。现在各种裂变、拼团、分销、答题PK等营销方式的兴起,恰恰是对趋势最好的证明。文章中的一幅图,形象的表述了移动互联网时代,传播路径的变化(由A到B)。





回到公众号上,内容消费属于非标商品,而用户对这种消费的决策,往往来自于微信群、朋友圈的推荐。


现在来划重点:通过个人号和社交群来传播内容可不仅仅是中国特色,这是实打实的全球趋势!在学术上,通过个人号和微信群传播内容就称之为暗社交(Dark Social)传播。


5.1 暗社交


按照国外数字营销机构RadiumOne的报告显示:全球70%的内容分享都是在“暗社交”(dark social)渠道中完成的,80%的网站点击来自于“暗社交”。【5】


而根据RadiumOne的定义,暗社交是指那些来源无法被分析软件追踪的网络流量,它包含了三个渠道:

  • 即时聊天(例如WhatsApp、Facebook Messenger、Snapchat、微信、QQ和短信等)

  • 邮件(如果你的邮件包含utm可以被追踪,那就应该不属于暗社交范畴了)

  • 无痕浏览(private browsing,你上XX网站的时候可能会使用的模式)


在移动时代,暗社交之所以成为了分享的主力,是因为很多的分享行为发生在了私密、非公开的APP端。事实上,如果你在微信APP里点开了好友发来的链接,此时微信APP的作用仅仅是一个浏览器。而网站分析工具无法追踪此流量的来源,统计工具只知道用户使用了WeChat内置浏览器,这样的流量就会被分析工具定义为直接访问(Direct)。


下面两张图是增长黑盒网站使用的数据分析工具,可以明确的看到直接访问(Direct)的比例以及用户大都使用了WeChat浏览器。


(这张图是增长黑盒网站growthbox.net的流量来源,可以看到直接访问占7成,剩下的大部分是通过搜索引擎访问。我们网站的主要流量来自微信群里发布的增长日报,所以有这样的数据符合预期,后面会更详细介绍微信群结合“增长日报”的实验)


(这是四月第一周的用户访问数据,数据分析工具只能识别访问者的浏览器是WeChat,也就是微信内置的浏览器)


除了增长黑盒自身,我们再看一下“石墨”文本写作工具的网站数据。他们的网站也是移动端分享比较多的一个,约有8成的流量来自直接访问,这也更趋向于RadiumOne所说的:80%的网站点击来自于“暗社交”。


(这个网站数据来自新媒体人常用的“石墨”文档协作,可以看到石墨的直接访问高达8成,说明主要流量来自暗社交)


刚才有提到,暗社交分享才是全球趋势。下图是全球暗社交的数据汇总,数据来源是socialmediatoday【6】。虽然没有统计中国的,但是毕竟世界前五即时通讯APP中国占了两个,且中国还没有Facebook,这个暗社交的比例你大可以猜猜!





所以,尽早将粉丝沉淀到自己的个人号和微信群才是激活读者的关键点。未来,无论是给自己的公众号、其他矩阵号还是网站导流都是有备无患的。QQ号和QQ群也应该有很大的潜力,不过我们这还没来得及没去做实验。


国外的话,还可以利用Slack+Telegram配合机器人去操作打造一个主动出击的暗社交渠道,这在很多区块链项目里已经是标配了。





我们从去年刚开始做号的时候,就开始往个人号导流,今年2月初才开始建立读者群。

由于微信统计的数据有一定局限性,我们没有能够定量暗社交对我们的文章阅读的影响,这里只统计了最近推送的文章打开率和阅读率(微信只统计文章群发后一个月内的数据,也就是说实际上打开率和阅读率会更高)。如果按照本段开头说的平均打开率2%以及阅读率5%来衡量的话,我们的公众号的数据大概是平均水平的4.5倍。虽然还不能定量“暗社交”,但是至少可以定性,那就是微信群和个人号在激活读者的环节起到了正面作用。





六、留存(Retention)




留存的核心就是我们必须要能建立起主动唤起用户的流量池,所以我们通过公众号菜单优先将读者导向个人号,并在文章结尾提供了读者群二维码,将用户再留存到读者群里。



6.1 个人号


作为90后,大都比较擅长展示自己,我应该算是水平比较差的了,就不献丑了。

我就说点底线吧,基本上少发点鸡汤,不要搞成微商或是传销号就行了。同步转发公众号的文章,外加发些有意思的见闻即可。


(错误示范)


尽可能展示你的个人魅力就可以了,不要被业务绑架!下面重点说下我们轻运营的佛系微信群玩法。


6.2 微信群


创业中的增长黑客往往是身兼数职,例如写文章、做实验、谈业务blablabla。

但是,再忙也不可以忘掉增长黑客的三个核心驱动力!即创意营销驱动、技术驱动、数据驱动。





在这个案例中,Alan需要一个人运营40多个微信读者群,管理近3000人。为了高(省)效(事)地运营社群,我们做到了两点:

  • 制定了极简的运营规则,每天只推送一次增长日报。群主不主动说话,暗中观察,伺机活跃。

  • 发扬黑客精神,使用自动化运营工具,用户进群由机器人来打招呼,信息一键推送四十个群。


我们决定临时采用推送日报这种形式来维持一个群,通过自动化工具来缩减人力,再通过数据分析工具收集数据。最后,我们会根据实验数据看效果,进行下一轮优化或者是新的实验方向。


下面我们来说一下实现微信群日报的整个过程。

(这是我们的群人数增长折线图,我们把这样的群定位为带社交功能的每日订阅推送,经过验证我们只要保证日报频率和质量,每月退群的人数可以控制在5%,且群人数增长速率可控。)


6.3 微信群日报的流程和工具


2月9号,我们发布了增长黑盒的社区计划的文章,在文章最后露出了读者群的二维码,粗略统计扫码转化率应该有10%


在这里,我们使用了一个云建群工具:建群宝

建群宝的“云建群”比“普通建群”主要多了这么几个功能:

  • 增加了着陆页引导人入群,还可以给群打标签方便精细化管理

  • 使用活码技术突破了一个二维码只能拉100人入群的限制

  • 不需要你自己主动建群,而是机器人自动建群,防止自己被封号

  • 机器人有自动喊话、群发信息、自动踢小广告等诸多功能,节省人力


在你扫码之后,就会来到入群的着陆页,我们在这里采用了又红又专的界面。并且,各位需要选择职业标签才能入群,因为我们考虑到相同职业的朋友话题可能会更多一点,所以就采用了这个功能。





点击“我要入群”之后,就会跳转到群二维码页面,大家扫码即可进群。这个群二维码在群满了之后会自动更换成新的空群二维码,这样就解决了一个群二维码只能拉100个人入群的限制。只要总入口(上方蓝色研习群的那个二维码入口)不被封杀,就可以无限拉人入群,而这种解决方案统称为微信活码。


2月12号,我们开始测试在群里发布增长日报的链接。





增长日报是模仿湾区日报(wanqu.io)制作的,我们从全球信息源里面选出优秀的内容聚合而成,发布在我们的WordPress博客站(growthbox.net)。我们收集了日报表现的数据,以及如何自动化生成日报的解决方案,大家可以自行解读。


  • 日报标题、推送时间和微信群导流效率的数据在这里:https://shimo.im/sheet/r8d4nXeTkj4IvLWA/

  • 我们使用了Pinboard+Zapier+Airtable+WordPress的Elementor模板插件的组合来快速生成日报内容,具体方法参考:https://shimo.im/docs/il3MSBUFuqEYmIZV/


微信群有了,日报也在网站上生成了,下一步就是如何把增长日报链接推送到各个微信群里。


(建群宝中,可以看到我们读者群的数据,一个二维码已经拉了3000个人)




(这是网站里增长日报合集的菜单,标题基本是随意起的。不过“震惊体”威力还是比较大的,堪比报童在广场上大喊“号外号外”)


建群宝本身虽然可以群发,但是其作用主要是建群的,你用它来管理群相对就不那么好用了,例如:

  • 你没有办法更改建群机器人的名字和头像(通常都叫助手XX,头像随缘)

  • 没有Dashboard,群数据统计不那么直观

  • 机器人不能作为客服去群里回答问题

  • 没法接API(扩展性有限)


为了在群里分发我们的日报,我们使用了第二款工具:小u助手企业版

小u助手和建群宝是一个母公司,做社群工具的水平真是没得说。因为很多群友在咨询过我们如何实现这套群自动化解决方案,所以文章最后的我们会拉个社群工具的讨论群,大家购买意愿强烈的话我们可以组织团购。


回到小u助手企业版,那它到底是什么东东呢?直白一点,就是一个受你操控的机器人微信号,你可以让这个机器人微信号可以加入30个群,也就意味着他可以帮你管理30个群(多于这个数,群发估计会触发封号机制)。你可以给机器人改名,改头像,让他们群发信息,机器人还可以根据用户的关键词做自动回复,或者直接真人接管机器人化身客服为群友解决问题。而这些都可以放到一个控制面板里面去,你不用再操作那么多号、去那么多群、说那么多遍一样的话,瞬间实现自动化,批量化。




(凌晨2:58,我和我的机器人小伙伴们来了张合影)


当你需要群发的时候,你就可以进入群控的面板然后编辑各种内容了。

可以群发文字、图片、语音、链接、小程序、文件、名片,然后还可以组合起来发。




(自带的数据统计功能也很方便,你可以在这里看到趋势。)





既然这里是留存环节,我们还是有测增长日报的留存数据。

虽然我们只通过微信群发日报获客和做留存,且断断续续的没有形成规律发送。。。最近两周的7日留存可以做到10%以上,只能算是初步验证了低成本获客的可能性,留存还需要好好优化。至于怎么收集留存数据,你可以用Google analytics或者GrowingIO之类的数据分析工具。


事实上,留存率、用户量数据只能告诉我们一部分答案。想要衡量日报系统的效果,还要回归到本质:真正的留存来自于良好的用户体验。那么,用户对日报到底满意吗?


为了节省时间,我们采用了比NPS更简化的满意度调查。即把用户分为,非常满意,满意,不满意三个级别。借助Hotjar这款工具,我们将调查表单以弹窗的形式嵌入了网站 - 只要打开任意日报页面,就会在右下角弹出问卷。





最初,弹窗的触发规则是在页面停留10秒以上。但是,反馈的回收率非常低。后来我们发现,用户在页面的平均停留时间超过30秒。也就是说,10秒钟根本不够他们看完这个日报,又如何能做出评价呢?因此,我们将触发规则提高到20秒,回收率有了一定提高。几天之内我们就收集了89个用户的反馈:





调查结果表明,大多数用户对这款日报产品还是比较满意的,也进一步印证了之前的数据结论。


下一步,我们将会启用NPS调查,并借助热图分析来深入优化日报页面的用户体验。其实热图分析还是带给我们很多有意思的观察,比如链接排的越往前,点击率就越高(听起来是废话,但看到真实数据就是另一种感觉了)。提前放张图预告一下:





比较意外的一点是,通过更新日报,我们的“增长黑客”关键词排名从三十多名提升到了前五。因为增长黑客这个词搜索量很小,所以我们之前没有太重视SEO,结果无心插柳里成荫。










这个是近30天,增长黑盒在百度“增长黑客”搜索结果中的排名。





我们从2月12号开始更新日报,在40天内更新了24期日报,排名突然就从30多名飙升到6名了。这波操作的意义在于,我们每日只花10分钟,外加群友的点击提权,就顺带冲到了前面,可以说是一种低成本的SEO。但是,我们三月底升级了网站模板,把主页Meta description搞丢了,导致排名很不稳定。昨天刚修复,但是排名没了,只好过一阵子再看了。。。Yolo表示这个锅他接了。


七、变现





Alan&Yolo作为两名数字游民(Digital Nomad),去年没从《增长黑盒》上赚一分钱,但是今年算是全职扑到增长黑客的事业上了,所以必须要证明它的营收能力。(去年其实是靠加密货币挖矿挣钱......)


可能还有人不清楚数字游民是啥,Alan给自己的生涯规划大概是这个样子的:打工仔——>自由职业(Freelancer)——>数字游民(Digital Nomad)——>国际游民——>星际游民:


  • 打工仔是基于平台实现价值,就算你帮公司做了到增长、实现了营收,绝大部分情况下你也是可以替代的螺丝钉。而脱离了平台,很多人便失去了挣钱的能力。

  • 自由职业就是你开始脱离平台,为你自己打工。这基本也是个趋势,根据Upwork“2016年美国自由职业者报告”,目前美国有5500万自由职业者,占劳动力的35%,这一数值在过去十年内翻了一倍不止。而自由职业能挣钱多少,辛苦与否全凭自己造化了,但至少时间上是相对自由了。

  • 数字游民是指你可以通过互联网办公,实现空间自由。数字游民想要有所突破就必须将自己的收入转为“被动收入”,即不主动工作也可以产生的收入。投资、加密货币挖矿、联盟佣金、知识付费、数字产品都是被动收入的方式。当你实现被动收入的转换之后,你的时间更加自由了,可以腾出来做更有价值的事情。

  • 国际游民和星际游民就有点扯远了,等Elon Musk的火箭造好了再说吧......


下面说下我们通过新媒体挣的两种被动收入:


7.1 知识付费


在今年1月5号,曹大(Caoz)推荐《增长黑盒》公众号之后,我们在三天内迅速写了一篇增长黑盒去年的复盘文章《人若无名,专心增长》,文章有6000多字。





而在文章的最后,我们才公布了我们的付费社区《增长黑客成长社区》。付费社区是基于第三方平台知识星球做的,这样没有试错成本,功能也相对完善。


我们来用最经典的内容营销漏斗来解读一下用户转化的路径:产生认知(awareness) - 认可价值 (evaluation)- 付费转化(conversion)模型【7】。


(我们按照当时付费社区文章的数据,做了模型图)


首先是认知层(Awareness):我们去年来坚持创作高质量的长文案例,发布在公众号、知乎、今日头条等平台,让后转发到朋友圈、微信群、知识星球,吸引了很多增长黑客的关注,年初又借助KOL曹大的背书将粉丝数量提高到了10000人 - 这个阶段,相当于创造了awareness,聚集了一批关注增长黑客的人。


其次是价值层(Evaluation):公众号的阅读率普遍不高,只有一部分粉丝才是每篇文章都看的读者,所以综合下来当时约有2000人阅读了这篇文章。这个阶段算是价值的evaluation,从10000人关注到2000人阅读文章,转化率为20%(当然,也很感谢知识星球官方推荐我们的圈子,这带来了一批用户。不过由于转换路径不同,这里就不深入讨论了)


最后是转化层(Conversion):因为就算认可我们也不一定会产生付费意愿,我们需要用合适的方法“推销自己”,增强Call to Action。因此,我们制作了一张醒目的海报,清晰地介绍了这个社区的价值,感兴趣的人就会扫码查看详情。同时我们在海报中强调了限时福利,给了早期用户很大的限时折扣。




(单独截出来感觉好像FBI WARNING啊)


最后一步,扫码后并不是直接付款,而是跳转到知识星球的社区介绍页面 - 相当于一个landing page。这一步直接影响到最后的付费转化,因此我们也精心调整了这个页面的文案,并且提前添加内容,邀请种子用户等,让社区显得不那么空荡。最终,付费转化率达到了10%,在几天内就产生了5万元的被动收入。


再后来,我们每篇文章都随手贴一下付费社群的入口(小程序或者二维码),今年一季度累计收入应该在20多万。





7.2 佣金链接


刚才介绍的付费社区文章是1月8号写的,三天之后,我在1月11号又写了一篇比特币的文章,长达14000字,34副图片。(为了证明能赚钱好像我也蛮拼的......)





请注意,这并不是一篇鼓吹比特币的文章,而是从更加宏观的角度,分析了比特币的历史数据,并对比特币和世界上其他金融产品的规模,做成了可视化数据图。文章共查阅了二十多篇文献和来源 - 因此,整篇文章的观点中立,逼格还算比较高。

文章最后,我们将自己比特币算力投资的实验介绍给大家,毕竟去年下半年的靠挖矿收益在6-7倍,我觉得还是值得分享的。而我们在这里使用了算力平台的推广链接,用户通过这个链接购买算力我们约可以得到10%的佣金。



下面我们接着用这个模型来说明转化路径:



认知层还是我们聚集起来的用户(上图没有重复展示),比较有意思的是增长黑客和币圈其实是高度重合的,因为都数字化领域的,所以转化起来并没有什么困难。


按照文章结构来说,首先通过对比特币的概述吸引了感兴趣的读者,中间将数字货币和众多金融资产做了可视化数据的对比,最后才提到了投资实验。当一些用户认可这种投资方式的价值后,自然会关注如何用算力赚钱。


我反复提及了风险,才和大家分享了投资的方法:





因为网站是英文的,注册还需要翻墙,同时很多人还不了解美元信用卡以及比特币支付的方法。所以Alan留下了自己的微信号,充当客服的功能,同时给大家投资给一些建议,大大降低这一步的转化阻力。


只有产生充足的兴趣后,读者才会注册账户。另外,即使注册了账户,也需要美元信用卡或者比特币来购买 - 这无疑又多了一道门槛。因此,在300名网站访问者中,最后只有50人付款。对比上一个阶段的文章阅读量,转化率达到1%。共销售了6万多美金的算力,佣金收益为0.514个比特币,约6000多美金。



还好我强调了注意事项,不幸被我写中......

  • 加密货币一季度跌的就剩零头了,我账户里也只剩零头了,所以是只拿损失了也无所谓的钱进去投。莱特币查理大帝说:“不能承受90%的损失,就不要投加密货币。”

  • 你需要有场外持续挣钱的能力,这样才能定投加密货币,稳定入金成本

  • 投资加密货币要有点信仰,跌去90%的是法币价值,你不兑现就行。根据历史数据来看,装死等待救援就可以了......


7.3 分销


还有些课程分销啊,大会分销啊我就不细说了,都是常规操作,Alan其实是想表彰一下拾金不昧的自己。

正所谓君子爱财取之有道,三月份跟新世相合作了一波,分销了他们的刷屏课程。我的本意是收集一波数据,希望可以验证病毒营销环节中的病毒系数K。当然还是赚了1700多块钱,但系统第二天发放佣金的时候,给我打了6遍佣金。





我第一时间和新世相的运营汇报了这个bug,他们确认后暂停了提现。其他泼出去的水是要不回来了,他们的唯一补救措施就是问我把这笔钱要回去。讲道理我作为bug hunter好像是有点小亏,不过我还是选择还钱以成就我正人君子的光辉形象,就是不知道新世相会是怎么处理他们的程序员的......





说到底以上都是内容营销的结果,而如何创造内容营销?内容营销到底有多大威力?在这里预告一下,下一篇文章会告诉你答案:我们将探索70年前美林证券的营销传奇,深入研究内容营销的过去和未来。

八、Referral



推荐就是口碑营销,是真的有人愿意分享你的内容而不是绑架用户或是纯金钱驱动。在针对大众用户的情况下,你可以绑架用户让他们先转发朋友圈得到好处或者是用金钱刺激他们分销,但是在增长黑客这种垂直且用户普遍免疫这些玩法的情况下就不那么适用了。


下面会反复提到病毒系数K,指一个老用户可以传染几个新用户,K大于1就代表这个病毒可以一直传播下去,才能称之为病毒营销。


8.1 电子书裂变


在推荐环节,我们依然决定采用当下流行的裂变机制。但是,随着网易课、千聊、新世相等裂变活动出现“事故”,我们越来越意识到两个问题:

  • 如果不控制K值,让用户量增长过快,必然会引起封杀的风险。

  • 如果采用绑架用户或者金钱诱惑的方式,虽然能够短期冲量,但却会引发口碑下降,用户质量变低等问题。


因此,我们对裂变路径进行了优化,一方面是控制裂变速度(即K值),另一方面从利益驱动转变为价值认可驱动。


我特意做了一张图,对比一下这次裂变与传统裂变的区别(条形的大小代表了转化路径每个节点上的人数)。





传统意义上,用户在转发之前并没有获得任何东西,只有按照要求完成了转发,才能获得奖励。因此,对裂变活动的价值认可发生在最后一步 - 用户转发了裂变海报,并不意味着他认可了这次活动。有一个经典的理论“用户对产品的期待总是比实际情况高3倍” : 用户转发时的期待实际上远远高于最终到手的奖励。由于转发先于价值认可,这样就造成用户期望高于产品本身,导致品牌口碑下降。另一方面,由诱饵到转发环节是紧密相连的,传播路径很短 - 导致K值很高,难以控制。


这次电子书裂变活动,将价值认可环节放到了转发之前。也就是说,我们的逻辑是首先问用户“你觉得这本电子书还不错吧?”用户如果认可了,我们会说“帮忙转发一下吧,你能得到未来一年的电子书!”这样做的好处就是大大提升了用户口碑和忠诚度 - 许多人都写下了诚挚的推荐语,并转发海报,截图返还给我们(这个后面会展示)。同时,由于设置了两次奖励,传播路径被大大拉长,K值就被控制的很低,不会有任何风险。


最后几个条形的对比很明显,这次裂变产生价值认同的用户要比传统裂变要多(用户质量高);但推荐转发人数少(K值低)。


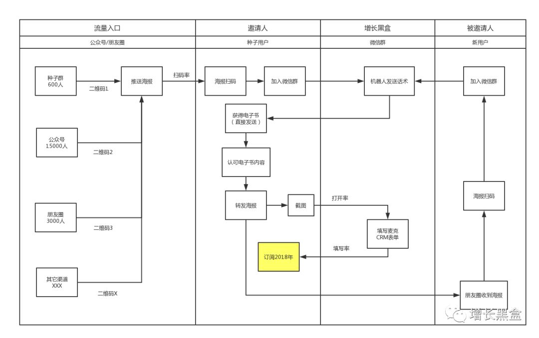
下面这张图是我们设计的完整裂变流程。大体给介绍一下:

  1. 在多个渠道分发海报

  2. 用户扫码后进入之前建立的日报种子群

  3. 机器人自动发送电子书下载链接

  4. 机器人自动提示用户:分享给好友并截图发送给我们,可以免费获得2018年电子书订阅

  5. 用麦客CRM自动收集用户截图


    


    


    我们请社区里的朋友设计了5款海报,为了选出最好的海报,Alan在朋友圈进行了一波ABCDE test,由我朋友圈两千多个好友来投票。最终收集了120多个评论,选出了胜出者1号海报,而黑色的那两款海报被一致吐槽为丑。


    


    最终胜出的一号海报是由我们社区的朋友“汤米@慢慢来”友情提供的。


    海报中有我们提供的设计素材:

    • 一是3D的电子书,直观告诉大家这是什么

    • 范冰的推荐语,增加信用背书

    • 下方一排联袂推介事实上是我们资源置换的一种方式,后面细说


    还是最传统的群裂变形式:海报扫码后机器人会直接给出电子书下载链接(百度云盘),并提示用户先看书,觉得内容好再去转发。把转发截图通过表单发给我们,就可以获得2018年的电子书订阅资格!


    


    另外,为了让电子书更上档次,我们团队新入伙的(学艺术出身的)老曹同学特意制作了一张封面。


    


    这本电子书有足足355页,那如何不花钱快速制作一本电子书出来呢?我们使用了MarkEditor这款工具(也是yolo常用的写作工具),采取markdown格式制作了电子书。由于平时的文稿都是markdown格式,所以只需要按照章节归类就可以了。


    


    听起来简单,不过还是有很多坑,尤其是使用css排版这件事。我们对css进行了多次修改,最后终于能看了。。。不过生成的电子书里面少了几张图片,有细心的读者指了出来,渲染的时候还是有点问题。电子书的文章都是我们去年公众号的原创文章,按标题回来找就可以了。


    


    我们会在群里提示大家去转发海报,然后填表获得2018年的电子书订阅。



    在执行这个病毒营销(viral loop)一段时间后,我们大概在表单里收到了300个转发截图。给大家展示一下用户们自发的推荐语,比我们自己写的还要真诚......再努力一下感觉我们就可以成为微商总代,喜提spacex火箭,送增长黑客大家庭的成员上天啦。


    微信群/好友推荐:


    


    朋友圈推荐:


    


    最后,联袂推荐的这排我们在书内页又介绍了一遍,因为海报空间问题,logo没完全加上。

    这里我再郑重的介绍一遍友军好了:


    


    • 首先是青山资本,虽然我们没有拿他们钱,但是和他们老板聊得来,而且他们旗下很多创业者事实上也是我们的目标受众,所以就随手把logo放上去了。青山资本是专业投消费升级,TMT和泛娱乐的天使基金,非常友善的金主~

    • 运营深度精选就是各种朋友圈刷屏的始作俑者,网易公开课、三联周刊等等都是他们一手策划的,算是运营领域里极高水平的代表了。我们和其核心团队成员也都是好友,互相帮助不用多说了~

    • PMCAFF是产品人社区,我们一直分发文章的渠道,稳定可靠。社区相当活跃,活动也很有意思,负责人小黑也很有趣。

    • 人人都是产品经理我们也有专栏,编辑们相当负责,还会帮我们排版设计,点赞!


    下面还有好几款工具类产品,是合作关系良好的赞助商,行走江湖没有几款趁手的兵器还是玩不转的:

    • GrowingIO是数据分析工具,也是专注增长黑客的布道者,他们的增长大会我都去过三场了。

    • 吆喝科技是AB test工具,增长黑客必备的实验道具。

    • 魔窗是APP增长的工具,范冰大大推荐的,虽然我们还没用上,但是未来也是有搞头的。

    • 建群宝和小u助手是一家母公司的产品,专注于社群运营,毛估估在这个细分市场里份额第一应该没毛病,文章结尾处会设置工具讨论群,有需求的可以进入。


    好了,感谢了这么多,最后还是要请以上点名的各位帮我我们友情转载一下文章。


    九、瓶颈和讨论

    我们做这个媒体的初衷很简单,不希望增长黑客成为一个噱头,而是证明这是可复制的实验科学。一季度的增长实验告一段落,虽然有很多不足,但至少我们还是沿着初衷在走,且增长黑客社区的共识已经越来越强,值得我们去创造更大的网络效应。


    虽然我们的知识星球在1月9号就上线了,至今3个月了,但事实上我们并没有花大力气去推广这个知识星球。核心原因就是:我们还不太满意这个社区形态。

    在2月9号,仅仅上线一个月后,我就又写了长文表明要按照科研机构来重构整个社区,并包含以下几个部分:包括学术期刊、学院、实验室。


    9.1 知识星球版增长黑客社区的瓶颈


    虽然知识星球是个非常不错的产品,但它的主要作用是连接KOL和粉丝(如同官方的宣传语“连接1000位铁杆粉丝”)。我们有几个诉求是知识星球不能满足的:

    • 连接更多人,希望能发生更大的网络效应。

    • 全面接管数据,获取用户行为,追踪拉新,分销数据等等

    • 是封闭平台,操作空间有限

    • 没有积分管理系统,没法做激励


    同时我们自己只是带头往里面输出内容,但是产量有限,也没有足够多的运营活动。导致如下几个问题:

    • 用户活跃度比较低,这反映在社区互动上。内容发表比例基本1%左右,而互动率(如点赞+赞赏+评论)始终没有超过4%。

    • 用户粘性不够。经过长时间的观测,日活跃用户比例从未超过50%


    

    

    不过付费了就是我们的核心用户,我们肯定是要给这位物超所值的回报。

    既然知识星球不够我们用的,那我们下一步必然是打造自己的社区平台。

    现在已经加入包括之后加入知识星球的成员,都将自动获得未来增长黑客社区的福利(精神物质双丰收):

    • 自动获得社区内测和公测资格,而未来的社区也是付费门票制的

    • 社区专属的勋章和纪念墙留名

    • 赠送当前门票费用等值的Token


    9.2 独立社区产品


    知道了问题就去克服问题,第二季度,我们的核心任务就是基于自己的平台做出完整的“增长黑客社区”。

    为了向增长黑客之父Sean Ellis的growthhackers.com致敬,我们准备使用growthhackers.com.cn,虽然域名还没启用,不过社区已经在设计之中了。我们参考了stack overflow、segmentfault、steam等诸多平台和社区,并研究了其中的经济系统和激励系统,以备后用。

    自己独立社区产品的好处在于,我们可以更加生动地给大家做各种增长实验,同时探索高效的增长团队和架构。这样一来,增长真人秀会有更多的看点。


    对于用户来说,来增长黑客社区能得到什么呢?

    先说下我自己好了,当时和Yolo辞职出来创业,实践跨境电商同时研究增长黑客。

    几个痛点就是:

    • 不知道该学什么技能

    • 不知道该用什么工具去实现

    • 没有地方讨论

    • 很难扩充新的合作伙伴

    所以,针对这种情况,我们的解决方式是根据AARRR模型先搭建技能的学习框架的最小化可执行产品(MVP):


    (学习框架仍在搭建中,没有任何内容,抢先看一眼的地址:growthbox.net/beta2)


    再针对每个技能梳理市面上相关的优质内容,做成导航页(下个礼拜开始填):

    • 入门文章

    • 进阶文章

    • 大咖博客

    • 在线课程导航

    • 相关工具评测


    再其次就是搭建增长黑客的QA社区,让大家把UGC的内容沉淀下来,并引导完成技能实践的任务,通过游戏化的激励机制获得经验值、积分和token奖励。而我们自己社区也会尽可能地使用这些技能去做增长实验,无论是成功还是失败都会复盘作为示例。让增长本身成为“开源”的事情,避免闷声发大财的情况。

    虽然由于合规性,token不能兑换人民币提现,但是至少可以在生态内有一定的消费场景,这也是我们需要慢慢搭建的双边市场。


    (基金会里的Token既不会拿来众筹,也不会上交易所,只要按照规则在社区里活跃就可以获得。业务线看着好像有点复杂,但事实上我们已经都试验过了,不过我们还是会从最落地的MVP开始打磨产品。)


    一不注意又写了17000多字,文章的最后,请允许我吹两句牛逼给自己打一点鸡血:


    我们将成立中国第一个真正意义上为了增长而生的公司。

    同时你还将见证下一个时代的公司形态:增长团队、数字游民、全球协作、token经济,这些时髦词汇我们一个也不会错过。




    文献来源(Reference


    【1】Coca-Cola and the rise of the chief growth officer——https://www.marketingweek.com/2017/03/29/chief-growth-officer-coca-cola/

    【2】Every Company Needs a Growth Manager——https://hbr.org/2016/02/every-company-needs-a-growth-manager

    【3】2%打开率,小马宋、和菜头等大V纷纷唱衰,公众号真的要衰落了吗?——http://www.meihua.info/a/69924

    【4】线上流量真的枯竭了么?——http://mp.weixin.qq.com/s/w_vVnvJcvTy6sUud9Skgtw

    【5】The Dark Side of Mobile Sharing——https://radiumone.com/darksocial/

    【6】Top Social Media Trends That Will Take Over 2018 [Infographic]——https://www.socialmediatoday.com/news/top-social-media-trends-that-will-take-over-2018-infographic/510796/

    【7】The Smart Content Marketing Funnel - A Guide on Matching Content Types to the Customer Buying Stage——https://www.shopify.com/partners/blog/content-marketing-funnel


    登录查看更多
    0

    相关内容

    在科学,计算和工程学中,黑盒是一种设备,系统或对象,可以根据其输入和输出(或传输特性)对其进行查看,而无需对其内部工作有任何了解。 它的实现是“不透明的”(黑色)。 几乎任何事物都可以被称为黑盒:晶体管,引擎,算法,人脑,机构或政府。为了使用典型的“黑匣子方法”来分析建模为开放系统的事物,仅考虑刺激/响应的行为,以推断(未知)盒子。 该黑匣子系统的通常表示形式是在该方框中居中的数据流程图。黑盒的对立面是一个内部组件或逻辑可用于检查的系统,通常将其称为白盒(有时也称为“透明盒”或“玻璃盒”)。
    【硬核书】不完全信息决策理论,467页pdf
    专知会员服务
    364+阅读 · 2020年6月24日
    AI创新者:破解项目绩效的密码
    专知会员服务
    35+阅读 · 2020年6月21日
    专知会员服务
    147+阅读 · 2020年6月15日
    商业数据分析,39页ppt
    专知会员服务
    165+阅读 · 2020年6月2日
    机器学习速查手册,135页pdf
    专知会员服务
    345+阅读 · 2020年3月15日
    算法与数据结构Python,369页pdf
    专知会员服务
    165+阅读 · 2020年3月4日
    【2020新书】数据科学:十大Python项目,247页pdf
    专知会员服务
    216+阅读 · 2020年2月21日
    每个架构师都应该培养业务思维
    InfoQ
    3+阅读 · 2019年4月21日
    如何运营15万付费用户?
    三节课
    6+阅读 · 2019年2月28日
    重磅!2019中国经济研判,涉及20个敏感问题…
    笔记侠
    10+阅读 · 2019年2月17日
    知乎破8万赞回答:那些厉害的人,思维方式比你强在哪儿?
    改了3次APP首页后,我的一些认知
    从0到1
    11+阅读 · 2019年1月13日
    如何构建一个全面的商业调查和情报体系
    人人都是产品经理
    8+阅读 · 2018年12月18日
    如何成为一名商业产品经理?
    产品100干货速递
    6+阅读 · 2018年10月18日
    以机器学习的视角解构人生
    产品经理读书会
    4+阅读 · 2017年12月3日
    如何用Python从海量文本抽取主题?
    AI研习社
    7+阅读 · 2017年7月6日
    CoCoNet: A Collaborative Convolutional Network
    Arxiv
    6+阅读 · 2019年1月28日
    Arxiv
    4+阅读 · 2018年10月5日
    Arxiv
    4+阅读 · 2018年4月9日
    Arxiv
    5+阅读 · 2018年1月30日
    VIP会员
    相关VIP内容
    【硬核书】不完全信息决策理论,467页pdf
    专知会员服务
    364+阅读 · 2020年6月24日
    AI创新者:破解项目绩效的密码
    专知会员服务
    35+阅读 · 2020年6月21日
    专知会员服务
    147+阅读 · 2020年6月15日
    商业数据分析,39页ppt
    专知会员服务
    165+阅读 · 2020年6月2日
    机器学习速查手册,135页pdf
    专知会员服务
    345+阅读 · 2020年3月15日
    算法与数据结构Python,369页pdf
    专知会员服务
    165+阅读 · 2020年3月4日
    【2020新书】数据科学:十大Python项目,247页pdf
    专知会员服务
    216+阅读 · 2020年2月21日
    相关资讯
    每个架构师都应该培养业务思维
    InfoQ
    3+阅读 · 2019年4月21日
    如何运营15万付费用户?
    三节课
    6+阅读 · 2019年2月28日
    重磅!2019中国经济研判,涉及20个敏感问题…
    笔记侠
    10+阅读 · 2019年2月17日
    知乎破8万赞回答:那些厉害的人,思维方式比你强在哪儿?
    改了3次APP首页后,我的一些认知
    从0到1
    11+阅读 · 2019年1月13日
    如何构建一个全面的商业调查和情报体系
    人人都是产品经理
    8+阅读 · 2018年12月18日
    如何成为一名商业产品经理?
    产品100干货速递
    6+阅读 · 2018年10月18日
    以机器学习的视角解构人生
    产品经理读书会
    4+阅读 · 2017年12月3日
    如何用Python从海量文本抽取主题?
    AI研习社
    7+阅读 · 2017年7月6日
    Top
    微信扫码咨询专知VIP会员