7点见 | 诺贝尔化学奖授予三位“锂电池之父”;5G预约用户超千万;大数据杀熟最高可罚50万

2019 年 10 月 9 日 腾讯科技



各位小伙伴们,早上好呀!


看到97岁高龄的诺贝尔奖得主,小伙伴们是不是感觉我还可以,我还能学? 快来和小七分享一下最近的书单吧!


好了,下面是早报时间!

最高龄诺贝尔奖得主诞生!97岁“锂电池之父”的传奇人生



北京时间 10 月 9 日下午 5 点 50 分左右,2019 诺贝尔化学学奖评选结果揭晓——诺贝尔委员会宣布,将此奖项颁发给约翰·B·古迪纳夫、M·斯坦利·威廷汉和吉野彰,以表彰他们在电池领域的重要创新。


特别值得一提的是,近几年的化学奖颁布期间,有一位科学家受到了广泛的关注,他就是现已97岁的“锂电池之父”——John B. Goodenough。


扎克伯格将亲自出席美国众议院听证会并作证


据外媒报道,美国众议院金融服务委员会周三宣布,社交网络巨头Facebook首席执行官马克-扎克伯格(Mark Zuckerberg)将于本月出席该委员会的听证会并作证。


扎克伯格将是出席听证会的唯一证人,听证会定于美国东部时间10月23日上午10点举行,议题为“考察Facebook及其对金融服务和住房部门的影响”。上周有报道称,众议院成员一直在推动扎克伯格就Facebook的加密货币项目出席作证,因为委员会一直在与他的首席运营官谢丽尔-桑德伯格(Sheryl Sandberg)就作证事宜进行谈判。


美团股价接连创新高:涨至89.55港元



10月9日消息,美团点评(03690.HK)股价再创新高,接近收盘时,涨至89.55港元,最终收盘报价89.45美元,总市值达到5189亿港元(约合659亿美元),仅次于当日阿里巴巴(4283亿美元)和腾讯(3.09万亿港元,约合3943亿美元),成为中国国内第三大已上市的互联网企业。同时,美团的市值体量已大幅领先于百度、京东和拼多多,成为新的第三大新势力。


作为新经济公司的代表和商业价值与投资风向标,美团一举一动都引发着行业关注。今年以来,虽然有波动,但美团股价呈现了整体上涨的趋势。


房多多向美SEC提交招股书 拟在纳斯达克挂牌募资1.5亿美元



房多多周二向美国证券交易委员会(SEC)提交招股说明书(FORM F-1),计划通过首次公开募股(IPO)募集最多1.5亿美元资金。房多多在招股书中暂未透露发行量、发行价格区间等信息。


房多多的招股书显示,该公司募集到的资金将主要用于增强研发能力,投资于技术、销售、营销和品牌推广、营运资本、以及包括为补充业务、资产和技术进行的潜在投资和收购等其他一般企业用途。房多多申请将在纳斯达克全球市场挂牌交易,证券代码为“DUO”。


市场监管总局:新能源车企在事故发生后12小时内报告基本信息


10月9日消息,市场监管总局质量发展局发布《关于进一步规范新能源汽车事故报告的补充通知》。


通知要求,生产者获知其生产、销售或进口的新能源汽车在中国市场发生冒烟、起火事故的,应在事故发生后12小时内(如造成人员伤亡或重大社会影响的,应在事故发生后6小时内)向市场监管总局质量发展局报告事故基本信息。


同时,生产者在新能源汽车火灾事故发生后,应主动排查同型号、同批次或使用同样零部件的车辆是否存在火灾安全隐患。经排查,发现存在火灾安全隐患的,生产者应根据《缺陷汽车产品召回管理条例》和《缺陷汽车产品召回管理条例实施办法》的相关规定尽快实施召回。


文旅部将出台规定,在线旅游“大数据杀熟”或被处罚



据文化和旅游部网站消息,近日,文化和旅游部在官网发布《在线旅游经营服务管理暂行规定(征求意见稿)》(以下简称《暂行规定》),向社会公开征求意见。《暂行规定》对虚假预定、不合理低价游、价格歧视(大数据杀熟)、信用监管等问题都做出了具体规定,违反规定将被处罚。


《暂行规定》第三十五条规定,违反该条规定的,由县级以上文化和旅游行政部门依照《中华人民共和国电子商务法》第七十七条的规定处罚。具体来说,由市场监督管理部门责令限期改正,没收违法所得,可以并处五万元以上二十万元以下的罚款;情节严重的,并处二十万元以上五十万元以下的罚款。


阿里巴巴国际站明起停止对美销售电子烟及配件


10月9日,阿里巴巴国际站将从明天开始对电子烟产品及配件进行管控。日前,阿里巴巴国际站向会员发布消息称,鉴于美国对于电子烟品类不断加强管控,其对于平台上所有电子烟产品及配件进行美国流量屏蔽和美国信保订单阻断的管控。


具体来说,平台上发布的电子烟产品及配件将不对美国买家展示,发往美国的产品将无法再起草信保订单,管控范围包括但不限于发布在消费电子烟类目下的产品,也包括其他类目。


支付宝与Mail.ru、MegaFon成立数字支付合资公司


10月9日,据外媒报道,支付宝宣称,它将携手俄罗斯互联网和IT公司Mail.ru集团、多元化国际控股公司USM、俄罗斯主权财富基金RDIF以及泛俄罗斯数字服务运营商MegaFon成立合资企业,为俄罗斯用户提供数字支付服务。


台积电9月份营收达237亿元 同比增长7.6%


据外媒报道,台湾地区半导体制造商台积电9日公布了9月份营收报告。报告显示,该公司2019年9月营收约为新台币1021.7亿元,比2019年8月下降3.7%,比2018年9月增长7.6%。


台积电成立于1987年,是全球最大的晶圆代工半导体制造厂,客户包括苹果、高通等,总部位于台湾地区的新竹科学工业园区。


三星证实多个安全漏洞影响至少四千万Galaxy和Note用户



据外媒报道,三星本周证实了影响到Galaxy S8、S9、S10、S10e、S10 Plus、S10 5G、Note 9、Note 10和Note 10 Plus用户的多个安全漏洞。其中有一个非常严重的漏洞和三个被评为“高危”的漏洞。总而言之,它涉及21个安全漏洞,其中17个与三星的One用户界面有关,4个与Android有关。


Galaxy 9智能手机的销量约为3000万部,Galaxy Note 9设备的销量为1000万部,这意味着有4000万Galaxy 9和Galaxy Note 9用户需要注意这个警告。


谷歌启动5G手机试生产 最早或下周发布


据外媒最新消息,美国互联网巨头谷歌也加入了研发5G手机的浪潮中,该公司已经开始试生产一款5G智能手机,最早将于下周发布。


谷歌将是第一家启动5G智能手机的研发制造的美国公司,其引发的一轮营销热潮将会对苹果和三星电子和华为等其他领先硬件和手机制造商构成直接挑战。


海康威视回应被美国列入实体清单:中长期来看影响会减小


10月9日下午,针对被美国商务部列入实体清单,海康威视召开电话沟通会。在沟通会上,该公司高级副总裁、董事会秘书黄方红表示,关于2019年业绩预期,实体清单短时间会造成一波冲击,中长期来看影响会减小。


列入实体清单受到的主要限制包括:从美国或其他国家进口美国原产的商品、技术或软件受到限制。可以继续为中国国内客户或其他国家客户提供海康威视的产品和服务不受任何限制,公司有能力保证持续、稳定的产品供应。


ModelY共四种版本 最远续航483公里 明年登陆中国


特斯拉于今年3月份公布了该公司第五款车型——Model Y。Model Y定位于紧凑型SUV,这也是继Model 3之后特斯拉的第二款入门级车型。


据了解,Model Y共有标准版、性能版、长续航全轮驱动版、长续航后轮驱动版四个版本。其中,性能版Model Y的0至96公里/时加速时间3.5秒,预计EPA续航483公里,最高速度可达241km/h(现在不同车型参数登陆特斯拉官网也能够看到)。


摩拜单车北京涨价:每30分钟1.5元,起步价较之前多0.5元



10月9日起,摩拜单车在北京地区全部车型将执行新的计费规则,用车费由起步价和时长费组成:骑行30分钟以内为起步价,收费1.5元。


摩拜单车北京新版计费规则针对骑行套餐,在生效期间,每次骑行前2小时免费,超出部分按每30分钟1.5元收取。


诺基亚宣称已经拥有2000多项5G必不可少的专利


据外媒报道,在2018年9月首次宣布5G标准后一年,诺基亚向欧洲电信标准协会递交相关文件,声称其已经拥有2000多项5G必不可少的专利,这反映了诺基亚在5G技术开发和标准化方面的持续领先地位。


诺基亚申请的2000项5G专利包括美国专利US9338、785B2和欧洲专利EP2848055B1,它们描述了一种为智能手机、工业设备和其他设备提供网络资源的发明,这些设备具有不同的能力和期望,以更短的等待时间、更高的可靠性和吞吐量提供访问服务。


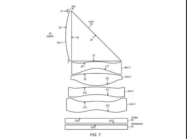
苹果申请新专利 未来iPhone镜头或不再凸起 



从 iPhone 6 开始,iPhone 的摄像头就开始开启「凸」起来。而最近披露的一项苹果专利显示,未来 iPhone 的镜头模块可能将不再凸起。


美国专利商标局在本周二展示了一项名为「具有五个折射镜的折叠透镜系统」和「具有三个折射镜的折叠透镜系统」的专利,其主要是将镜头模组由传统的「横向」转换为「竖向」,并通过棱镜来反射图像,从而减少镜头的凸起程度。


“美版饿了么”一再推迟IPO计划,华尔街态度不甚乐观


据知情人士透露,估值超过20亿美元、预计将于2019年上市的外卖初创公司Postmates最近向其IPO顾问表示,由于市场状况不佳,该公司将推迟上市时间。


Postmates只是众多预计将于2019年上市、价值超过10亿美元的科技初创公司之一。但随着年底的临近,一片阴霾笼罩着硅谷,这引发了人们不寻常的争执,董事会内部也争论不断,反叛者试图改变不断向硅谷传递坏消息的华尔街体系。


特斯拉“全息玻璃”专利曝光 用于制造最好汽车显示屏



10月9日消息,据外媒报道,特斯拉电动汽车的用户体验主要集中在汽车的大型高分辨率显示屏上,再加上定制软件提供快速、智能手机般的体验,使得特斯拉显示屏成为汽车行业中最好的汽车屏幕之一。但本着公司不断创新的习惯,似乎特斯拉正在寻求进一步提高显示屏的质量。


特斯拉最近公布的一项专利名为“用于屏幕颜色匹配的全息装饰玻璃”,里面概述了该公司改善其汽车显示屏视角的方法。在专利中,特斯拉指出:“因为显示屏通常具有周期性微结构(例如像素化结构),显示屏的颜色可能取决于观看者注视显示屏的角度。这导致视角具有显着的改进空间,即使在高质量的屏幕中也是如此。”


微软CEO纳德拉:要将用户信任置于一切事情之上


据外媒报道,微软首席执行官萨提亚-纳德拉(Satya Nadella)日前在华盛顿特区举行的微软政府领导人峰会(Microsoft Government Leaders Summit)上发表了主旨演讲,他向与会者传达了一个信息,即要将用户对他们的平台和工具的信任至于一切事情之上。


他说,无论你的业务是什么,赢得用户的信任是至关重要的。“作为平台和工具的提供者,对我们来说,信任就是一切。”他说。但他表示,这绝不仅限于像微软这样的平台提供商。使用这些工具和平台的机构也必须将用户信任放在首位,否则就有疏远用户的风险。



今日话题

摩拜单车北京地区宣布涨价

每30分钟1.5元

你觉得定价合理吗?

你有多久没骑共享单车了?


登录查看更多
0

相关内容

Facebook 创始人。他的妻子是普莉希拉·陈(Priscilla Chan),他们育有一个女儿MAX。
广东疾控中心《新型冠状病毒感染防护》,65页pdf
专知会员服务
19+阅读 · 2020年1月26日
报告 | 2020中国5G经济报告,100页pdf
专知会员服务
98+阅读 · 2019年12月29日
【德勤】中国人工智能产业白皮书,68页pdf
专知会员服务
310+阅读 · 2019年12月23日
【大数据白皮书 2019】中国信息通信研究院
专知会员服务
138+阅读 · 2019年12月12日
清华大学张敏老师,个性化推荐的基础与趋势,145页ppt
专知会员服务
87+阅读 · 2019年11月27日
在中国被禁的探探,正在印度兴起
腾讯创业
4+阅读 · 2019年5月18日
刘强东人设崩了,京东没崩
PingWest品玩
6+阅读 · 2018年11月20日
刘强东清明节回湖南湘潭认祖,带给乡亲100亿“小礼物”
中国企业家杂志
7+阅读 · 2018年4月7日
噩耗再次传来!华为,挺住!
FinTech前哨
4+阅读 · 2018年2月4日
中国平安股价持续大涨背后
凤凰财经
5+阅读 · 2017年9月13日
Arxiv
23+阅读 · 2018年10月1日
Text classification using capsules
Arxiv
5+阅读 · 2018年8月12日
Arxiv
19+阅读 · 2018年6月27日
Arxiv
4+阅读 · 2018年5月10日
Arxiv
6+阅读 · 2018年3月27日
VIP会员
Top
微信扫码咨询专知VIP会员