三星最新专利:用眼神控制无人机的时代到来了

2018 年 2 月 20 日 DeepTech深科技 陈翔宇


近日,三星在美国获批了一份新型无人机的专利。这款无人机与我们常见的大不一样:它装有一块可以识别人脸、瞳孔,以及手势的屏幕。

 


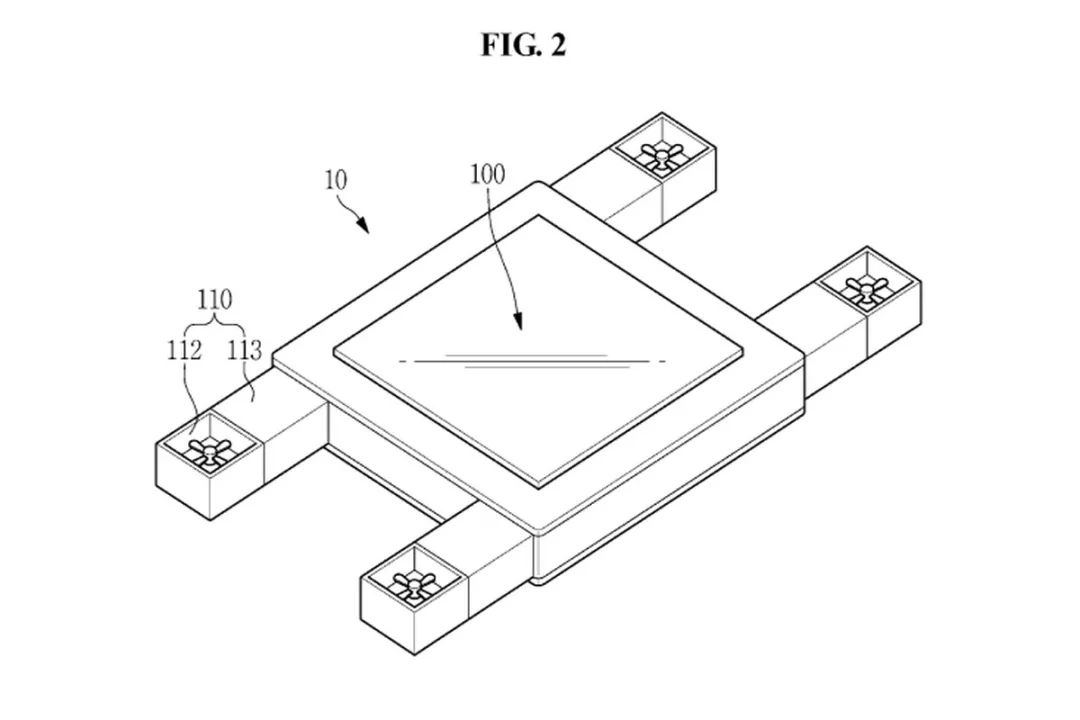
从上图我们可以看到,这款无人机是一个装有四个螺旋桨的屏幕。根据其专利文件描述,这是一款可以装载相机以及观察系统,并能将信息传输给主控单元的无人机。该观察系统可以实时跟踪用户的眼、头、手以及手指的运动。而用户则可以通过这些部位来控制无人机的飞行速度和方向。此外,这款无人机还可以在没有任何手势指令的情况下自动追踪用户。

 

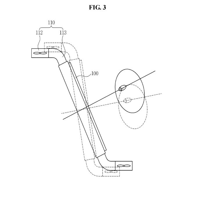
下图是这款无人机的侧视图。根据专利文件的描述,我们可以看到螺旋桨与屏幕之间有一个可以弯曲的部分(113)。它被称为“关节操控器”(JointManipulator),可以用于控制飞行的角度。而这款无人机也不仅仅被限制为四轴,它可以被设置为各种形态。

 


这款无人机还可能内含常规的的陀螺仪传感器,运动传感器,振动系统以及加速度计。其专利文件还描述了可能存在的语音识别功能、GPS 以及基于 WIFI 的定位系统。此项专利是在 2016 年 1 月 3 日递交到美国专利局,于 2018 年 2 月 13 日被批准的。

 

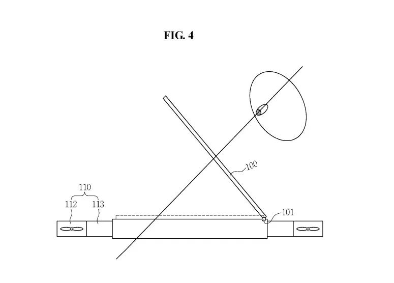
从下图中我们可以看到,无人机的屏幕(100)角度也是可以改变的。专利文件显示,它还将拥有一个障碍检测单元,让它在飞行时可以自动避开其他物体以及障碍。

 

 

除了三星,亚马逊也对多款概念无人机申请了专利,例如可以在紧急时刻自毁的那种。


至于三星这款无人机的应用场景,估计最有潜力的莫过于作为广告投放了。想象一下,当你走在马路上,迎面突然飞来一架无人机,它可以根据你的表情反应来投放不同的广告,你有没有突然产生一股不寒而栗的感觉呢?


-End-


参考:https://www.theverge.com/circuitbreaker/2018/2/19/17027090/samsung-flying-drone-facial-eye-detection-patent


登录查看更多
0

相关内容

不需要驾驶员登机驾驶的各式遥控飞行器。
最新《深度学习行人重识别》综述论文,24页pdf
专知会员服务
81+阅读 · 2020年5月5日
3D目标检测进展综述
专知会员服务
193+阅读 · 2020年4月24日
智能交通大数据最新论文综述-附PDF下载
专知会员服务
106+阅读 · 2019年12月25日
MIT新书《强化学习与最优控制》
专知会员服务
282+阅读 · 2019年10月9日
自动驾驶技术解读——自动驾驶汽车决策控制系统
智能交通技术
30+阅读 · 2019年7月7日
未来20年(2019—2039)的50个技术预测
全球创新论坛
5+阅读 · 2018年12月16日
进攻机动作战中的机器人集群
无人机
31+阅读 · 2017年12月4日
【无人机】无人机的自主与智能控制
产业智能官
53+阅读 · 2017年11月27日
Neural Image Captioning
Arxiv
5+阅读 · 2019年7月2日
Exploring Visual Relationship for Image Captioning
Arxiv
15+阅读 · 2018年9月19日
Physical Primitive Decomposition
Arxiv
4+阅读 · 2018年9月13日
Arxiv
12+阅读 · 2018年9月5日
Arxiv
9+阅读 · 2016年10月27日
Arxiv
3+阅读 · 2012年11月20日
VIP会员
相关资讯
相关论文
Neural Image Captioning
Arxiv
5+阅读 · 2019年7月2日
Exploring Visual Relationship for Image Captioning
Arxiv
15+阅读 · 2018年9月19日
Physical Primitive Decomposition
Arxiv
4+阅读 · 2018年9月13日
Arxiv
12+阅读 · 2018年9月5日
Arxiv
9+阅读 · 2016年10月27日
Arxiv
3+阅读 · 2012年11月20日
Top
微信扫码咨询专知VIP会员