HTC推移动VR专利,搭载磁性保护盒 | 热点

2018 年 1 月 30 日 镁客网 巫盼


世界知识产权组织发布的最新数据显示,HTC申请了一项依赖于智能手机,并且搭载了磁性保护盒的VR头显专利。


HTC的手机业务是一去不复返了,但是在VR领域却发展的风生水起。近日HTC又申请了一项Cardboard类移动的VR专利,搭载磁性保护盒,增加了产品的便携性。

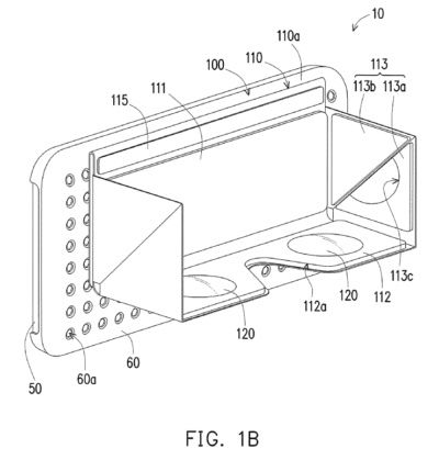
据悉,该产品被描述为一个“配件和透镜系统”,由两部分组成:一个用于容纳智能手机的保护盒,具有磁性后板;一个可折叠的双透镜设置,可以用磁性方式连接到配件上。一旦从保护盒中取出,系统就会折叠成看起来像是一个依赖于手机屏幕的小型VR模块。可以将智能手机从底部滑入设备,并用双手握住该设备进行体验VR内容。当折叠时,头显看起来比谷歌纸盒更小,结构也更简单,而可折叠的性质使它非常紧凑,便于携带。HTC并未具体说明哪种材料最适合用来制造这款小头显。

早在2016年7月时,HTC就曾向美国专利及商标局(USPTO)提交了专利申请,不过由于当时对设备方面的描述过于含糊不清,也没有表明该设备的独特性质(即允许设备归类为新发明的特性),在同年11月,美国专利及商标局驳回了HTC的申请。在经过HTC的多次修改后,USPTO在今年1月早些时间批准了这项申请。

HTC原本计划在今年发布一款基于Daydream的移动VR一体机,但最后只与高通合作发售了基于高通方案的移动VR一体机产品。一如既往,专利并不一定意味着商业化。

/- 推荐阅读 -/



▲ 比特人生:信仰下的欲望、疯狂与迷惘 | 特稿


 双面银隆


 国内真正有技术开发能力的不足200人,区块链是否“只是一种传说”?| 深度

镁客网


科技 | 人文 | 行业

微信ID:im2maker
长按识别二维码关注

硬科技第一产业媒体

提供最有价值的行业观察

登录查看更多
0

相关内容

IEEE虚拟现实会议一直是展示虚拟现实(VR)广泛领域研究成果的主要国际场所,包括增强现实(AR),混合现实(MR)和3D用户界面中寻求高质量的原创论文。每篇论文应归类为主要涵盖研究,应用程序或系统,并使用以下准则进行分类:研究论文应描述有助于先进软件,硬件,算法,交互或人为因素发展的结果。应用论文应解释作者如何基于现有思想并将其应用到以新颖的方式解决有趣的问题。每篇论文都应包括对给定应用领域中VR/AR/MR使用成功的评估。 官网地址:http://dblp.uni-trier.de/db/conf/vr/
Python导论,476页pdf,现代Python计算
专知会员服务
264+阅读 · 2020年5月17日
基于视觉的三维重建关键技术研究综述
专知会员服务
166+阅读 · 2020年5月1日
2019中国硬科技发展白皮书 193页
专知会员服务
86+阅读 · 2019年12月13日
【电子书】C++ Primer Plus 第6版,附PDF
专知会员服务
88+阅读 · 2019年11月25日
【白皮书】“物联网+区块链”应用与发展白皮书-2019
专知会员服务
94+阅读 · 2019年11月13日
基于虚拟现实环境的深度学习模型构建
MOOC
24+阅读 · 2019年9月28日
教辅巨头沉浮录(1978-2018)
创业家
3+阅读 · 2019年1月8日
【重磅】100大产业链全景图
全球创新论坛
11+阅读 · 2018年12月3日
网络安全态势感知
计算机与网络安全
26+阅读 · 2018年10月14日
VR下的啪啪啪,是单身狗的天堂,还是地狱?
猎云网
4+阅读 · 2017年11月18日
百度Apollo1.5:夜间恶劣视觉环境下也能精准识别障碍物!
全球人工智能
5+阅读 · 2017年9月21日
Factor Graph Attention
Arxiv
6+阅读 · 2019年4月11日
Arxiv
11+阅读 · 2018年9月28日
Arxiv
5+阅读 · 2018年5月1日
VIP会员
相关资讯
基于虚拟现实环境的深度学习模型构建
MOOC
24+阅读 · 2019年9月28日
教辅巨头沉浮录(1978-2018)
创业家
3+阅读 · 2019年1月8日
【重磅】100大产业链全景图
全球创新论坛
11+阅读 · 2018年12月3日
网络安全态势感知
计算机与网络安全
26+阅读 · 2018年10月14日
VR下的啪啪啪,是单身狗的天堂,还是地狱?
猎云网
4+阅读 · 2017年11月18日
百度Apollo1.5:夜间恶劣视觉环境下也能精准识别障碍物!
全球人工智能
5+阅读 · 2017年9月21日
Top
微信扫码咨询专知VIP会员