用户反映: iOS 14.2 耗电过快,受影响多为旧机型

2020 年 12 月 7 日 ZEALER订阅号


据用户反映: 

iOS 14.2 耗电过快,受影响多为旧机型


根据苹果官方论坛和 Reddit 社区用户的反映,iOS 14.2 似乎存在严重的耗电问题。目前受到影响的是较老的设备,主要以 iPhone XS,iPhone 7,iPhone 6S 和初代iPhone SE 为主。另外,2018 年的 iPad Pro 也不同程度的受到了影响。



目前反映的问题主要集中在耗电加快和充电时间延长,有用户表示,他们的设备最快在 30 分钟内就掉了 50% 的电量,在日常的使用中,明显看到电量在快速消耗。


不过似乎目前看来这是软件问题居多,原因是不少用户都遇上了电量长时间保持在高百分比后,电量突然极速下降的情况,也有些人在重启机器之后,电量又再次回归正常了。


根据外媒调查,苹果在 iOS 14.2.1 中似乎还没针对这一问题进行修复,这些问题或许能在 iOS 14.3 中得到解决。




苹果 M1 运行 Windows 10 

比 Surface Pro X 快2倍


自苹果发布基于 M1 芯片的 MacBook 后,有不少用户就尝试着在这台机器上安装 Windows。尽管这一操作没有得到微软和苹果的授权,但是已经有用户成功在机器上安装了 Windows 10 on ARM,并且还在上面运行了 Geekbench 跑分,跑分显示比微软 Surface Pro X 还要快上两倍。



有推特用户分享了苹果苹果 M1 设备和微软 Surface Pro X 运 行Windows 10 的 Geekbench 成绩,跑分我们可以看到,苹果 M1 的分数分别是单核 1399 分,多核 5450 分。与之相对的 Surface Pro X 单核得分 804,多核得分 3133。值得注意的是,Surface Pro X 是原生运行 Windows 10 on ARM,配备的是高通骁龙 8cx 处理器。



骁龙 8cx 是高通在 2018 年推出的计算机平台,并在 2019 年推出了第二代,主打低功耗和移动连接性能,这款芯片采用了 7nm 制程,具备 8 个 Kryo 495 CPU 核心、Adreno 680 GPU 核心、Hexagon 690 DPS/AI 引擎、Spectra 390 ISP。还支持 LPDDR4X 内存与 UFS 3.0 存储、QC4+ 快充技术。


针对跑分的分数,高通回应称目前正在研发具备竞争力的设备,未来的骁龙芯片表现会更好。




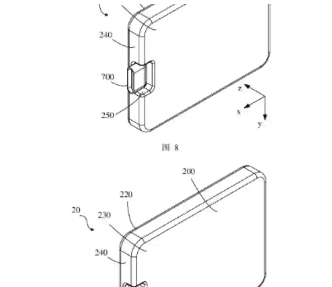
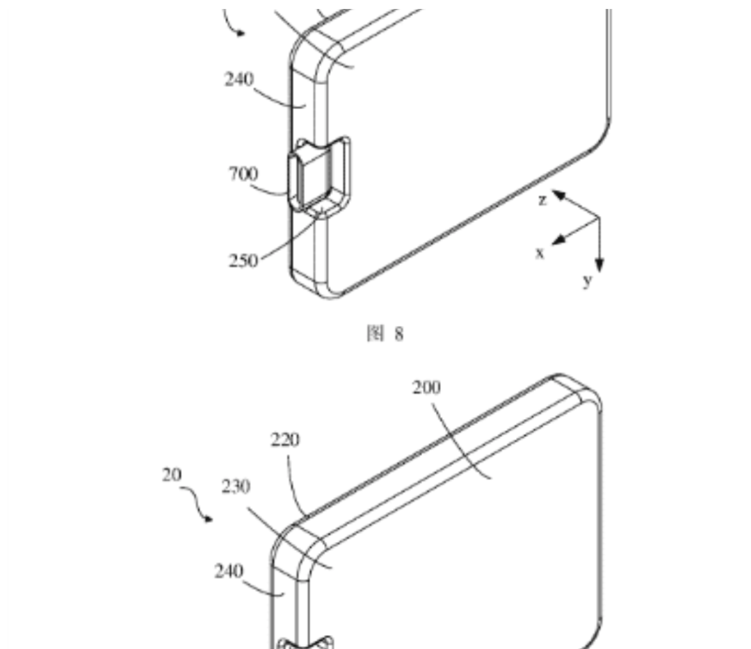
OPPO 新专利显示,未来摄像头或可拆卸


OPPO最近有一项新专利被披露,展示了手机可更换摄像头的设计。



根据世界知识产权局公布的细节图片,我们可以看到手机背后的摄像头模组可以被取出,并且与 USB-C 接口连接后,可用做自拍摄像头。这个摄像头模组包含两个摄像头和一个闪光灯。此外,根据专利图的说明,摄像头模组的 USB-C 连接器可以实现不同角度转换,意味着可以拍摄多角度的图像和视频。



由专利的描述可知,摄像头模组还可能包含 Wi-Fi,蓝牙或者 NFC 连接模块,用来实现远程的操控,同时,一颗小型电池也可能包含在内。不过,为了实现可更换摄像头的设计,机器内部的设计需要大改,相比起目前一体化的设计可能难度更高,而且这种方案的市场反响也不得而知。



此前,LG和摩托罗拉都尝试过模块化手机,比如 LG G5,MOTO Z,但均以失败告终。OPPO 这款机器想要正式上市,目前看来仍然有许多的问题需要攻克。






罕见!苹果 Macintosh Classic

透明原型机照片首曝


据 MacRumors,推特网友 DongleBookPro 最近分享了几张照片,展示了罕见的苹果电脑 Macintosh Classic “透明限定版”。



据了解,这款透明版本的 Macintosh Classic 应该是一款原型设备,它是此后采用了半透明机身的 iMac G3 等的“鼻祖”。


透明的机身让我们较清晰地看到了 Macintosh Classic 的内部构造,如 9 英寸 CRT 显示器等。这款机器的正面为彩虹色的苹果 Logo,相当醒目。



Macintosh Classic 于 1990 年发售,搭载了 8MHz 的摩托罗拉 68000 处理器,1MB 内存(可扩展至最大 4MB),采用了 512 x 342 分辨率的 9英寸显示器。此外,该机还搭载 40MB SCSI 硬盘、3.5 英寸软驱,自身重量超过了 7kg。





『热门推荐』


登录查看更多
0

相关内容

【AAAI2021-斯坦福】身份感知的图神经网络
专知会员服务
39+阅读 · 2021年1月27日
【腾讯IDC】数实共生:未来经济白皮书2021,81页pdf
专知会员服务
75+阅读 · 2021年1月24日
专知会员服务
52+阅读 · 2020年12月28日
【Nature-MI】可解释人工智能的药物发现
专知会员服务
45+阅读 · 2020年11月1日
5G边缘计算的价值机遇
专知会员服务
67+阅读 · 2020年8月17日
FPGA加速系统开发工具设计:综述与实践
专知会员服务
69+阅读 · 2020年6月24日
华为发布《自动驾驶网络解决方案白皮书》
专知会员服务
130+阅读 · 2020年5月22日
强化学习和最优控制的《十个关键点》81页PPT汇总
专知会员服务
107+阅读 · 2020年3月2日
抖音爬虫
专知
5+阅读 · 2019年2月11日
6 个吊炸天的黑科技工具,吊打所有同类软件
高效率工具搜罗
3+阅读 · 2018年11月13日
华为Mate20系列4款新机发布,售价最高超一万六
DeepTech深科技
3+阅读 · 2018年10月17日
最终还是凉凉?苹果将放弃 iPad mini 更新
ZEALER订阅号
5+阅读 · 2018年8月28日
抖音的 2017 和它背后的黑科技
PingWest品玩
8+阅读 · 2018年1月4日
有了场景和画像才懂用户
互联网er的早读课
6+阅读 · 2017年8月26日
Arxiv
0+阅读 · 2021年2月12日
Arxiv
0+阅读 · 2021年2月11日
Arxiv
10+阅读 · 2018年2月9日
Arxiv
5+阅读 · 2017年11月13日
VIP会员
相关VIP内容
【AAAI2021-斯坦福】身份感知的图神经网络
专知会员服务
39+阅读 · 2021年1月27日
【腾讯IDC】数实共生:未来经济白皮书2021,81页pdf
专知会员服务
75+阅读 · 2021年1月24日
专知会员服务
52+阅读 · 2020年12月28日
【Nature-MI】可解释人工智能的药物发现
专知会员服务
45+阅读 · 2020年11月1日
5G边缘计算的价值机遇
专知会员服务
67+阅读 · 2020年8月17日
FPGA加速系统开发工具设计:综述与实践
专知会员服务
69+阅读 · 2020年6月24日
华为发布《自动驾驶网络解决方案白皮书》
专知会员服务
130+阅读 · 2020年5月22日
强化学习和最优控制的《十个关键点》81页PPT汇总
专知会员服务
107+阅读 · 2020年3月2日
相关资讯
抖音爬虫
专知
5+阅读 · 2019年2月11日
6 个吊炸天的黑科技工具,吊打所有同类软件
高效率工具搜罗
3+阅读 · 2018年11月13日
华为Mate20系列4款新机发布,售价最高超一万六
DeepTech深科技
3+阅读 · 2018年10月17日
最终还是凉凉?苹果将放弃 iPad mini 更新
ZEALER订阅号
5+阅读 · 2018年8月28日
抖音的 2017 和它背后的黑科技
PingWest品玩
8+阅读 · 2018年1月4日
有了场景和画像才懂用户
互联网er的早读课
6+阅读 · 2017年8月26日
Top
微信扫码咨询专知VIP会员