京东无人仓亮相,物流领域也要「无人化」吗?

2017 年 10 月 10 日 36氪 夜叶


在物流领域,“无人化”的星星之火已然愈演愈烈,期待无人物流的未来能给我们带来更迅速、更好的用户体验。




文 | 夜叶


“无人”的战火如今已漫过前台用户的视线,烧到了后台难见着的领域。

京东官方消息,京东物流的无人仓日前亮相上海。此番京东公布的无人仓,关键词有二:“全流程”和“绿色环保”。

首先是“全流程”。按照京东的说法,上海这家无人仓实现了货物从入库、存储、包装、分拣的全流程、全系统的智能化和无人化。具体而言,这家仓库整体建筑面积为40000平方米,物流中心主体包括收货、存储、订单拣选、包装四个作业系统。

从货物入库、到打包等环节,无人仓配备3种不同型号的六轴机械臂;有3种型号不同的智能搬运机器人承担分拣任务;

分拣机器人

为实现机器人与周围环境的主动交互,这些机器人还匹配有2D视觉识别、3D视觉识别等技能;另外,货物存储方面,无人仓涵盖8组穿梭车立库系统,能同时存储商品6万箱。

视觉检验

据京东称,该无人仓最大的特点是机器人大规模、多场景的应用,多种功能特性各异的机器人各司其职,依照系统指令处理订单,还懂自行避让、优化路径等操作。正式运营后,无人仓的日处理订单的能力将超过20万单。

再来看看“绿色环保”这个关键词。京东方面介绍,这家无人仓的屋顶全为太阳能电池板,白天存储的电能夜间供库房作业。另外,仓库系统中还增添了包装材料的优化算法。过去打包环节因所需纸箱尺寸有差异,导致包装过度等问题,在新全自动打包系统下,能使材料物尽其用,减少浪费。

实际上,这并非京东无人仓的首秀。去年近双十一之际,京东揭露了无人仓的部分面纱,货架穿梭车、搬运机器人、分拣机器人、六轴机器人等物流机器人悉数亮相。据腾讯科技报道,当时京东无人仓存储效率超传统横梁货架存储效率10倍以上,并联机器人拣选速度可达3600次/小时,较传统人工高出5-6倍。

SHUTTLE货架穿梭车

智能搬运机器人AGV

DELTA型分拣机器人

六轴机器人6-AXIS

此外,刘强东7月发表第四次零售革命言论时还透露过,京东北京无人仓库已在建立,明年双十一前,将实现该仓库操作场地中没有一名员工,全由人工智能结合机器人技术运作。

京东之所以朝用户看不见的仓库大力投入,从刘强东过去的言谈中能窥得一二:借助人工智能、机器人等科技力量,将传统技术方法达到的运营成本和效率的极致,再次延展拓宽。

在国外,亚马逊在2012年开启了智能化仓储物流的道路。当年,亚马逊斥资7.75 亿美元收购Kiva Systems,后者开发的机器人后在亚马逊仓储中心得以应用。这些机器人能扛起重约750磅(约340公斤)的货物,不仅行动灵活,还能自动避障。

亚马逊的仓库里还有各样的机械臂,以新泽西佛罗伦萨仓库为例,8台机械臂在该仓库投入运作,那里大批量的商品被分成小批量,然后分发至全美各地的亚马逊配送中心。

目前,亚马逊已在全球各地部署超过10万台机器人,部署规模还将进一步扩大。

除用仓库机器人提升物流效率,降低成本外,亚马逊和京东都在探索无人机送货的未来。另外,年初,亚马逊被报道正研发自动驾驶汽车,有猜测称或将应用在未来无人卡车送货。刘强东日前也表示,京东在发展无人卡车,它主要的功用是作为移动配送站,传递大量信息给配送体系。

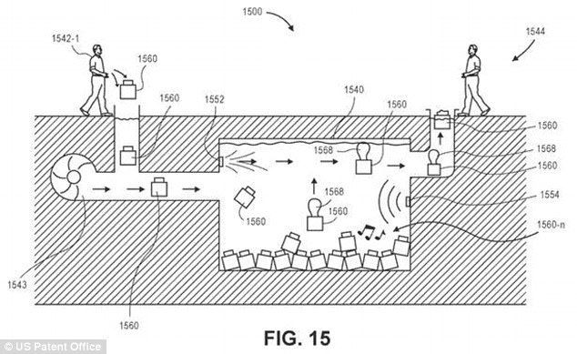
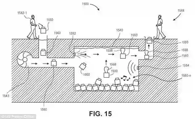
此外,亚马逊还有些大脑洞的专利,比如用于城市地区的、能“存放”数百个无人机的九层蜂巢(nine-story hive),还有几乎没有存储面积限制的水底仓库,不仅能分行存储,有效利用空间,用户还能随意自取,节省人力成本。

物流领域,“无人化”的星星之火已然愈演愈烈,期待无人物流的未来能给我们带来更迅速、更好的用户体验。



推荐阅读

点击下方图片即可阅读


自称「亚洲最大的智慧物流基地」,苏宁「超级云仓」到底长啥样?| 图说


登录查看更多
0

相关内容

中国最大的在线直营零售网站,2015年销售额约1813亿元人民币。 京东商城起家以3C产品(包括计算机、通讯和消费电子产品在内的三大电子种类的 简称)起家,现发展成为国内B2C电子商务市场中第一家营收突破百亿的多品类网络零售企业。
京东与其他B2C电子商务企业相比其中最显眼的在于其高效的自营加自建物流配送管理体系。
专知会员服务
126+阅读 · 2020年6月12日
商业数据分析,39页ppt
专知会员服务
165+阅读 · 2020年6月2日
少标签数据学习,54页ppt
专知会员服务
205+阅读 · 2020年5月22日
阿里巴巴达摩院发布「2020十大科技趋势」
专知会员服务
108+阅读 · 2020年1月2日
【德勤】中国人工智能产业白皮书,68页pdf
专知会员服务
310+阅读 · 2019年12月23日
【阿里技术干货】知识结构化在阿里小蜜中的应用
专知会员服务
98+阅读 · 2019年12月14日
2019中国硬科技发展白皮书 193页
专知会员服务
86+阅读 · 2019年12月13日
刘强东人设崩了,京东没崩
PingWest品玩
6+阅读 · 2018年11月20日
2018年中国供应链金融行业研究报告
艾瑞咨询
7+阅读 · 2018年11月20日
京东与斯坦福达成战略合作 携手推进AI研究
京东大数据
3+阅读 · 2017年11月28日
【AI说】揭秘京东实时数据仓库背后的神秘力量—JDQ
京东大数据
10+阅读 · 2017年9月14日
Arxiv
5+阅读 · 2017年12月29日
Arxiv
3+阅读 · 2017年12月14日
VIP会员
相关VIP内容
专知会员服务
126+阅读 · 2020年6月12日
商业数据分析,39页ppt
专知会员服务
165+阅读 · 2020年6月2日
少标签数据学习,54页ppt
专知会员服务
205+阅读 · 2020年5月22日
阿里巴巴达摩院发布「2020十大科技趋势」
专知会员服务
108+阅读 · 2020年1月2日
【德勤】中国人工智能产业白皮书,68页pdf
专知会员服务
310+阅读 · 2019年12月23日
【阿里技术干货】知识结构化在阿里小蜜中的应用
专知会员服务
98+阅读 · 2019年12月14日
2019中国硬科技发展白皮书 193页
专知会员服务
86+阅读 · 2019年12月13日
Top
微信扫码咨询专知VIP会员