折叠屏层出不穷,现在又轮到他们了?

2019 年 3 月 9 日 科技美学

之前联想已经表示,他们也在准备折叠屏手机了,事实上却是如此。

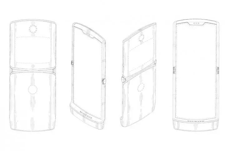
现在,XDA的大神们就在开发文档中发现了联想旗下摩托罗拉的新折叠屏手机,你完全可以把它看作是昔日经典V的升级版,因为屏幕是上下对折的。

摩托罗拉的折叠屏手机将在下月发布,虽然发布时间比华为和三星晚,但上市时间可是要大大领先这两家。产业链消息还强调,此次联想推出的摩托罗拉V3复刻版,可折叠手机设计以翻盖手机为灵感,具有独特的RAZR风格,特点是一个大的内部显示屏,在设备关闭时可以折成两半。

据悉,摩托罗拉这款折叠屏手机将在今年2月份亮相,并由美国Verizon独家推出,售价超过1500美元,折合人民币10200元。

此外,还有外媒给出消息称,摩托罗拉的折叠屏手机是不会把显示屏放在外面以此避免屏幕划伤的问题。

最近折叠屏手机大热,很多厂商都将加入折叠屏手机的研发中来。根据LetsGoDigital近日爆料,维信诺或推出自家折叠屏智能手机。随着折叠屏手机在MWC2019大展风头,折叠屏厂商也从幕后走向台前。因为小米展示双折叠屏原型机,其背后的合作厂商维信诺为人们所知。

2001年成立的维信诺和人们熟知的柔宇科技有诸多相似,多年来一直生产OLED屏幕,2017年实现柔性AMOLED产品量产出货,2018年启动第六代全柔AMOLED屏幕面板生产线。

除了凭借在面板生产方面的实力达成与小米的合作,近日曝光的一份专利显示,维信诺或将推出自家品牌的折叠屏手机。

2018年5月维信诺子公司维信诺云谷向世界知识产权组织(WIPO)提交的一项外观设计专利于2019年3月1日公开,该专利显示,维信诺设计了一款类似中兴AxonM的折叠屏手机。

虽然维信诺是否将推出自家折叠屏手机尚无定论,但是在MWC2019期间维信诺已经展示了向内翻折的折叠屏原型机和与努比亚合作的nubia-α腕机。在柔性屏手机渐受追捧的趋势中,以维信诺为代表的国内柔性屏厂商已经受到广泛关注。

近期文章精选:

便宜2000块 特殊版iPhone到底能不能买?

1398元起,魅族Note 9对标红米Note 7 Pro

QQ号将支持注销!各大软件注销教程汇总

一加7原来长这样?稍微有点意外

关于小米9的疑问集中解答

3000元你会选择哪一台手机?

商务合作  kejimeixue@163.com


登录查看更多
0

相关内容

联想集团有限公司,是中国一家总部设在北京市和美国北卡罗莱纳州罗利市的跨国科技公司,成立于1984年,由中国科学院计算技术研究所投资20万元人民币、11名科技人员创办,当时称为“中国科学院计算所新技术发展公司”。1989年,更名为“北京联想计算机集团公司”。 维基百科
3D目标检测进展综述
专知会员服务
193+阅读 · 2020年4月24日
【德勤】中国人工智能产业白皮书,68页pdf
专知会员服务
310+阅读 · 2019年12月23日
奔驰女车主同意和解,舆情分析全事件
THU数据派
10+阅读 · 2019年4月17日
华为和其“公关危机”下的5G发布会
1号机器人网
7+阅读 · 2019年1月27日
2018年你可以知道的AI搞笑段子
李开复
8+阅读 · 2019年1月4日
已删除
雪球
6+阅读 · 2018年8月19日
讯飞来了,一大批人将面临失业!
创业财经汇
5+阅读 · 2018年4月25日
Arxiv
5+阅读 · 2019年4月21日
Arxiv
9+阅读 · 2018年10月18日
Arxiv
7+阅读 · 2018年3月21日
Arxiv
13+阅读 · 2017年12月5日
VIP会员
相关资讯
奔驰女车主同意和解,舆情分析全事件
THU数据派
10+阅读 · 2019年4月17日
华为和其“公关危机”下的5G发布会
1号机器人网
7+阅读 · 2019年1月27日
2018年你可以知道的AI搞笑段子
李开复
8+阅读 · 2019年1月4日
已删除
雪球
6+阅读 · 2018年8月19日
讯飞来了,一大批人将面临失业!
创业财经汇
5+阅读 · 2018年4月25日
Top
微信扫码咨询专知VIP会员