马云超马化腾再成亚洲首富 马斯克呼吁禁止杀人机器人

2017 年 8 月 22 日 智东西 智东西早报

每日一早报,纵览昨夜今晨的行业大事件。

「智东西」早报第725期
2017.8.22 周二

#今日要闻#

1、马云超越马化腾登上亚洲首富宝座

阿里在发布预期财报后,其股价在上周上升10%,推动马云成为亚洲首富,腾讯创始人马化腾被挤下亚洲首富宝座。根据《福布斯》的实时富豪榜单,马云身家374亿美元,马化腾资产价值367亿美元,近来两人轮流坐庄亚洲首富。目前马云在全球富豪排行榜上名列第18位,在亚洲排名第一位,马化腾则列全球富豪榜第19位,在亚洲排名第二。

2、马斯克等百余名AI专家呼吁禁止杀人机器人

据媒体报道,特斯拉CEO埃隆·马斯克和谷歌DeepMind联合创始人Mustafa Suleyman在内的116名机器人学家和人工智能研究人员共同致信联合国,呼吁对自动化武器展开严格监督。这封公开信描述了机器人武器的风险,并认为急需部署有力措施。他们希望联合国将机器人武器添加到《特定常规武器公约》中。这份签署于1981年的公约以及与之平行的协议目前对化学武器、炫目激光武器、地雷等武器施加限制。

3、英国科学家开发出世界最小手术机器人


据英国媒体报道,英国剑桥医疗机器人公司研制出了世界上最小的手术机器人Versius,它可以为患者进行日常手术。该机器人可以模仿人类手臂,进行各种腹腔镜手术包括疝修补手术,结肠直肠手术,前列腺和耳鼻喉手术。剑桥医疗机器人公司称,外科医生可利用手术室的3D屏幕操纵机器人完成手术。

#人工智能#

1、亚马逊将用AI保护云存储中用户数据

据国外媒体报道,美国电商巨头亚马逊准备将人工智能技术用于云存储方面,来保护用户数据的安全。亚马逊通过机器学习技术自动识别、分类和保护用户保存在亚马逊云计算平台上的敏感数据。但引入人工智能技术之后,亚马逊在数据存储、数据权限和用户访问模式方面都将会面临一定的风险。

2、传Facebook在为Oculus测试语音助手


据Reddit网友透露,facebook似乎在给Oculus测试语音助手。该网友称,自己就职于Facebook的一家外包商。近日,他被分配了一项新任务:通过一款app来录制一些提示性语言(900个词左右)。这些词条中包括:“hey,Oculus帮我做XXX”等等指令。目前,Facebook官方尚未对此事有所回应。

3、亚马逊供应链实现自动化 针对中国优化

亚马逊宣布,在全球范围启动“无人驾驶”智能供应链系统。该供应链基于云技术、大数据分析、机器学习和智能系统等方面技术可实现自动预测、自动采购、自动根据客户需求调整库存精准发货等工作,从而对海量商品库存进行自动化、精准化管理的工作,并且整个过程零人工干预。此外,亚马逊中国还对全新的智能供应链系统进行本地优化,使系统结合考虑中国本地特有的公农历节假日、地域分布等对商品的影响,通过机器的自我学习,对供应链下端的仓储运营、运输配送进行更准确的指导。

#新出行#

1、高德和千寻位置研发自动驾驶定位解决方案

高德地图与千寻位置合作研发“高精度地图+高精度定位”产品,并且支持自动驾驶。据悉,该产品最快将于年内上市。高德正致力于汇总各类出行大数据,在云端进行综合分析处理,实现向AI 2.0时代的升级。千寻位置成立于2015年,注册资本20亿人民币,由中国兵器工业集团公司和阿里巴巴集团共同出资设立,各占50%股权,该公司计划以卫星定位为基础,结合各类定位技术和实际场景推出高精准位置服务。

2、“奥迪quattro之父”加盟爱驰亿维


奥迪quattro之父、阿波罗超跑缔造者Roland Gumpert确认加盟爱驰亿维,并任首席产品官CPO。Gumpert受命在德国成立爱驰亿维德国子公司爱驰恭博汽车公司,并出任执行董事。Gumpert早年在奥迪作为汽车底盘和动力总成领域的主要领导,曾参与了quattro驱动系统的开发,1982年至1986年任奥迪运动部门的负责人。2004年,Gumpert在MTM集团的支持下打造第一辆Apollo原型车。

3、武汉大学博士后自主研发出无人驾驶汽车


武汉大学博士后李明带领平均年龄25岁的团队,在武汉某园区测试自主研发的无人驾驶汽车。据悉,研究人员在一辆东风AX7的后背箱中安装了无人驾驶系统,没有对汽车的固件进行改装。该无人驾驶汽车通过预装APP进行操作,通过雷达和视频探测,能有效避开障碍物,按照规划路线行驶,一百公里平均油耗9L。

4、自动驾驶新构想:福特研发可拆卸方向盘


据外媒报道,从福特提交一项“可拆卸式”方向盘和油门踏板专利。申请描述到,自动驾驶汽车的座舱由仪表盘和连接口组装,连接口可以用于安装可拆卸的方向盘等传统汽车当中使用的配件,车主既可以手控操作也可以享受自动驾驶的乐趣。但是,在大多汽车中安全气囊都是安装在方向盘中,福特计划在可拆卸方向盘和仪表盘内部都安装安全气囊,若方向盘正常安装在车上,那么仪表盘内部的安全气囊将处于“待命”状态,一旦方向盘拆卸,那么仪表盘内的安全气囊将处于工作状态。

5、北汽新能源B轮融资111亿 下半年持续改革

据媒体报道,北汽集团表示,其旗下的北汽新能源融资已达111.18亿元,公司持股股东达到30余家。据悉,今年下半年,北汽集团将研究在更多业务板块引入社会资本,深化资产证券化、混合所有制改革等方面探索。北汽集团总经理张夕勇表示,近年来,按照中央和北京市部署,北汽集团不断深化国有企业改革,北汽新能源是第一批开展混合所有制改革、员工持股试点的市属国有企业。

6、ofo进入英国牛津 首批投放100辆可免押金

ofo小黄车宣布正式进入牛津,首批预计投放100辆免押金单车,此次投放车辆均采用新一代智能锁,收费标准为每半小时50便士(约4.84元)。此外,ofo小黄车还将于本周在剑桥发布适用于英国市场的新款车型。据ofo公布的数据,目前ofo在全球连接了超过800万辆共享单车,日订单超2500万。ofo方面预计,到2017年底,ofo将部署2000万辆自行车,在全球20个国家的200个城市开展服务。

7、大众微型电动巴士将量产 中国成主要市场


据外媒报道,大众在小圆石沙滩老爷车展上确认将量产I.D.Buzz概念电动微型巴士的消息。据悉,I.D.是该系列首款量产车,其预计在2019年开始生产、2020年进入市场。大众介绍称,I.D.Buzz将主要在美国、欧洲以及中国市场销售。目前,大众并未公布I.D.Buzz的具体配置,但通过概念车的配置可知,该款车动力方面为全轮驱动、369马力输出功率、111kWh电池组、300英里续航里程、150kWh快充系统。

8、特斯拉将实现自动调整座位、侧视镜功能


据国外网站teslarati报道,特斯拉CEO马斯克推特透露,特斯拉公司计划通过共享网络在云端保存驾驶员信息。马斯克正在车上开发这项功能,无论是特斯拉的拥有者,特许经营者还是网络乘客都可在特斯拉官方APP中分享自己的驾驶习惯,特斯拉可根据这些数据将座位,侧视镜,方向盘等设备自动调整到司机习惯的角度和方式。

9、快递公司DHL签订每年5千辆电动车购车协议

据媒体报道称,球物流公司DHL与Streetscooter品牌电动汽车签订了每年5000辆的购车协议,开始使用纯电动货运车。据悉,该款电动车型预计有16年的使用寿命,最高时速限定在每小时80公里,可以续航50-80公里,可根据货物的重量而定。DHL国际快递是一家全球性的国际快递公司,当前在五大洲拥有将近34个销售办事处以及44个邮件处理中心。

10、外媒:长城汽车总裁称有意收购Jeep品牌

据美国汽车新闻报道,中国长城汽车总裁王凤英证实,该公司有意收购菲亚特克莱斯勒汽车公司旗下的Jeep品牌。摩根士丹利在一份研究报告中表示,中资收购将为中国提供一条在美国市场迅速扩张的捷径,并且,SUV车型在中国广受欢迎。菲亚特克莱斯勒除了菲亚特和克莱斯勒品牌以外,其旗下还拥有Jeep、玛莎拉蒂、道奇、公羊和阿尔法罗密欧等著名汽车品牌。

11、我国政府出新规 欲扶持本地电动车厂商

共同社报道,日本的汽车厂商不得不加速在华电动汽车的生产。原因是中国政府出台新规,规定企业必须生产一定比例的环保车,若未完成指标将处以罚款,预计于2018年实施。包括中国本地汽车厂商在内,行业或面临激烈的销售竞争。日产、本田和丰田均计划推出新款电动汽车。据分析,中国政府有意扶持本地电动车厂商,生产纯电动汽车的厂商可享受优惠,但日本厂商擅长的混动车则不在优惠对象之列。

12、特斯拉Model X创最快SUV记录打败兰博基尼

据媒体消息,近日在一次赛车比赛中特斯拉电动汽车Model X P100D战胜了兰博基尼专业跑车。据悉,Model X P100D在在”Ludicrous“模式下,从0到60英里/小时(约合96公里/小时)加速仅需2.5秒钟,并且创下了速度最快SUV的记录,据悉,特斯拉在1/4英里(约合400米)的距离赛中,用时11.418秒,领先兰博基尼0.05秒,速度为每小时117.95英里(约合每小时190千米)。

13、美国将自动驾驶技术应用于“防撞缓冲车”


美国科罗拉多州将自动驾驶技术应用在防撞缓冲车上,Royal Truck and Equipment公司负责车辆整体构架,Kratos Defense公司负责将相关的自动驾驶技术集成到车上。该自动驾驶防撞缓冲车可以通过电脑,经由制动器和电控线缆实现方向盘和制动踏板的控制。工作人员可在紧急情况下关停这辆车。防撞缓冲车是指“屁股”后面装置缓冲垫的卡车,通常用于保护在公路上施工的人员的安全。

14、云度π1定位电动SUV 将于8月29日下线


云度新能源官方表示,其旗下纯电动小型SUV π1车型将于8月29日正式下线。新车外观方面,前进气格栅采用亮黑色全封闭样式,LOGO处可开启位快慢充电口,尾灯组由LED灯带和卤素灯泡两种光源组成。在科技与智能互联配置上,π1拥有电子排挡和电子驻车等功能,包括无匙系统、远程车辆控制、自定义多媒体平板终端等设备。动力方面,车辆采用纯电力驱动,电池分为城市版和城际版两款,城市版续航里程为200km,城际版续航里程为330km。

15、吉利MPV混动版亮相 或用GHS混合动力系统


相关媒体从相关渠道获取到一组吉利全新MPV车型的外观谍照。新车使用了吉利的家族式前脸,前格栅运用了回纹涟漪造型,采用油电混合动力,具体参数还无法得知,但有媒体猜测,该车的动力系统是吉利自主研发的GHS混合动力系统,由JLC-4G18型1.8L自然吸气发动机和电动机组成,其中发动机的额定功率为98kW(133马力),传动系统与发动机匹配的将是混合动力系统专用的行星齿轮式CVT无级变速箱。

#AR/VR#

1、美国AR约会应用FlirtAR融资150万美元


美国AR约会应用FlirtAR宣布完成150万美元的种子轮融资,并未对外披露投资方信息。这款APP由Artha Holding公司开发,该公司运用面部识别、地理定位和AR等技术,把平台上用户的脸部特征和地理位置信息结合起来。如果用户在现实中遇上另外一名用户,手机上就会显示出对方的姓名、年龄、兴趣爱好甚至当前收听音乐等信息,来为双方制造约会机会。

2、FB专利透露 公司完成AR眼镜基础技术开发


Facebook的Oculus部门申请了一项专利“二维扫描仪的波导显示屏”。该专利文件显示,Oculus部门目前已经完成AR眼镜的基础技术开发。这款AR眼镜使用波导显示屏能够利用数字元素增强现实环境,并且把图像直接投射到用户的眼睛上,而不是投射到传统显示屏上。目前,Facebook并未对于此专利作出任何评价。

#苹果派#

1、iPhone 8人脸识别速度将达百万分之一秒

据韩国媒体《韩国先驱报》最新消息称,三星目前正在为苹果iPhone 8生产OLED显示屏,iPhone 8的面部识别系统将通过3D传感器,可以在百万分之一秒之内深度感知用户的面部特征信息。同时根据《华尔街日报》的消息称,iPhone 8的人脸识别系统还将整合了红外功能,因此即使在黑暗或光线比较弱的环境中,依然可以正常工作。

2、传新iPhone无线充电器或单卖 售200美元

据iPhone供应链厂商表示,iPhone 8配备的无线充电设备的接收端芯片由博通代工,发射端无线充电芯片由恩智浦提供,并且,无线充电将兼容无线充电联盟(WPC)主导的 Qi 标准。此外,支持iPhone 8的无线充电器将单独售卖,或标价 200 美元。除了iPhone 8之外,iPhone 7s和iPhone 7s Plus预计也会支持无线充电。

3、苹果Siri陷专利诉讼 被指知道侵权仍引用

据媒体报道,一家名为Word to Info的公司诉讼苹果侵犯其7项专利,并声称关于其所被侵犯的专利,苹果至少是知道其中一项的,并且该专利在各种苹果IP中被引用了至少65次。Word to Info此次针对的是苹果设备的Siri智能语音助手中应用的相关技术。关于Word to Info这家公司的信息目前还很少,并且该公司对苹果所提出的索赔数额目前仍未知。

4、传iPhone7s配备玻璃后壳 可无线充电


外媒Technobuffalo曝出iPhone 7s和iPhone 7s Plus的CAD工程图照片。从图片来看这两款手机依然会采用上代的LCD 屏幕。另外CAD文件透漏iPhone 7s/7s Plus将会与iPhone 8 一样采用玻璃后壳,采用玻璃壳好处是可以简化天线的设计并支持无线充电,并且高端 iPhone 机型不会命名为 iPhone 8,而命名为iPhone X。

#通信圈#

1、京东、国美布局共享手机 iPhone每天9.9元

国美对外宣布,其全国1600多家门店正式推出“国美租租”手机租赁业务。声称,消费者只要月付330元、每天花11元,就能获得iPhone7(32G)一年的使用权。今年6月,京东正式上线手机租赁业务“京东保租”,用户在平台进行租赁手机,若租用iPhone7(128G)一年的使用权,折合一天花费9.9元。一些创业公司如随心用、蜜租等也开始布局手机共享市场。其中蜜租近日获得数百万元种子轮融资。

2、传谷歌小米将基于小米5X推AndroidOne手机

援引印尼媒体Krispitech报道,中国手机厂商小米有望和Google在Android One项目上开展合作,在5.5英寸小米5X的基础上推出搭载Android One系统的廉价亲民机型。这意味着这款小米手机将搭载原生Android操作系统,而非小米公司自家的MIUI界面。目前,外界无法知晓小米会如何设计、配置这款手机。

3、三星Note8弃用中国供应商ATL电池

业界消息称,在去年Galaxy Note7因起火隐患实施大规模召回后,三星电子已决定弃用来自中国长期合作伙伴新能源科技公司(ATL)的电池。三星即将在本周发布的Galaxy Note8将使用3300mAh电池,这些电池将由三星SDI公司和日本零部件制造商村田制作所生产。三星SDI将负责生产80%的Galaxy Note8电池,剩余20%交由村田制作所生产。

#机器人/无人机#

1、浙江“机器人+”计划加快在6个领域应用

浙江省发布《浙江省“机器人+”行动计划》。《行动计划》提出,到2020年,浙江省机器人创新体系进一步完善,机器人应用进一步拓展,加快在制造、物流、健康、服务、农业和特殊领域等6个领域的机器人应用。如在“机器人+健康”方面,鼓励医院在高精度高难度手术中使用手术机器人、推广应用养老助残机器人、在基层医院应用远程医疗机器人等。

2、亚马逊之后 沃尔玛申请了无人机送货专利


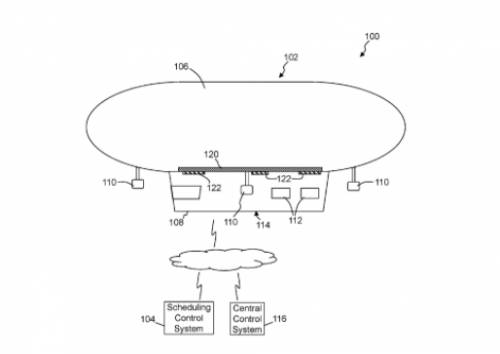
据美国CNBC报道,沃尔玛已经向美国申请了一项空中仓库专利,该项专利可以通过无人机向购物者送货。专利中描述的空中仓库类似于飞艇,飞行高度达1千英尺(约300米),通过充气载体飞机和无人驾驶飞机系统分发产品,该系统由人类飞行员自主或远程操作,沃尔玛称,申请此专利目的在于减少交付产品过程的延误,降低成本投入。亚马逊曾在去年获得类似专利。

3、缅甸用无人机播种 1天种10万棵树

英国公司生碳工程BioCarbon Engineering与非盈利组织合作,用无人机在缅甸播种。据悉,无人机需飞行到300多英尺的高空中,收集相关地形和土壤的资料,计算出播种的最佳地点。然后无人机根据运算结果将种子射出至目标土壤中,其误差仅几公分的范围。一位工作人员能够同时监控6架无人机,每天能种10万棵树。

#新进展#

1、互联网汽车金融平台融资130亿 BATJ都入局

2017年至今,互联网汽车金融平台融资总额已超过130亿元,百度、阿里、腾讯和京东四大互联网巨头也进入市场进行布局。百度不仅布局无人驾驶汽车还投资优步、优信二手车等车企。阿里成立汽车事业部,与上海通用汽车战略合作,在汽车大数据营销、汽车金融、原厂售后O2O业务和二手车置换四大领域展开合作。腾讯曾投资汽车电商平台优信拍、易鑫金融等车企,并完成了在新车电商及二手车电商C2B、C2C、B2B主要细分领域的布局。京东投资易鑫金融,在汽车金融贷款业务领域也有所涉猎。

2、西安现共享购物车 开锁方式与ofo一样


近日,西安市一超市门口出现了共享购物车。购物车扫码使用,押金99元,一小时收费1元,开锁方式和共享单车ofo小黄车一样,可推回小区。该项目发起人表示,前期做市场调研时发现共享购物车是一种刚需,大多数市民在超市采购的东西都比较多,共享购物车就是为了解决短距离负重问题。

#A股必看#

1、中航机电半年度净利1.80亿 同比增长18%

中航机电发布2017年半年报,公司2017年1-6月实现营业收入40.34亿元,同比增长7.47%,国防军工行业平均营业收入增长率为9.38%,归属于上市公司股东的净利润1.80亿元,同比增长17.93%,国防军工行业平均净利润增长率为7.98%。

2、沪电股份预计前三季度净利润至少增147%

沪电股份发布业绩预告,公司预计2017年1-9月归属上市公司股东的净利润1.60亿至1.90亿,同比变动147.25%至193.61%,半导体及元件行业平均净利润增长率为34.03%。

3、漫步者半年度净利7012万 同比增长约49%

漫步者发布2017年半年报,该公司2017年1-6月实现营业收入4.25亿元,同比增长35.11%,电子制造行业平均营业收入增长率为49.95%,归属于上市公司股东的净利润7012.76万元,同比增长48.74%,电子制造行业平均净利润增长率为32.14%。

4、欧菲光半年度净利6.20亿 同比增长69%

欧菲光发布2017年半年报,该公司2017年1-6月实现营业收入151.21亿元,同比增长37.28%,光学光电子行业平均营业收入增长率为39.13%,归属于上市公司股东的净利润6.20亿元,同比增长68.69%,光学光电子行业平均净利润增长率为24.02%。

5、利亚德上半年营业收入25.13亿 增45.09%

利亚德发布2017年半年报告,报告显示,该公司在报告期间营业收入25.13亿元,同比增长45.09%,归属于上市公司股东的净利润3.71亿元,同比增长102.04%。




每日一早报

热点·新品·招聘·资源·活动 最有效的行业对接

需求对接:微信添加“hawkren001”


登录查看更多
0

相关内容

广东汕头人,腾讯主要创办人之一,现担任公司控股董事会主席兼首席执行官。其公司代表作腾讯 QQ,微信,是中国大陆范围内影响力最大的个人网络即时通讯软件。2012 年名列福布斯中国富豪榜第八位。
【微众银行】联邦学习白皮书_v2.0,48页pdf,
专知会员服务
170+阅读 · 2020年4月26日
【复旦大学-SP2020】NLP语言模型隐私泄漏风险
专知会员服务
25+阅读 · 2020年4月20日
广东疾控中心《新型冠状病毒感染防护》,65页pdf
专知会员服务
19+阅读 · 2020年1月26日
【德勤】中国人工智能产业白皮书,68页pdf
专知会员服务
310+阅读 · 2019年12月23日
2019中国硬科技发展白皮书 193页
专知会员服务
86+阅读 · 2019年12月13日
刘强东清明节回湖南湘潭认祖,带给乡亲100亿“小礼物”
中国企业家杂志
7+阅读 · 2018年4月7日
李开复:已退掉所有区块链3点钟群 | 早报
中国企业家杂志
4+阅读 · 2018年3月8日
热点 | 深圳无人驾驶公交车正式运营!
机器学习算法与Python学习
3+阅读 · 2017年12月4日
猝不及防!刚刚,马云重大宣布,沸腾了全中国!
今日互联网头条
3+阅读 · 2017年11月23日
Large-Scale Study of Curiosity-Driven Learning
Arxiv
8+阅读 · 2018年8月13日
Arxiv
11+阅读 · 2018年1月15日
VIP会员
相关VIP内容
【微众银行】联邦学习白皮书_v2.0,48页pdf,
专知会员服务
170+阅读 · 2020年4月26日
【复旦大学-SP2020】NLP语言模型隐私泄漏风险
专知会员服务
25+阅读 · 2020年4月20日
广东疾控中心《新型冠状病毒感染防护》,65页pdf
专知会员服务
19+阅读 · 2020年1月26日
【德勤】中国人工智能产业白皮书,68页pdf
专知会员服务
310+阅读 · 2019年12月23日
2019中国硬科技发展白皮书 193页
专知会员服务
86+阅读 · 2019年12月13日
Top
微信扫码咨询专知VIP会员