魅族黄章自降新品预期、红米 Note 5 发布…这一周科技圈都有哪些大事?

2018 年 3 月 16 日 ZEALER订阅号 一周科技速报


「一周科技速报」是 ZEALER 订阅号全新推出的一档资讯类栏目,为你快速回顾最近一周的科技大事。



星期一


荣耀畅玩 7C 发布 主打人脸识别功能


3 月 12 日,荣耀正式在北京发布了旗下新品荣耀畅玩 7C 。荣耀畅玩 7C 搭载高通骁龙 450 处理器,配备 3GB/4GB RAM 可选 32GB/64GB ROM 可选,使用一块 5.99 英寸 1440*720P 分辨率屏幕,前置一颗 800 万像素摄像头,后置 1300 万 + 200 万像素双摄像头,电池方面采用一块 3000mAh 电池。3GB+32GB 标配版售价 899 元,4GB+64GB 高配版售价 1299 元。



MIUI 固件泄漏 米 7 搭载刘海屏


3 月 12 日,XDA 报道,有开发者拿到了小米 7 最新的 MIUI 7 固件,根据固件内信息显示,小米 7 将采用骁龙 845 处理器,使用 OLED 屏幕,搭载 3400mAh 电池,此外在固件中还发现了 “Notch” 的字眼,说明小米 7 很可能会采取“刘海屏”。



贾跃亭晒最新动态 FF91 高寒测试中


3 月 12 日上午,贾跃亭更新微博动态,称新车 FF91 正在明尼苏达州进行冬季高寒测试,从微博配图中来看,FF91 首次改成了红黑相间的涂装。



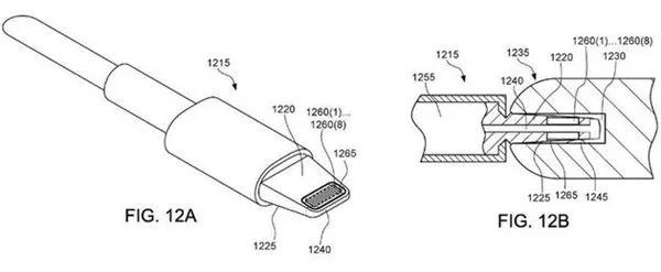
苹果新专利曝光 Lightning 接口变楔形


外媒 Patently Apple 报道,美国专利与商标局今天公布了苹果的两项新专利。在第一个专利中,Lightning 接口的形状从矩形改为楔形,能够更好的贴合设备充电口,防止液体流入设备内部;第二个专利则是在充电口内部添加一个活塞部件用于防水。这两项专利的目的很简单:提高设备防水性能。



星期二


vivo 放出 X21 正面照,确认使用刘海屏


vivo 正式在微博放出了新品 vivo X21 的正面照,从官方给出的图片看,X21 将采用时下流行的“刘海屏”,不过“刘海”的面积要小于 iPhone X ,此外,我们还可以从海报上看到 vivo 与 2018 年世界杯达成了合作,将作为 2018 世界杯全球官方手机。



ofo 宣布完成 E2-1 轮融资 8.66 亿美元


3 月 13 日,ofo 宣布完成 E2-1 轮融资 8.66 亿美元,据悉,此次融资由阿里巴巴领投,灏峰集团、天合资本、蚂蚁金服与君理资本共同跟投。



索尼 Xperia XZ2/Compact 港版正式发布


此前在 MWC 2018 上亮相的索尼 Xperia XZ2/Compact 正式在香港发布,配置方面采用高通骁龙 845 处理器,配备 6GB+64GB 内存组合,有银、黑、绿、紫四种颜色可选,售价方面,Xperia XZ2 港版为 6198 港币,Xperia XZ2 Compact 为港币 4998 元。



雷军辞去猎豹移动董事长职位 傅盛继任


3 月 13 日,猎豹移动官网发布公告,宣布对董事会进行更改。其中雷军已提请辞去董事长和董事会成员职务,公司 CEO 将由傅盛继任。



星期三


物理学家史蒂芬·霍金去世,享年 76 岁


2018 年 3月14 日,知名物理学家史蒂芬·霍金在英国剑桥的家中逝世,享年 76 岁。



苹果正式宣布 WWDC 2018 召开时间


苹果在北京时间 3 月 14 日凌晨正式公布了 WWDC 2018 的召开时间及地点。WWDC 2018 将于美国当地时间 6 月 4 日至 6 月 8 日在加州圣何塞举行。届时苹果将推出 iOS 12,macOS 10.14,watchOS 5 和 tvOS 12 系统。



博通正式放弃收购高通


在被美国总统特朗普以安全为由叫停后,博通将正式撤回了收购高通的提议。



联发科 Heilo P60 国内正式发布


3 月 13 日下午联发科在北京 798 艺术区正式发布 Helio P60 处理器。这款 P60 处理器的亮点在于加入了独立双核 AI 处理单元,可用于人脸识别、人脸检测、语音识别、个人化应用等方面。制造工艺上,基于台积电 12nm 工艺制造,核心数为 8 核(由 4 颗 A73 核心加 4 颗 A53 核心构成),搭载 800 MHz 的 ARM Mali-G72 MP3,相较 P30 性能提升达到 70%。



孙宏斌辞去乐视网董事长职务


3 月14 日,乐视网发布公告,表示孙宏斌先生因工作安排调整原因向公司申请辞去乐视网董事长职务,退出董事会,并不在乐视网担任任何职务。据悉,孙宏斌原定任期至 2018 年 10 月 13 日。



星期四


迅雷发布 2017 年 Q4 财报 净营收 64 亿元


3 月 15 日,迅雷正式公布了 2017 年第四季度的财务报告,根据报告显示,迅雷在第四季度总营收约为 8,240 万美元。迅雷表示 Q4 实现盈利,并且创造了自上市以来的最高纪录。



索尼 4K 全面屏旗舰曝光


3 月 15 日,网络上流传出一份索尼新机的 Uaprof 文件,根据文件中参数显示,索尼新机代号 H8176 ,将配备 4K 级别屏幕。



复兴号宣布将于 4 月 10 日起扩容提速


微博@上海发布 3 月 15 日宣布,“复兴号”将于 4 月 10 日起扩容提速,即使用“复兴号”动车组担当的列车由现行的 7 对增至 15 对,按时速 350 公里运行。北京南站到上海虹桥站列车 2 对改为上海站终到、始发,调整后北京南站到上海虹桥站列车改为 40 对。



星期五


红米 Note 5 正式发布


3 月 16 日下午,小米在北京正式发布了最新一代红米 Note 系列手机——红米 Note 5,该机搭载高通骁龙 636 处理器,3GB/4GB/6GB RAM,32GB/64GB ROM 可选,屏幕方面使用一块 5.99 英寸 18:9 全面屏,前置 1300 万像素摄像头(配备前置柔光灯),后置 1200 万(支持 Dual PD 双核对焦,1.4μm,f/1.9 光圈) + 500 万像素双摄像头,电池方面为一块 4000mAh 电池,支持 QC 3.0 快速充电。售价方面,3+32GB 1099,4+64GB 1399 元,6+64GB 1699 元。



魅族黄章自降新品 15 预期,新旗舰 16 8 月发布


3 月 16 日下午,魅族创始人、CEO 兼董事长黄章在魅族论坛中回帖表示“由于时间关系,15 只是我多年后回归魅族的小试牛刀,随后推出的 16 系列才是我全力打造的产品。”此外,他还透露了新产品 16 的发布进度“16系列紧跟着8月份左右就能推出”



李嘉诚宣布正式退休


3 月 16 日下午,在长和系年度业绩发布会上,即将 90 岁的李嘉诚正式宣布将在 2018 年 5 月 10 日退休,其长子李泽钜将接任长和董事会主席。




登录查看更多
0

相关内容

AI创新者:破解项目绩效的密码
专知会员服务
35+阅读 · 2020年6月21日
【复旦大学-SP2020】NLP语言模型隐私泄漏风险
专知会员服务
25+阅读 · 2020年4月20日
【德勤】中国人工智能产业白皮书,68页pdf
专知会员服务
310+阅读 · 2019年12月23日
2019中国硬科技发展白皮书 193页
专知会员服务
86+阅读 · 2019年12月13日
已删除
架构文摘
3+阅读 · 2019年4月17日
ofo商业模式破产
1号机器人网
6+阅读 · 2019年1月29日
华为和其“公关危机”下的5G发布会
1号机器人网
7+阅读 · 2019年1月27日
华为Mate20系列4款新机发布,售价最高超一万六
DeepTech深科技
3+阅读 · 2018年10月17日
刘强东清明节回湖南湘潭认祖,带给乡亲100亿“小礼物”
中国企业家杂志
7+阅读 · 2018年4月7日
2017企业阵亡最全名单公布
小饭桌
6+阅读 · 2018年2月28日
2017创业阵亡最全名单曝光,触目惊心!
今日互联网头条
5+阅读 · 2017年12月26日
小米Note3 ‖ 国产首款支持人脸解锁手机
机械鸡
4+阅读 · 2017年9月12日
Directions for Explainable Knowledge-Enabled Systems
Arxiv
26+阅读 · 2020年3月17日
Mesh R-CNN
Arxiv
4+阅读 · 2019年6月6日
Augmentation for small object detection
Arxiv
13+阅读 · 2019年2月19日
Arxiv
8+阅读 · 2018年1月12日
VIP会员
相关资讯
已删除
架构文摘
3+阅读 · 2019年4月17日
ofo商业模式破产
1号机器人网
6+阅读 · 2019年1月29日
华为和其“公关危机”下的5G发布会
1号机器人网
7+阅读 · 2019年1月27日
华为Mate20系列4款新机发布,售价最高超一万六
DeepTech深科技
3+阅读 · 2018年10月17日
刘强东清明节回湖南湘潭认祖,带给乡亲100亿“小礼物”
中国企业家杂志
7+阅读 · 2018年4月7日
2017企业阵亡最全名单公布
小饭桌
6+阅读 · 2018年2月28日
2017创业阵亡最全名单曝光,触目惊心!
今日互联网头条
5+阅读 · 2017年12月26日
小米Note3 ‖ 国产首款支持人脸解锁手机
机械鸡
4+阅读 · 2017年9月12日
相关论文
Directions for Explainable Knowledge-Enabled Systems
Arxiv
26+阅读 · 2020年3月17日
Mesh R-CNN
Arxiv
4+阅读 · 2019年6月6日
Augmentation for small object detection
Arxiv
13+阅读 · 2019年2月19日
Arxiv
8+阅读 · 2018年1月12日
Top
微信扫码咨询专知VIP会员