反无人机枪榴弹

2019 年 2 月 10 日 无人机

在去年的圣诞假期中,英国的英国盖特威克机场和希思罗机场、美国的泰特伯勒机场先后遭受了无人机干扰,导致航班暂停,打乱了圣诞出游者的假期计划。 来自美国陆军新泽西州Picatinny Arsenal兵工厂的Tomasz Blyskal, Richard Fong和LaMar Thompson工程师,共同研发了可打击无人机的40mm枪榴弹。

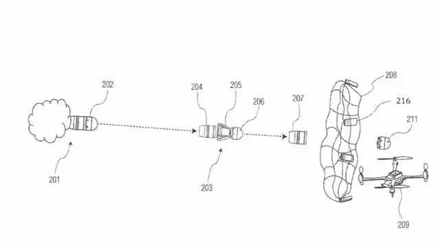
通过M320便携式榴弹发射器或者更大更重的Mk-19发射器,士兵可以精准打击流氓无人机。前者可以有效打击数百码之内的无人机,而后者的打击范围更大。一旦该枪榴弹发射靠近无人机之后,枪榴弹内的伺服器就会发射ogive (nose)打击,使得内部加重的网能够弹出并伸展直径至6-9米(20到30英尺)范围内,从而诱捕无人机并让其坠落地面。

根据军方的说法,最初的测试表明,枪榴弹比其他无人驾驶飞机的其他方法更有效,因为不需要无人机驾驶技能。此外,因为一个人可以携带数十枚榴弹,所以该系统能够更好地捕获成群的无人机。

Matt Hecht/Air National Guard


往期热文(点击文章标题即可直接阅读)









登录查看更多
1

相关内容

不需要驾驶员登机驾驶的各式遥控飞行器。
基于视觉的三维重建关键技术研究综述
专知会员服务
166+阅读 · 2020年5月1日
专知会员服务
45+阅读 · 2020年3月6日
MIT新书《强化学习与最优控制》
专知会员服务
282+阅读 · 2019年10月9日
如何将深度学习应用于无人机图像的目标检测
AI研习社
7+阅读 · 2018年12月2日
无人机集群、蜂群与蜂群算法
无人机
94+阅读 · 2018年9月25日
【无人机】无人机的自主与智能控制
产业智能官
53+阅读 · 2017年11月27日
已删除
Arxiv
33+阅读 · 2020年3月23日
Arxiv
3+阅读 · 2018年6月1日
Arxiv
3+阅读 · 2018年4月11日
Arxiv
6+阅读 · 2018年2月26日
VIP会员
相关论文
Top
微信扫码咨询专知VIP会员