突然!锤子科技10位高管集体退场 罗永浩又卸任 温洪喜仍接盘

2019 年 3 月 29 日 TechWeb


3月28日,根据企查查官网数据显示,锤子软件(北京)有限公司发生工商信息变更,法定代表人由罗永浩变为温洪喜,前锤子科技CTO钱晨、陌陌CEO唐岩以及朱萧木、赵亮、应超、辛明、铁岭、郑刚、徐寒、吴泳铭10位高管从主要人员中移除。



至此,曾经属于老罗的锤子品牌及其相关公司,现已悉数受让,慢慢“改姓他人”了。



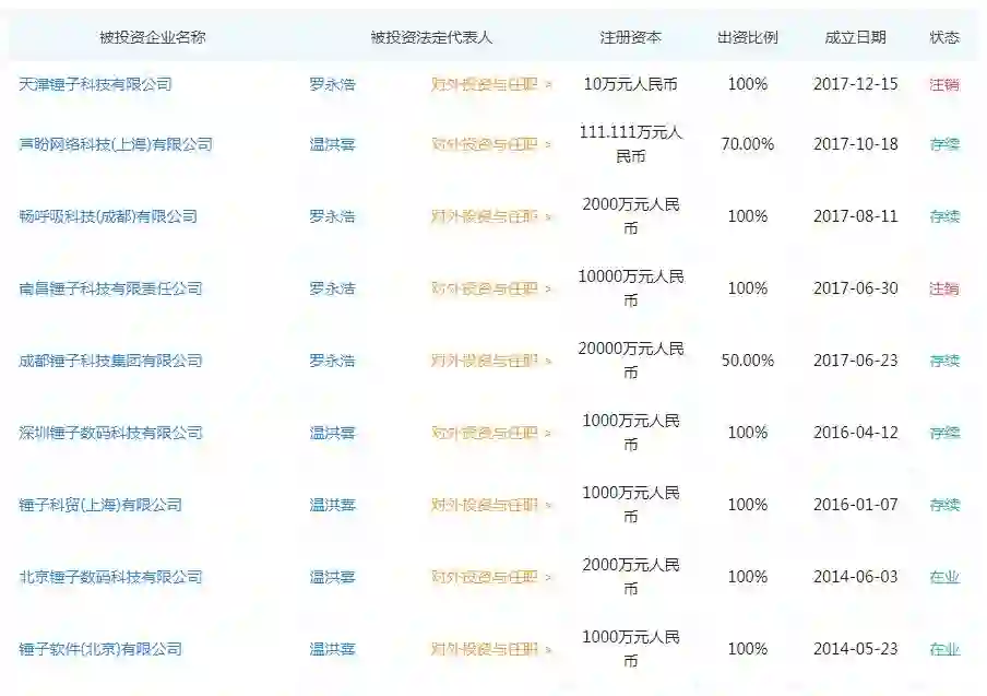
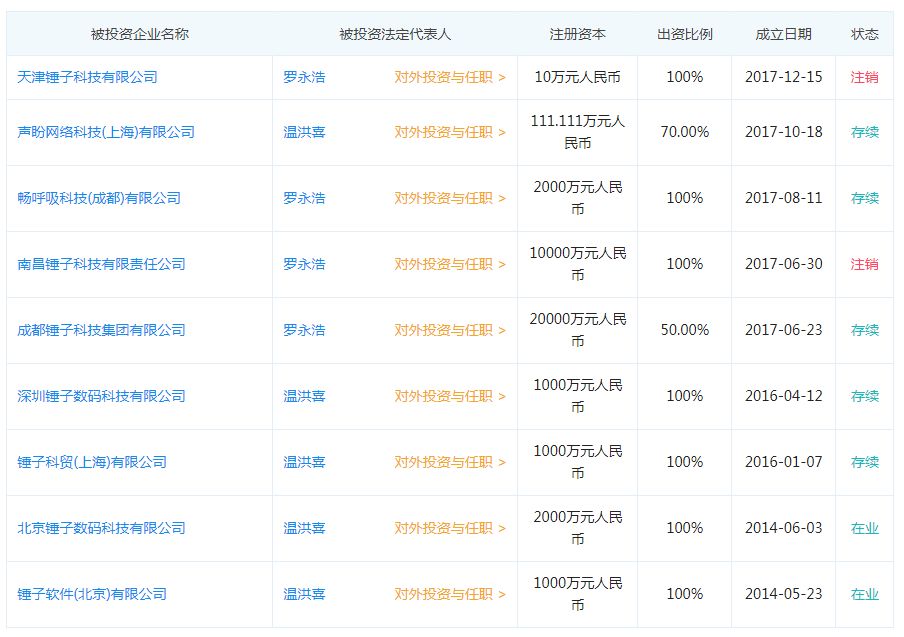
锤子科技总共对外投资控股10家公司,包括锤子软件、北京锤子数码科技有限公司、天津锤子科技有限公司、锤子科贸(上海)有限公司、深圳锤子数码科技有限公司、声盼网络科技(上海)有限公司、南昌锤子科技有限责任公司、畅呼吸科技(成都)有限公司、成都锤子科技集团有限公司、成都野望数码科技有限公司。


在上述10家公司中,温洪喜已经是其中6家公司的法定代表人,均在近期发生工商变更。


温洪喜何许人也?锤子科技CEO罗永浩在老罗英语培训时的同事。



事实上,从去年12月开始,罗永浩陆续卸任了4家锤子旗下公司(北京锤子数码科技有限公司、深圳锤子数码科技有限公司、成都野望数码科技有限公司、锤子科贸(上海)有限公司)的法定代表人;2019年2月5日和2月28日,先后退出“聊天宝”相关公司股东行列;3月8日,罗永浩将锤子科技生态链品牌——畅呼吸出售给了优点科技。


而坊间一直传说老罗退出手机圈,是要进军电子烟市场,然天不有不测风云,前脚刚迈进资本的宠儿电子烟市场,后脚就被央视315质疑曝光,老罗半只脚刚踏进,到底是进是退,也是关心他的人现今唯一能关注的事情吧。


面对“老罗干一行跨一行”的“美名”,网友们更是祈愿:“求求你进军房地产吧!”也是十分的魔幻现实了。


— 【 THE END 】—


往期精彩文章回顾:


卖电瓶还员工工资、用户退押金无望!共享电单车也凉了...


微信回应被指偷窥聊天内容精准推送广告:没监控聊天记录


造词鬼才!三星加入“群聊”回怼华为:手机拍照总分我才是第一名

登录查看更多
0

相关内容

罗永浩创办的锤子科技有限公司 http://www.smartisan.com
AI创新者:破解项目绩效的密码
专知会员服务
35+阅读 · 2020年6月21日
商业数据分析,39页ppt
专知会员服务
165+阅读 · 2020年6月2日
Python数据分析:过去、现在和未来,52页ppt
专知会员服务
103+阅读 · 2020年3月9日
广东疾控中心《新型冠状病毒感染防护》,65页pdf
专知会员服务
19+阅读 · 2020年1月26日
新时期我国信息技术产业的发展
专知会员服务
71+阅读 · 2020年1月18日
电力人工智能发展报告,33页ppt
专知会员服务
132+阅读 · 2019年12月25日
在中国被禁的探探,正在印度兴起
腾讯创业
4+阅读 · 2019年5月18日
刘庆峰:无限风光在险峰
秦朔朋友圈
4+阅读 · 2019年2月6日
ofo商业模式破产
1号机器人网
6+阅读 · 2019年1月29日
华为和其“公关危机”下的5G发布会
1号机器人网
7+阅读 · 2019年1月27日
刘强东人设崩了,京东没崩
PingWest品玩
6+阅读 · 2018年11月20日
刘强东清明节回湖南湘潭认祖,带给乡亲100亿“小礼物”
中国企业家杂志
7+阅读 · 2018年4月7日
谷歌要输给“邪恶的独角兽”了
商业周刊中文版
3+阅读 · 2017年12月17日
Arxiv
3+阅读 · 2018年5月21日
Arxiv
4+阅读 · 2018年1月15日
VIP会员
相关VIP内容
AI创新者:破解项目绩效的密码
专知会员服务
35+阅读 · 2020年6月21日
商业数据分析,39页ppt
专知会员服务
165+阅读 · 2020年6月2日
Python数据分析:过去、现在和未来,52页ppt
专知会员服务
103+阅读 · 2020年3月9日
广东疾控中心《新型冠状病毒感染防护》,65页pdf
专知会员服务
19+阅读 · 2020年1月26日
新时期我国信息技术产业的发展
专知会员服务
71+阅读 · 2020年1月18日
电力人工智能发展报告,33页ppt
专知会员服务
132+阅读 · 2019年12月25日
相关资讯
在中国被禁的探探,正在印度兴起
腾讯创业
4+阅读 · 2019年5月18日
刘庆峰:无限风光在险峰
秦朔朋友圈
4+阅读 · 2019年2月6日
ofo商业模式破产
1号机器人网
6+阅读 · 2019年1月29日
华为和其“公关危机”下的5G发布会
1号机器人网
7+阅读 · 2019年1月27日
刘强东人设崩了,京东没崩
PingWest品玩
6+阅读 · 2018年11月20日
刘强东清明节回湖南湘潭认祖,带给乡亲100亿“小礼物”
中国企业家杂志
7+阅读 · 2018年4月7日
谷歌要输给“邪恶的独角兽”了
商业周刊中文版
3+阅读 · 2017年12月17日
Top
微信扫码咨询专知VIP会员