最有钱的AI土壕在中国!2019百大AI创业公司榜解读【附下载】| 智东西内参

2019 年 2 月 10 日 智东西

看点:详解2019年度人工智能价值链中最有前途的100家创业公司。

从2017年起,CB Insights公司每年都会评选出100家明星AI创业公司,今年也不例外,这些公司为人工智能应用提供硬件和数据基础设备,优化机器学习工作流程,或是在各个主要行业中应用人工智能技术。根据专利申请、投资者概况,新闻报道、市场潜力,合作伙伴关系,竞争格局,团队实力和科技新颖性等指标,CB Insights的研究团队从3000+公司中选出了今年的100家明星初创公司。

本期的智能内参,我们推荐来自CB Insights的报告《2019年度AI创业公司100强》, 详解2019年度人工智能价值链中最有前途的100家创业公司。如果想收藏本文的报告全文(2019年度AI创业公司100强),可以在智东西公众号:(zhidxcom)回复关键词“nc325”获取。

研发融资阶段

本年度的AI 100公司正在深刻地变革12个核心行业,包括医疗保健、电信、半导体、政府、零售和金融等。从新兴创业公司到成熟的独角兽,但这些公司的融资阶段和产品商业化不尽相同。

▲近三年AI100公司的融资阶段比例

例如,Prowler.io是英国的一家处于A轮投资的公司,专注于扩展增强学习的实际应用。该公司团队至今已有38篇论文被顶级会议接受,包括NeurIPS和the International Conference on Learning Representations.。

总部位于帕洛阿尔托的One Concern去年从New Enterprise Associates筹集了3300万美元的股权,其人工智能平台可帮助政府规划和预测地震和洪水等自然灾害的影响。

其他的一些公司,如SenseTime和Graphcore,估值已超过10美元。并且名单上共有11家公司是独角兽(估值10亿美元以上的私人公司)。

▲AI100中的11家独角兽公司

资金充裕度

来自中国的商汤科技(SenseTime)和旷视科技(Face++)是世界资金最充裕的AI公司,他们专注于面部识别技术,拥有来自政府的投资者和客户。排名第三的是总部位于加州的Zymergen,它使用机器学习技术进行新材料研究。该公司的一个重点领域是寻找塑料和石油产品的替代品。

▲资金充裕度top10

美国专利申请情况

专利申请是衡量公司研发重点的一个指标。 100家创业公司中共有62家拥有600多项美国专利。 

例如,Hover可以让用户使用智能手机相机拍摄自己家的照片,然后使用图像处理技术拼接出家庭的3D照片。在最近提交的一项关于“定向图像捕获”的专利申请中,机器学习算法被用于基于各种特征来评估所捕获图像的质量。

▲定向图像捕获专利

Butterfly Network制造了一种价格不到2千美元的便携手持式超声波设备。该设备硬件中集成了计算机视觉技术以帮助解释图像。下图为“具有集成图像处理功能的便携式电子设备”的专利申请。

▲具有集成图像处理功能的便携式电子设备

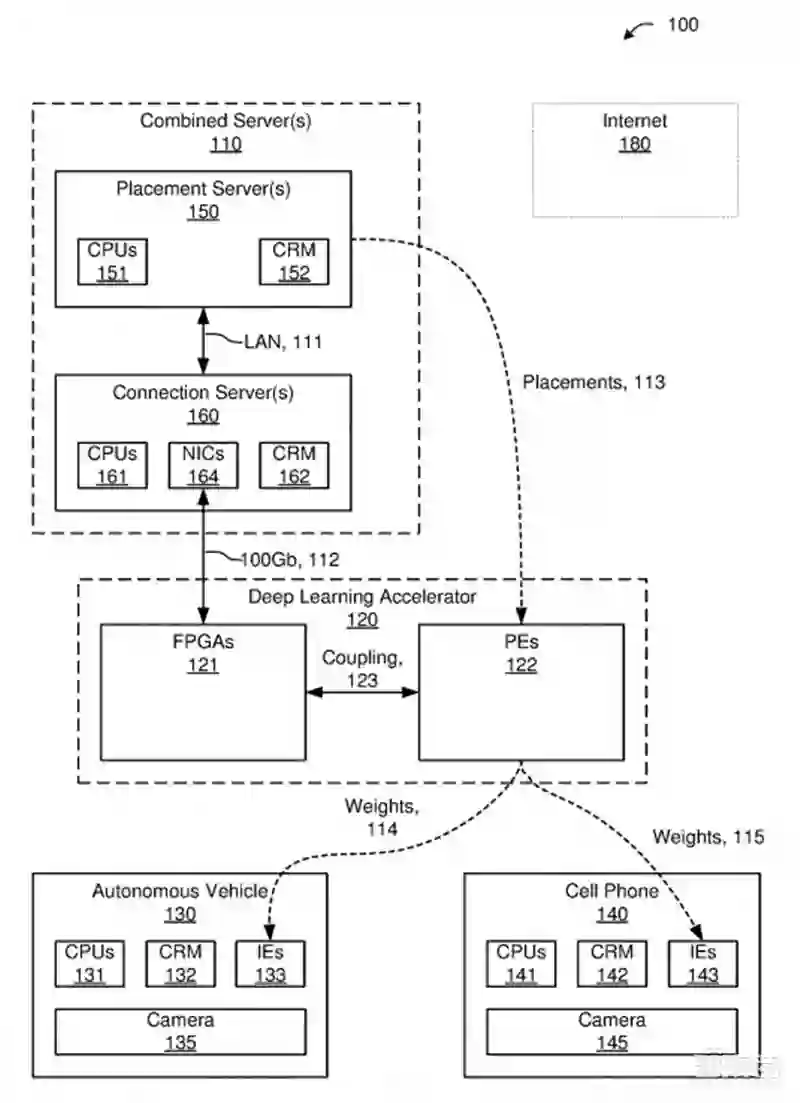
Cerebras公司最近透露了关于其AI处理器的一些细节,并与于2018年提交了3项专利,这些专利显示了其在半导体制造方面的研发和加速深度学习技术。下图为他们的专利“使用深度学习加速器进行神经网络训练和推理”。

▲使用深度学习加速器进行神经网络训练和推理

▲美国专利申请量top10

美国以外的创业公司

有20多家公司总部位于美国以外的地区,他们来自中国、加拿大、英国、德国、瑞典、日本、印度和以色列等国家,其中中国、英国和以色列的数量最多,都为6家。

▲美国以外的创业公司

活跃的AI投资机构

超过680个独立投资者为这些公司提供了资金,包括企业、风险投资公司和天使投资者。其中Google母公司Alphabet旗下的Google Ventures投资数量最多,达到了12笔。

▲最活跃的AI投资这top10

往年回顾

下图为2017和2018年度的top100,可以看出,近三年来自中国的AI创业公司发展迅速。

▲2018AI100

▲2017AI100

智东西认为,科技是第一生产力,科技公司在一定程度上代表了一个国家的真正实力。在以人工智能为代表的新一轮技术革命中,可以清晰的看到中国已经完成了跟随者到强有力竞争者的角色转换,但是,AI人才的缺乏,包括经验丰富的工程师和基础研究人员,可能会阻碍中国AI的发展,现阶段中国需要清醒认识到自己的短板和差距,抓住这新一轮技术革命机会。

3月15日,智东西年度大会「GTIC 2019全球AI芯片创新峰会」将在上海正式开启。目前魏少军教授、高通技术副总裁李维兴、寒武纪副总裁钱诚、探境科技CEO鲁勇、云知声联合创始人李霄寒、海尔家电产业集团副总裁兼CTO赵峰、大华股份研发中心先进技术研究院院长殷俊、北极光创投董事总经理杨磊以及华登国际董事总经理黄庆等九位重量级嘉宾已经确定参会。有兴趣参会的朋友,可以扫码报名。

登录查看更多
1

相关内容

AI创新者:破解项目绩效的密码
专知会员服务
35+阅读 · 2020年6月21日
【资源】100+本免费数据科学书
专知会员服务
108+阅读 · 2020年3月17日
【德勤】中国人工智能产业白皮书,68页pdf
专知会员服务
309+阅读 · 2019年12月23日
2019年人工智能行业现状与发展趋势报告,52页ppt
专知会员服务
124+阅读 · 2019年10月10日
CBInsights公布32家AI独角兽名单:中国10家美国17家
1号机器人网
5+阅读 · 2019年2月18日
为什么AI公司都在一边融资,一边投资?
腾讯创业
6+阅读 · 2018年9月25日
无人再谈CV:计算机视觉公司的困境
镁客网
7+阅读 · 2018年7月7日
全球最大AI独角兽诞生中国,商汤科技凭什么?
商业周刊中文版
5+阅读 · 2018年4月9日
2017年计算机视觉创业投资现状及未来趋势
计算机视觉life
3+阅读 · 2018年1月25日
"AI+教育"是虚火还是风口?
数据玩家
3+阅读 · 2017年12月14日
Learning in the Frequency Domain
Arxiv
11+阅读 · 2020年3月12日
Arxiv
102+阅读 · 2020年3月4日
Arxiv
14+阅读 · 2019年11月26日
Domain Representation for Knowledge Graph Embedding
Arxiv
14+阅读 · 2019年9月11日
Arxiv
4+阅读 · 2018年9月6日
Arxiv
5+阅读 · 2018年5月28日
Arxiv
7+阅读 · 2018年1月10日
VIP会员
相关VIP内容
AI创新者:破解项目绩效的密码
专知会员服务
35+阅读 · 2020年6月21日
【资源】100+本免费数据科学书
专知会员服务
108+阅读 · 2020年3月17日
【德勤】中国人工智能产业白皮书,68页pdf
专知会员服务
309+阅读 · 2019年12月23日
2019年人工智能行业现状与发展趋势报告,52页ppt
专知会员服务
124+阅读 · 2019年10月10日
相关资讯
CBInsights公布32家AI独角兽名单:中国10家美国17家
1号机器人网
5+阅读 · 2019年2月18日
为什么AI公司都在一边融资,一边投资?
腾讯创业
6+阅读 · 2018年9月25日
无人再谈CV:计算机视觉公司的困境
镁客网
7+阅读 · 2018年7月7日
全球最大AI独角兽诞生中国,商汤科技凭什么?
商业周刊中文版
5+阅读 · 2018年4月9日
2017年计算机视觉创业投资现状及未来趋势
计算机视觉life
3+阅读 · 2018年1月25日
"AI+教育"是虚火还是风口?
数据玩家
3+阅读 · 2017年12月14日
相关论文
Learning in the Frequency Domain
Arxiv
11+阅读 · 2020年3月12日
Arxiv
102+阅读 · 2020年3月4日
Arxiv
14+阅读 · 2019年11月26日
Domain Representation for Knowledge Graph Embedding
Arxiv
14+阅读 · 2019年9月11日
Arxiv
4+阅读 · 2018年9月6日
Arxiv
5+阅读 · 2018年5月28日
Arxiv
7+阅读 · 2018年1月10日
Top
微信扫码咨询专知VIP会员