折叠屏 iPhone,悬了?

2022 年 2 月 22 日 ZEALER订阅号

按照地表第一苹果分析师郭老师给的时间线,2023 年会是一个 iPhone 大年,如果快的话,无刘海真全面屏 iPhone、折叠屏 iPhone 将会在这一年面世。从 2020 年 iPhone 步入 5G 时代算起,正好也三年了,手机也该换了吧?


真全面屏有没有戏还不好说,毕竟都说今年会有打孔屏 iPhone,要见其庐山真面目,我们还得等个大半年。但是折叠屏 iPhone,可能是真的悬了。





iPhone Fold,“跳票”?


显示屏供应链咨询机构(DSCC)的 Ross Yong 今日发布最新报告,预测苹果的折叠屏 iPhone 将至少推迟到 2025 年,晚于此前估计的 2023-2024 年。


从首款折叠屏手机发布到现在,再到 2025 年,三年又三年,只怕接下来又是三年。此般传言多了,很多小伙伴或许也会质疑,苹果真的有在做所谓的折叠屏 iPhone 吗?



许多迹象显示,苹果确实有在做折叠屏手机。2020 年底的一则消息称,苹果的两款折叠屏 iPhone 原型机已经通过内部耐久测试,一款搭载双屏一款形似翻盖,类似三星的折叠屏系列机型。



那么折叠屏手机之争日渐白日化的今天,苹果还在等什么呢?爆料人士 Dylan 上个月的说法可能正如我们所想:其他厂商反反复复推出的产品都像是 beta 测试阶段,苹果要确保的是,折叠屏 iPhone 不会比现行的 iPhone 有所倒退。


一句话,打磨成熟方案。




折叠屏难在哪里


能让苹果退让保守,慎之又慎,折叠屏手机到底难做在哪里呢?


其一是技术不够成熟导致体验下降。折叠屏一直以来的的两大技术难关,在于铰链和屏幕。三星初代 Galaxy Fold 折叠屏就是因铰链和屏幕,出现了各种故障。虽然在此后的产品中得到改进,但偶尔还是会有问题,比如采用了超薄玻璃的 Galaxy Z Flip,就曾出现一系列铰链部分屏幕碎裂的情况。



其二是高成本。DSCC 数据显示,三星一块 7.3 英寸可折叠 AMOLED 显示面板的生产成本近 180 美元,远高于 iPhone 13 Pro Max 显示屏的 105 美元物料成本。不像主流智能手机,目前市面上各家折叠屏手机设计各不相同,意味着模型几乎无法重复利用,进一步提高了成本。


除了这些生产商的因素,折叠屏来到消费者手中之后,也有各种不好伺候的地方:身材厚重、折痕问题、脆弱易坏,恨不得让各位机主把它供起来。这些问题没有解决,苹果要让折叠屏 iPhone 和现有 iPhone 体验一致,当然是不可能的。


那么苹果有没有对策呢?有的。


苹果对折叠屏的布局已有多年,较早公开的专利可以追溯到 2016 年 11 月。2019 年 2 月公布的一项专利显示,苹果设计了一个用于折叠屏手机的加热系统,防止手机在低温弯曲时遭到损坏。



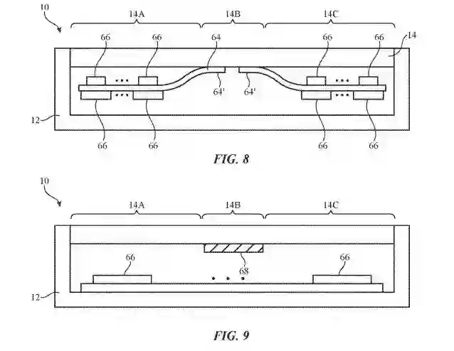
而对于屏幕的折痕和耐久问题,2020 年 2 月公布的这项专利显示,苹果设计了特殊的铰链,配合可移动盖板,可以防止屏幕在折叠时出现折痕或者损坏。



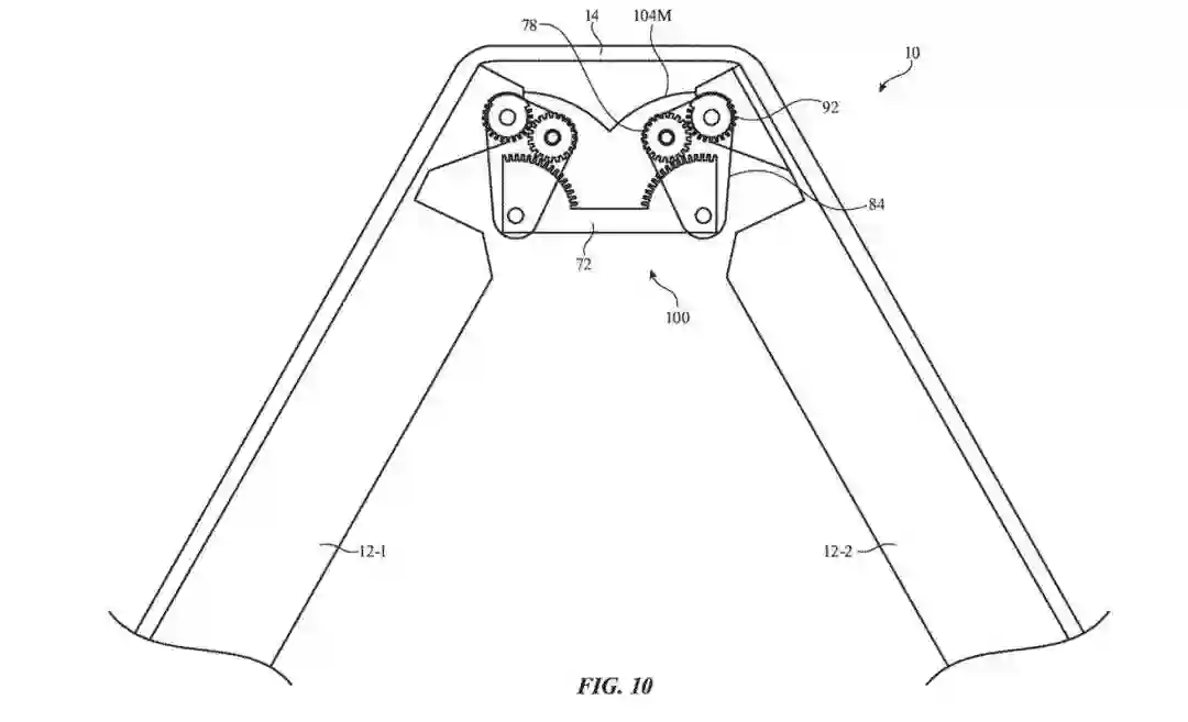
2021 年 3 月公布的这项专利显示,苹果设计了一个“带齿轮铰链的折叠屏设备”,过齿形杆件和齿条,增强折叠屏设备的灵活性,同时防止屏幕因为过度弯曲、移动过快出现意外损坏,有些微软 Surface Duo 的意思。



可见,苹果对于折叠屏 iPhone 已是早有准备,那么最后一个问题就是,苹果打算什么时候发布呢?




折叠屏 iPhone 何时到来


据 DSCC 的报告,折叠屏手机在 2021 全年的出货量来到了 800 万台,同比增长 254%,预计 2022 年全年还将增长 100% 以上,这是一个快速增长中的市场。但这 800 万台的体量,放在去年全年 13 亿台的智能手机总出货量里,如同九牛一毛。更不用说,这 800 万台里有 88% 来自三星。


从砍掉 Galaxy Note 系列专注 Galaxy Z 折叠屏那一刻起,三星的未来已经“all in”折叠屏手机。在安卓手机同质化严重的今天,折叠屏手机显然是众多厂商的一个新的突破口。过去一年,华为、小米、三星、OPPO 先后推出了新款折叠屏手机,争相入场。


反观这边,从第一代 iPhone 到 iPhone X,苹果花了十年,才为 iPhone 做出重大设计改变,那正是智能手机形态探索的爆发期。如今形态探索放缓,苹果若以一款半成熟的“beta”产品匆匆杀入折叠屏市场,要是万一翻个车,自然是难以承受的。


折叠屏 iPhone,请多给它一些耐心。






OPPO Enco X2 真无线降噪耳机免费送



久石让调音,OPPO Enco X2 听感会提升吗?OPPO Enco X2 真无线耳机抢先上线 ZEALER 众测!久石让调音联合丹拿设计、超宽频主动降噪、45db 降噪深度...在发布会揭开神秘面纱之前,还会有多少惊喜?来众测一探究竟吧!扫上方二维码或戳左下角「阅读原文」即可前往参与。



『热 门 推 荐』

登录查看更多
0

相关内容

iPhone 由苹果公司(Apple, Inc.)首席执行官史蒂夫·乔布斯在 2007 年 1 月 9 日举行的 Macworld 宣布推出,2007 年 6 月 29 日在美国上市,将创新的移动电话、可触摸宽屏 iPod 以及具有桌面级电子邮件、网页浏览、搜索和地图功能的突破性因特网通信设备这三种产品完美地融。
中国5G垂直行业应用案例2022
专知会员服务
36+阅读 · 2022年4月8日
专知会员服务
12+阅读 · 2021年7月4日
专知会员服务
31+阅读 · 2021年7月2日
数据价值化与数据要素市场发展报告(2021年),53页pdf
专知会员服务
4+阅读 · 2021年5月30日
【WWW2021】大规模智能手机数据的异质联邦学习
专知会员服务
43+阅读 · 2021年3月8日
【Cell 2020】神经网络中的持续学习
专知会员服务
62+阅读 · 2020年11月7日
【CVPR2020-北京大学】自适应间隔损失的提升小样本学习
专知会员服务
85+阅读 · 2020年6月9日
iPhone 14 Pro 的「!」屏幕,三星独供?
ZEALER订阅号
0+阅读 · 2022年4月16日
苹果“iPhone / iPad 混合体”曝光!
ZEALER订阅号
0+阅读 · 2022年4月2日
你的iPhone 13,粉了吗?
量子位
0+阅读 · 2022年1月21日
折叠屏 iPhone 再曝光,最快明年发布!
ZEALER订阅号
0+阅读 · 2022年1月7日
6.7英寸的iPhone 14 Max可能采用120Hz的LTPO屏幕
威锋网
0+阅读 · 2021年12月28日
iPhone 14 Pro 内存容量将创新高 | 荣耀折叠屏外观亮相
ZEALER订阅号
0+阅读 · 2021年12月27日
8000 预算买 OPPO 折叠屏还是 iPhone 13 Pro?
ZEALER订阅号
0+阅读 · 2021年12月15日
iPhone 13 的屏幕,只有苹果能修?
ZEALER订阅号
0+阅读 · 2021年9月28日
国家自然科学基金
0+阅读 · 2015年12月31日
国家自然科学基金
0+阅读 · 2013年12月31日
国家自然科学基金
0+阅读 · 2013年12月31日
国家自然科学基金
0+阅读 · 2012年12月31日
国家自然科学基金
0+阅读 · 2012年12月31日
国家自然科学基金
1+阅读 · 2012年12月31日
国家自然科学基金
0+阅读 · 2012年12月31日
国家自然科学基金
0+阅读 · 2011年12月31日
国家自然科学基金
0+阅读 · 2009年12月31日
Arxiv
0+阅读 · 2022年4月19日
Arxiv
3+阅读 · 2022年4月18日
Arxiv
0+阅读 · 2022年4月18日
VIP会员
相关VIP内容
中国5G垂直行业应用案例2022
专知会员服务
36+阅读 · 2022年4月8日
专知会员服务
12+阅读 · 2021年7月4日
专知会员服务
31+阅读 · 2021年7月2日
数据价值化与数据要素市场发展报告(2021年),53页pdf
专知会员服务
4+阅读 · 2021年5月30日
【WWW2021】大规模智能手机数据的异质联邦学习
专知会员服务
43+阅读 · 2021年3月8日
【Cell 2020】神经网络中的持续学习
专知会员服务
62+阅读 · 2020年11月7日
【CVPR2020-北京大学】自适应间隔损失的提升小样本学习
专知会员服务
85+阅读 · 2020年6月9日
相关资讯
iPhone 14 Pro 的「!」屏幕,三星独供?
ZEALER订阅号
0+阅读 · 2022年4月16日
苹果“iPhone / iPad 混合体”曝光!
ZEALER订阅号
0+阅读 · 2022年4月2日
你的iPhone 13,粉了吗?
量子位
0+阅读 · 2022年1月21日
折叠屏 iPhone 再曝光,最快明年发布!
ZEALER订阅号
0+阅读 · 2022年1月7日
6.7英寸的iPhone 14 Max可能采用120Hz的LTPO屏幕
威锋网
0+阅读 · 2021年12月28日
iPhone 14 Pro 内存容量将创新高 | 荣耀折叠屏外观亮相
ZEALER订阅号
0+阅读 · 2021年12月27日
8000 预算买 OPPO 折叠屏还是 iPhone 13 Pro?
ZEALER订阅号
0+阅读 · 2021年12月15日
iPhone 13 的屏幕,只有苹果能修?
ZEALER订阅号
0+阅读 · 2021年9月28日
相关基金
国家自然科学基金
0+阅读 · 2015年12月31日
国家自然科学基金
0+阅读 · 2013年12月31日
国家自然科学基金
0+阅读 · 2013年12月31日
国家自然科学基金
0+阅读 · 2012年12月31日
国家自然科学基金
0+阅读 · 2012年12月31日
国家自然科学基金
1+阅读 · 2012年12月31日
国家自然科学基金
0+阅读 · 2012年12月31日
国家自然科学基金
0+阅读 · 2011年12月31日
国家自然科学基金
0+阅读 · 2009年12月31日
Top
微信扫码咨询专知VIP会员