苹果秋季发布会产品名单曝光:AirPower 在列

2020 年 8 月 10 日 威锋网



点击上方蓝色字体,关注我们

>>点击左下角阅读原文,进入苹果教育商店

消息人士 Komiya 放出了苹果秋季线上发布会的产品名单,其中包括了硬件和软件,此外还有新 iPad、新 Apple Watch、AirTag、iPhone 12 系列等产品,其中可能最引人注目的是,苹果将在发布会上推出跳票已久的 AirPower 无线充电板。

根据他的消息,库克可能会以新冠病毒为主题作为开场,接下来会从硬件、软件和服务三个方面开启演讲。随后,iPad(第八代)、Apple Watch Series 6、iPhone 12/12 Max、AirTag、iPhone 12 Pro/Pro Max 以及 AirPower 会悉数登场。

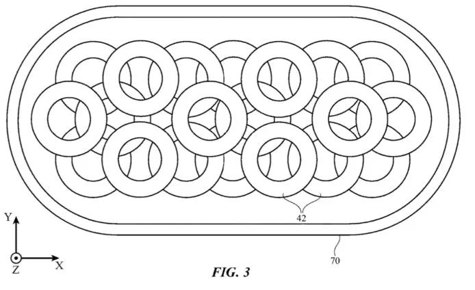
AirPower 在 2017 年的秋季发布会上发布,这款无线充电板能让用户同时为 iPhone、Apple Watch 和 AirPods 等支持无线充电的设备进行充电,且最大亮点是可以任意摆放产品位置。但因散热等问题,AirPower 无法通过苹果的严苛测试,苹果在 2019 年 3 月遗憾宣布该产品发布计划取消。不过,在宣布该产品跳票半年后,有外媒发现苹果依然申请了有关无线充电板的专利,或许证明他们依然没有放弃 AirPower 的研发,只是对原来的产品进行了一些取舍。

而关于颇受欢迎的亲民版 iPad ,此前有消息称这款产品外观依然不变,屏幕尺寸继续保持在 10.2 英寸,但内核从 A10 仿生升级至 A12 仿生,对于图形处理以及游戏方面有不错的提升。

7 月末,此消息人士曾曝光了 iPhone 12 系列的售价,64GB 的 iPhone 12 售价预计为 699 美元,与去年发布的 iPhone 11 起售价持平。据他的最新消息表示,iPhone 12 Pro 系列可能不会有 64GB 版本,起步可能会是 128GB 或更高。

A14 芯片的处理能力提升同样惊人,CPU 相比前代提升 40%,GPU 则提升 50%。

>>不去左下角看看有什么喜欢的吗?




—— 推荐阅读 ——








(商务合作请联系:lin.chen@office.feng.com)

 你有「在看」吗 ?

登录查看更多
0

相关内容

苹果电脑公司(Apple Inc.) 设计并创造了 iPod 和 iTunes、Mac 便携式和台式电脑、OS X 操作系统以及革命性的 iPhone 和 iPad。 http://www.apple.com (全球) apple.com.cn (中国)
AI创新者:破解项目绩效的密码
专知会员服务
35+阅读 · 2020年6月21日
【ICML2020-哈佛】深度语言表示中可分流形
专知会员服务
13+阅读 · 2020年6月2日
【微众银行】联邦学习白皮书_v2.0,48页pdf,
专知会员服务
170+阅读 · 2020年4月26日
阿里巴巴达摩院发布「2020十大科技趋势」
专知会员服务
108+阅读 · 2020年1月2日
【德勤】中国人工智能产业白皮书,68页pdf
专知会员服务
309+阅读 · 2019年12月23日
选购指南:2019 年,MacBook Pro 应该买哪款?
少数派
13+阅读 · 2019年5月30日
华为Mate20系列4款新机发布,售价最高超一万六
DeepTech深科技
3+阅读 · 2018年10月17日
最终还是凉凉?苹果将放弃 iPad mini 更新
ZEALER订阅号
5+阅读 · 2018年8月28日
忘掉谷歌、苹果!今天,李彦宏拿出人工智能最强干货!
今日互联网头条
3+阅读 · 2018年7月5日
6月5日凌晨开幕!扒一扒苹果WWDC的秘密战略
全球人工智能
3+阅读 · 2018年6月4日
苹果首次披露Siri声纹识别技术
AI前线
6+阅读 · 2018年4月17日
2017创业阵亡最全名单曝光,触目惊心!
今日互联网头条
5+阅读 · 2017年12月26日
Sparse Sequence-to-Sequence Models
Arxiv
5+阅读 · 2019年5月14日
Arxiv
3+阅读 · 2018年6月19日
Arxiv
3+阅读 · 2017年11月12日
VIP会员
相关VIP内容
AI创新者:破解项目绩效的密码
专知会员服务
35+阅读 · 2020年6月21日
【ICML2020-哈佛】深度语言表示中可分流形
专知会员服务
13+阅读 · 2020年6月2日
【微众银行】联邦学习白皮书_v2.0,48页pdf,
专知会员服务
170+阅读 · 2020年4月26日
阿里巴巴达摩院发布「2020十大科技趋势」
专知会员服务
108+阅读 · 2020年1月2日
【德勤】中国人工智能产业白皮书,68页pdf
专知会员服务
309+阅读 · 2019年12月23日
相关资讯
Top
微信扫码咨询专知VIP会员